BM231 Mechanical 20070514老款H轴马达 - 第359页
回収コンベア部(3<55mm>) RECOVERY CO NVEYER SE CT.(3<55m m>) 30 F10896-80-500-AD_0 2-3 M337

PART NAME
REMARKS
Q'TY
30
回収コンベア部(2<55mm>)
RECOVERY CONVEYER SECT.(2<55mm>)
イラスト
No.
REF
No.
PART No.
部 品 名 品 番 個数 備 考
R
1
R
2
2527 1089680027
PLATE プレート
1
528 108968032801
COVER カバー
1
532 1089680532
RAIL レール
2533 1089680033
BLOCK ブロック
1537 1089680537
PLATE プレート
1
538 1089680138
PULLEY プーリー
1
539 1089680139
SHAFT シャフト
1540 1089680540
PLATE プレート
1544 1089680544
BLOCK ブロック
1
547 1089680547
BLOCK ブロック
1565 1089698232
LABEL ラベル
FHHSM12AAGZC2M3X4M
4
N509
N986FHHS-H72
SCREW ネジ
M3X6-4.8 A2J (Trivalen
10
N510
N510018158AA
FLUSH HEAD SCREW サラコネジ
M3X16-6g 4T A2J (Triva
2
N516
N510017712AA
HEXAGON HEAD BOLT ロッカクボルト
M4X8-4.8 A2J (Trivalen
4
N517
N510018180AA
FLUSH HEAD SCREW サラコネジ
FU-16
2
N518
N310FU16
OPTICAL FIBER CABLE UNIT ファイバユニット
M2X4-4.8 A2J (Trivalen
4
N519
N510018027AA
PAN HEAD SCREW ナベコネジ
R-1980HH
2
N520
XLCNR1980HH
BALL BEARING ボールベアリング
ISTW-8
2
N521
XUBN1STW8
RETAINING RING C-TYPE,SHAFT C ガタジクヨウトメワ
M3X6,STEEL,T.T.C
4
N528
XXE3D6FT
SET SCREW ロッカクアナツキトメネジ
M336
F10896-80-500-AD_02-2

回収コンベア部(3<55mm>)
RECOVERY CONVEYER SECT.(3<55mm>)
30
F10896-80-500-AD_02-3
M337

PART NAME
REMARKS
Q'TY
30
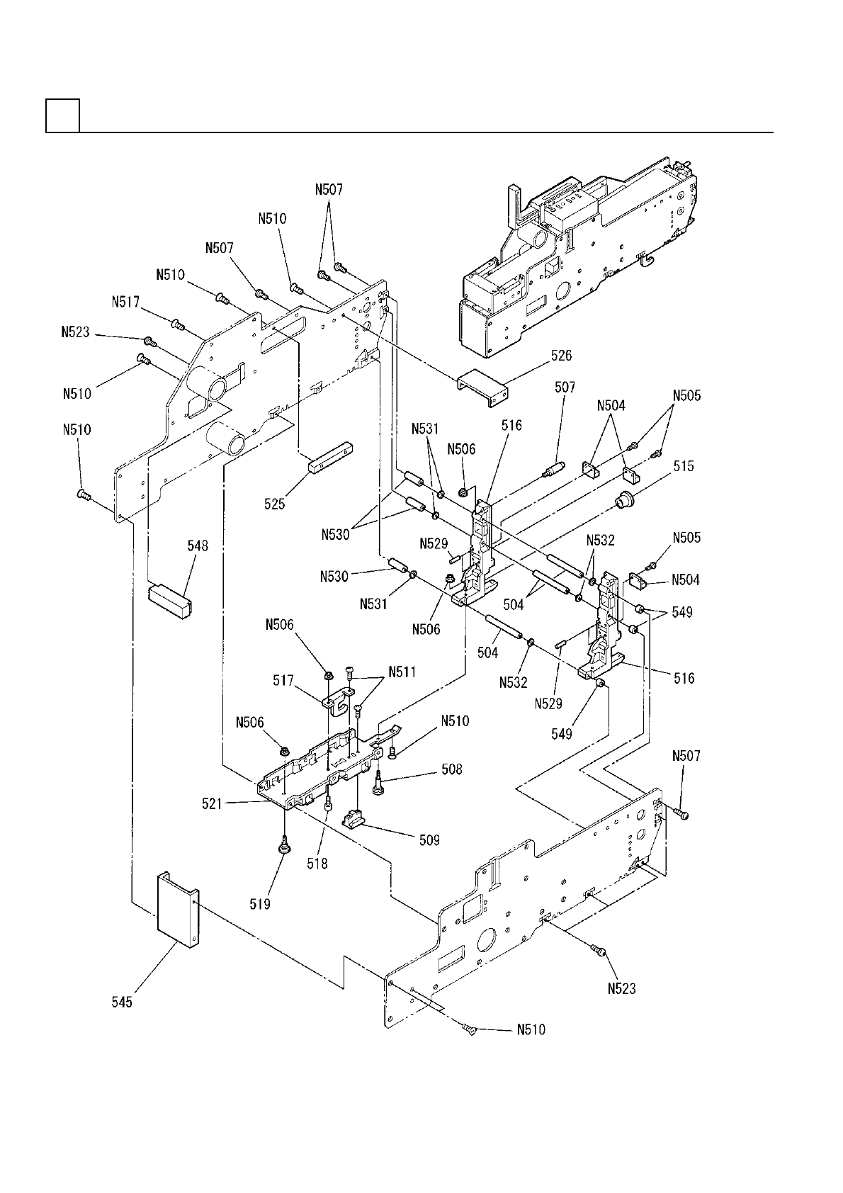
回収コンベア部(3<55mm>)
RECOVERY CONVEYER SECT.(3<55mm>)
イラスト
No.
REF
No.
PART No.
部 品 名 品 番 個数 備 考
R
1
R
2
3504 1089680104
PIN ピン
1
507 104880800703
PIN ピン
1
508 104880800804
PIN ピン
1509 104979818002
BLOCK ブロック
1515 1089680015
JOINT ジョイント
2
516 1089680416
BLOCK(FRONT) ブロック(フロント)
1
517 104979812703
CLAMP クランプ
1518 1048808031
PIN ピン
1519 104880802802
PIN ピン
1
521 108968012101
PLATE プレート
1525 1089680025
BLOCK ブロック
1526 1089680526
RAIL レール
1
545 1089680545
COVER カバー
1
548 1089680548
BLOCK ブロック
3549 1089680159
COLLAR カラー
CCP-8030-682HC
3
N504
N322CCP8-385
CONNECTOR コネクタ
M3X8,+,STAINLESS(SUS30
3
N505
XSN3+8YW
PAN HEAD SCREW ナベコネジ
FSM3X0.5
4
N506
N986FSM30.5
NUT ナット
M3X6-4.8 A2J (Trivalen
6
N507
N510018253AA
TRUSS HEAD SCREW トラスコネジ
M3X6-4.8 A2J (Trivalen
18
N510
N510018158AA
FLUSH HEAD SCREW サラコネジ
M3X10-4.8 A2J (Trivale
2
N511
N510018036AA
PAN HEAD SCREW ナベコネジ
M4X8-4.8 A2J (Trivalen
8
N517
N510018180AA
FLUSH HEAD SCREW サラコネジ
M3X6-4.8 A2J (Trivalen
4
N523
N510018056AA
PAN HEAD SCREW ナベコネジ
3X10,m6A,STEEL
4
N529
XPJ3A10FW
PARALLEL PIN ヘイコウピン
CU-525
3
N530
N986CU525
SPACER スペーサ
CIMRS5-8-0.5
3
N531
N986C1MR-U16
SHIM シム
CU-507
3
N532
N986CU507
SPACER スペーサ
M338
F10896-80-500-AD_02-3