BM231 Mechanical 20070514老款H轴马达 - 第361页
回収コンベア部(4<55mm>) RECOVERY CO NVEYER SE CT.(4<55m m>) 30 F10896-80-500-AD_0 2-4 M339

PART NAME
REMARKS
Q'TY
30
回収コンベア部(3<55mm>)
RECOVERY CONVEYER SECT.(3<55mm>)
イラスト
No.
REF
No.
PART No.
部 品 名 品 番 個数 備 考
R
1
R
2
3504 1089680104
PIN ピン
1
507 104880800703
PIN ピン
1
508 104880800804
PIN ピン
1509 104979818002
BLOCK ブロック
1515 1089680015
JOINT ジョイント
2
516 1089680416
BLOCK(FRONT) ブロック(フロント)
1
517 104979812703
CLAMP クランプ
1518 1048808031
PIN ピン
1519 104880802802
PIN ピン
1
521 108968012101
PLATE プレート
1525 1089680025
BLOCK ブロック
1526 1089680526
RAIL レール
1
545 1089680545
COVER カバー
1
548 1089680548
BLOCK ブロック
3549 1089680159
COLLAR カラー
CCP-8030-682HC
3
N504
N322CCP8-385
CONNECTOR コネクタ
M3X8,+,STAINLESS(SUS30
3
N505
XSN3+8YW
PAN HEAD SCREW ナベコネジ
FSM3X0.5
4
N506
N986FSM30.5
NUT ナット
M3X6-4.8 A2J (Trivalen
6
N507
N510018253AA
TRUSS HEAD SCREW トラスコネジ
M3X6-4.8 A2J (Trivalen
18
N510
N510018158AA
FLUSH HEAD SCREW サラコネジ
M3X10-4.8 A2J (Trivale
2
N511
N510018036AA
PAN HEAD SCREW ナベコネジ
M4X8-4.8 A2J (Trivalen
8
N517
N510018180AA
FLUSH HEAD SCREW サラコネジ
M3X6-4.8 A2J (Trivalen
4
N523
N510018056AA
PAN HEAD SCREW ナベコネジ
3X10,m6A,STEEL
4
N529
XPJ3A10FW
PARALLEL PIN ヘイコウピン
CU-525
3
N530
N986CU525
SPACER スペーサ
CIMRS5-8-0.5
3
N531
N986C1MR-U16
SHIM シム
CU-507
3
N532
N986CU507
SPACER スペーサ
M338
F10896-80-500-AD_02-3

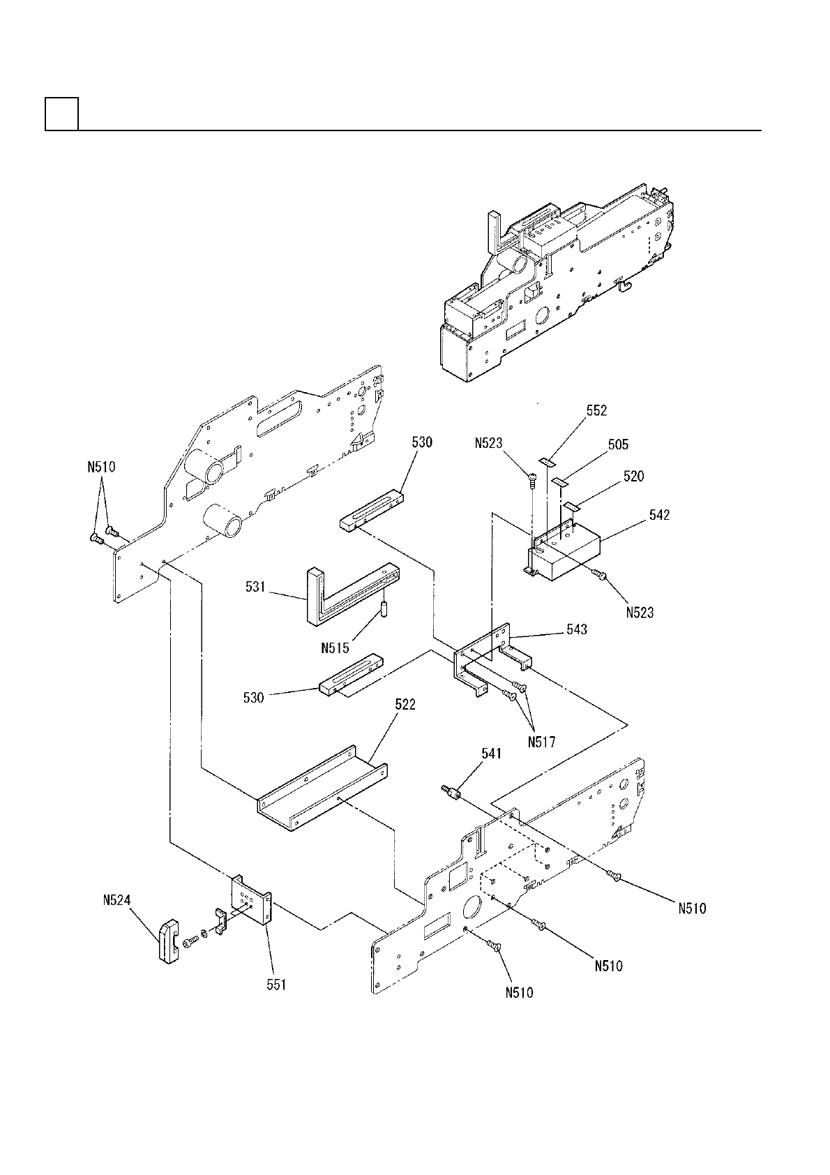
回収コンベア部(4<55mm>)
RECOVERY CONVEYER SECT.(4<55mm>)
30
F10896-80-500-AD_02-4
M339

PART NAME
REMARKS
Q'TY
30
回収コンベア部(4<55mm>)
RECOVERY CONVEYER SECT.(4<55mm>)
イラスト
No.
REF
No.
PART No.
部 品 名 品 番 個数 備 考
R
1
R
2
1505 1089680270
LABEL ラベル
1
520 1089680269
LABEL ラベル
1
522 1089680122
COVER カバー
2530 108968003001
PLATE プレート
1531 108968003101
GRIP グリップ
5
541 1089680041
PIN ピン
1
542 1089680142
COVER カバー
1543 1089680143
BRACKET ブラケット
1551 1089680551
BRACKET ブラケット
1
552 1089680552
LABEL ラベル
M3X6-4.8 A2J (Trivalen
14
N510
N510018158AA
FLUSH HEAD SCREW サラコネジ
8X30,H8B,STEEL
1
N515
XPJ8E30FW
PARALLEL PIN ヘイコウピン
M4X8-4.8 A2J (Trivalen
4
N517
N510018180AA
FLUSH HEAD SCREW サラコネジ
M3X6-4.8 A2J (Trivalen
6
N523
N510018056AA
PAN HEAD SCREW ナベコネジ
FS-V21
2
N524
N310FSV21
AMPLIFIER FOR SENSOR アンプユニット
M340
F10896-80-500-AD_02-4