BM231 Mechanical 20070514老款H轴马达 - 第371页
後部操作盤 部(1) REAR CONTRO L PANEL S ECT.(1) 32 F10862-02-800-AK_0 3-1 M349

PART NAME
REMARKS
Q'TY
31
ブザー部(ブザー消音スイッチ取付け対応)
BUZZER(SPECIFICATION FOR ATTACHMENT OF SILENCER SWITCH OF BUZZER)
イラスト
No.
REF
No.
PART No.
部 品 名 品 番 個数 備 考
R
1
R
2
1 1086202750
SWITCH ATTACHMENT UNIT ブザースイッチトリツケユニット
1
751 108620275101
PANEL パネル
1
752 1086202752
REAR COVER カバー(REAR)
M348
F10862-02-750-AA_A

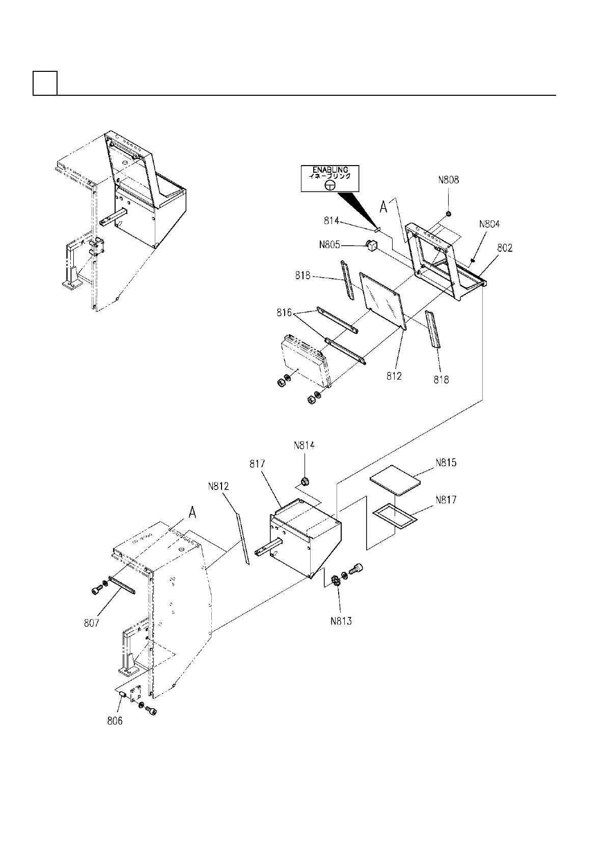
後部操作盤部(1)
REAR CONTROL PANEL SECT.(1)
32
F10862-02-800-AK_03-1
M349

PART NAME
REMARKS
Q'TY
32
後部操作盤部(1)
REAR CONTROL PANEL SECT.(1)
イラスト
No.
REF
No.
PART No.
部 品 名 品 番 個数 備 考
R
1
R
2
1 1086202800
REAR CONTROL PANEL UNIT コウブソウサバンユニット
1
802 108620251208
PANEL パネル
4
806 1086202806
COLLAR カラー
1807 1086202807
PLATE プレート
1812 108628931501
PLATE プレート
1
814 1044059662
LABEL ラベル
2
816 108628950201
PLATE プレート
1817 N210048235AA
STAND スタンド
2818 108628950302
PLATE プレート
C-30-SG-28A,WHITE
1
N804
N980C30S-067
GROMMET グロメット
M22-D-G-X1/K22 S
1
N805
N302M22D-559
SWITCH スイッチ
C-30-SG-16A,WHITE
4
N808
N980C30S-034
GROMMET グロメット
E02S210020ET
1
N812
N263E02S-175
GASKET ガスケット
5 External toothed Ste
8
N813
N510018765AA
TOOTHED LOCK WASHER ハツキザガネ
C-30-NG-79-M
1
N814
N980C30NG79M
GROMMET グロメット
MPD-405BL
1
N815
N510002498AA
MOUSE PAD マウスパット
No.537 85X0.10
1
N817
N986N053-B30
ADHESIVE TAPE ネンチャクテープ
M350
F10862-02-800-AK_03-1