BM231 Mechanical 20070514老款H轴马达 - 第38页
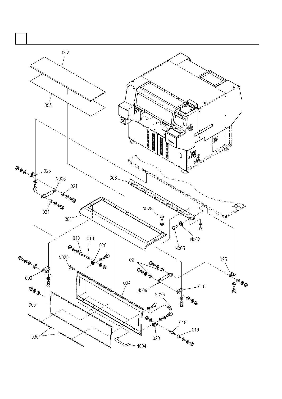
PART NAME REMARKS Q'TY 2 カバー部(3) COVER SECT. (3) イラスト No. REF No. PART No. 部 品 名 品 番 個数 備 考 R 1 R 2 1 036 108620255901 UNDER COVER( RIGHT) アンダーカバー(RIGH T) 2 037 1086202560 UNDER COVER( LEFT) アンダーカバー(LEFT ) 1 03…

カバー部(3)
COVER SECT.(3)
2
FN610031688AA_03-3
M15

PART NAME
REMARKS
Q'TY
2
カバー部(3)
COVER SECT.(3)
イラスト
No.
REF
No.
PART No.
部 品 名 品 番 個数 備 考
R
1
R
2
1036 108620255901
UNDER COVER(RIGHT) アンダーカバー(RIGHT)
2
037 1086202560
UNDER COVER(LEFT) アンダーカバー(LEFT)
1
038 1086202561
UNDER COVER(LEFT) アンダーカバー(LEFT)
5 External toothed Ste
23
N002
N510018765AA
TOOTHED LOCK WASHER ハツキザガネ
JB-AM5X8
23
N010
N986JBAM58
BOLT ボルト
M5X12
23
N011
N986YYYY-814
CAP キャップ
M16
FN610031688AA_03-3

カバー部(4)
COVER SECT.(4)
2
FN610031688AA_03-4
M17