BM231 Mechanical 20070514老款H轴马达 - 第44页
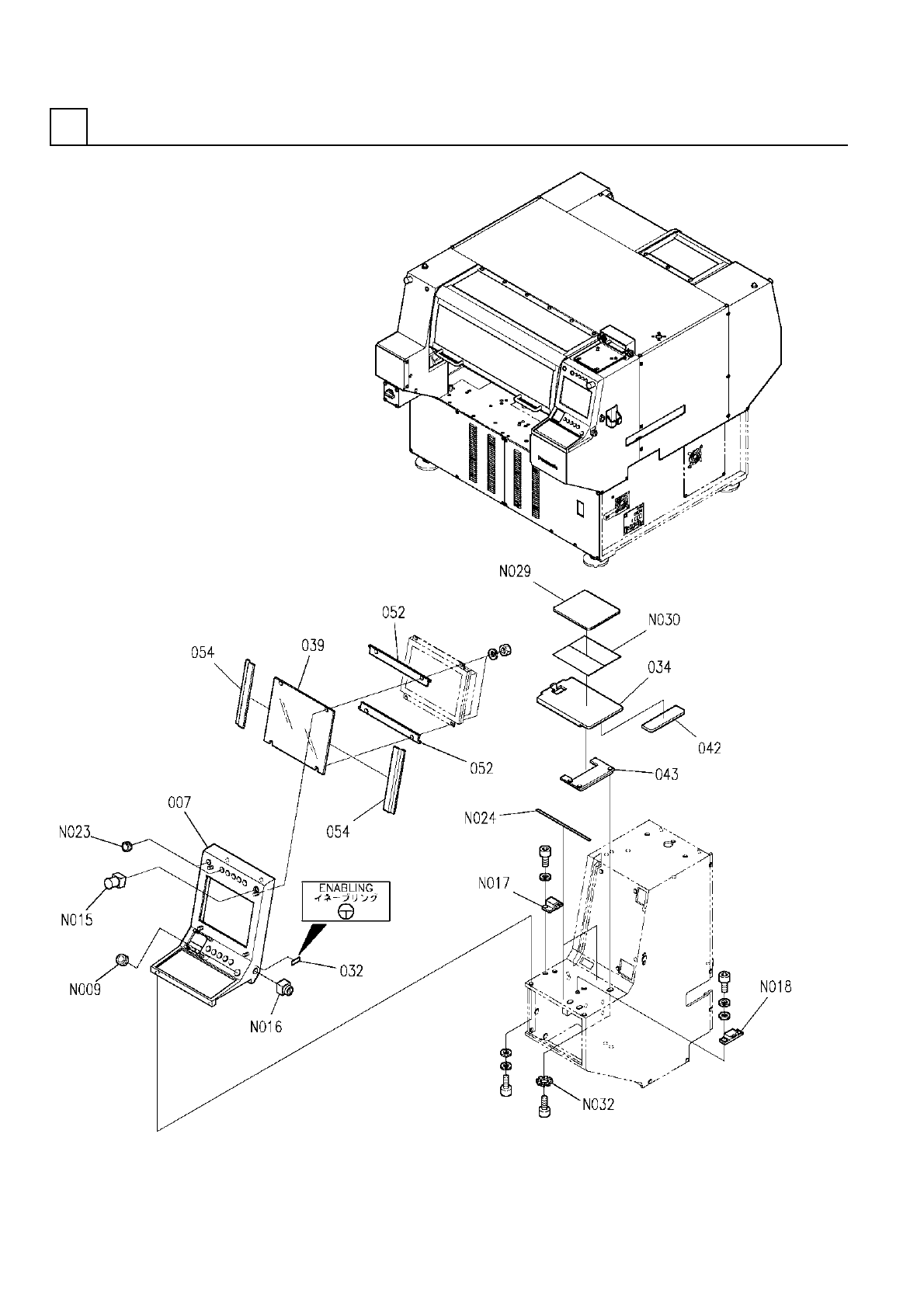
PART NAME REMARKS Q'TY 2 カバー部(6) COVER SECT. (6) イラスト No. REF No. PART No. 部 品 名 品 番 個数 備 考 R 1 R 2 1 007 108620251208 PANEL パネル 1 032 1044059662 LABEL ラベル 1 034 N210048118AA PLATE プレート 1 039 108628931501 PLATE …

カバー部(6)
COVER SECT.(6)
2
FN610031688AA_03-6
M21

PART NAME
REMARKS
Q'TY
2
カバー部(6)
COVER SECT.(6)
イラスト
No.
REF
No.
PART No.
部 品 名 品 番 個数 備 考
R
1
R
2
1007 108620251208
PANEL パネル
1
032 1044059662
LABEL ラベル
1
034 N210048118AA
PLATE プレート
1039 108628931501
PLATE プレート
1042 1086202666
CUSHION クッション
1
043 108628958701
PLATE プレート
2
052 108628950201
PLATE プレート
2054 108628950302
PLATE プレート
C-30-BW-16-1
1
N009
N980C30BW161
GROMMET グロメット
M22-PV/K02 S
1
N015
N306M22PVK02
SWITCH スイッチ
M22-D-G-X1/K22 S
1
N016
N302M22D-559
SWITCH スイッチ
C-105-2
1
N017
N980C1052
CATCH キャッチ
C-92-2
1
N018
N980C922
MAGNETIC CATCH マグネットキャッチ
C-30-SG-16A,WHITE
2
N023
N980C30S-034
GROMMET グロメット
#250W20
1
N024
N510002614AA
ADHESIVE TAPE ネンチャクテープ
MPD-405BL
1
N029
N510002498AA
MOUSE PAD マウスパット
No.537 85X0.10
1
N030
N986N053-B30
ADHESIVE TAPE ネンチャクテープ
3 External toothed Ste
3
N032
N510018760AA
TOOTHED LOCK WASHER ハツキザガネ
M22
FN610031688AA_03-6

カバー部(7)
COVER SECT.(7)
2
FN610031688AA_03-7
M23