BM231 Mechanical 20070514老款H轴马达 - 第56页
PART NAME REMARKS Q'TY 3 X軸部( 配線配管部) X-AXIS SECT .(WIRING & PIPING SECT.) イラスト No. REF No. PART No. 部 品 名 品 番 個数 備 考 R 1 R 2 1 N610016824AA WIRING & PIP ING UNIT ハイセン・ハイカンユニット 1 301 108620430104 GUIDE ガイド …

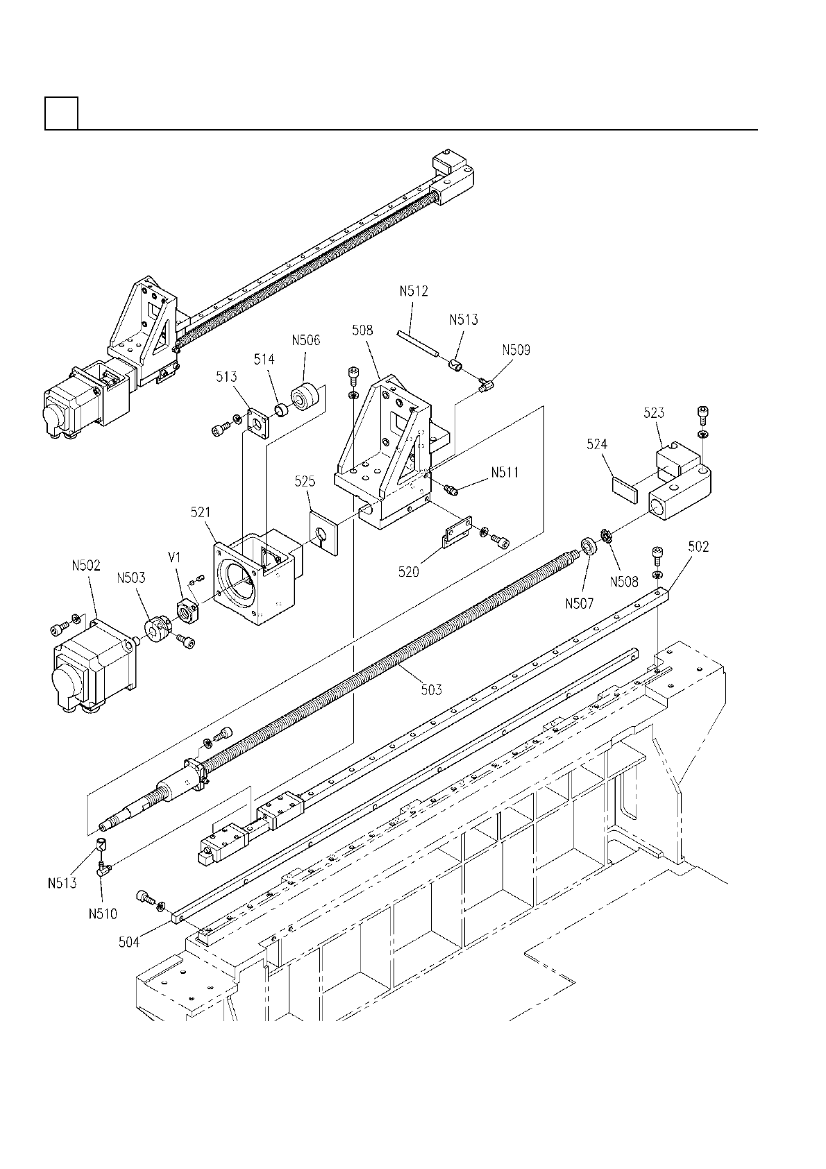
X軸部(配線配管部)
X-AXIS SECT.(WIRING & PIPING SECT.)
3
FN610016824AA_02
M33

PART NAME
REMARKS
Q'TY
3
X軸部(配線配管部)
X-AXIS SECT.(WIRING & PIPING SECT.)
イラスト
No.
REF
No.
PART No.
部 品 名 品 番 個数 備 考
R
1
R
2
1 N610016824AA
WIRING & PIPING UNIT ハイセン・ハイカンユニット
1
301 108620430104
GUIDE ガイド
3
305 108620430502
BRACKET ブラケット
1306 N210027909AA
BRACKET ブラケット
1307 108620430702
SHEET シート
1
308 108620430805
BRACKET ブラケット
1
310 108620431004
BRACKET(CONNECTOR) ブラケット(コネクタ)
1311 108620431102
BRACKET(CONNECTOR) ブラケット(コネクタ)
1312 108620431202
STAND スタンド
1
313 N210027910AA
BRACKET ブラケット
1314 108620431401
BRACKET(CONNECTOR) ブラケット(コネクタ)
1315 108620431501
COVER カバー
1
316 1086204316
BRACKET ブラケット
280.12.075HF-14-2900.1
1
N301
N986280.-T37
FLEXIBLE DUCT フレキシブルダクト
M4X10-4.8 A2J (Trivale
1
N302
N510018164AA
FLUSH HEAD SCREW サラコネジ
3050.ZC
2
N303
N9863050.ZC
CLAMP クランプ
M4-6H-4T A2J (Trivalen
1
N304
N510017855AA
NUT ナット
M34
FN610016824AA_02

Y軸部(本体部1)
Y-AXIS SECT.(MAIN BODY SECT.-1)
4
F10862-14-500-AE_02-1
M35