BM231 Mechanical 20070514老款H轴马达 - 第60页
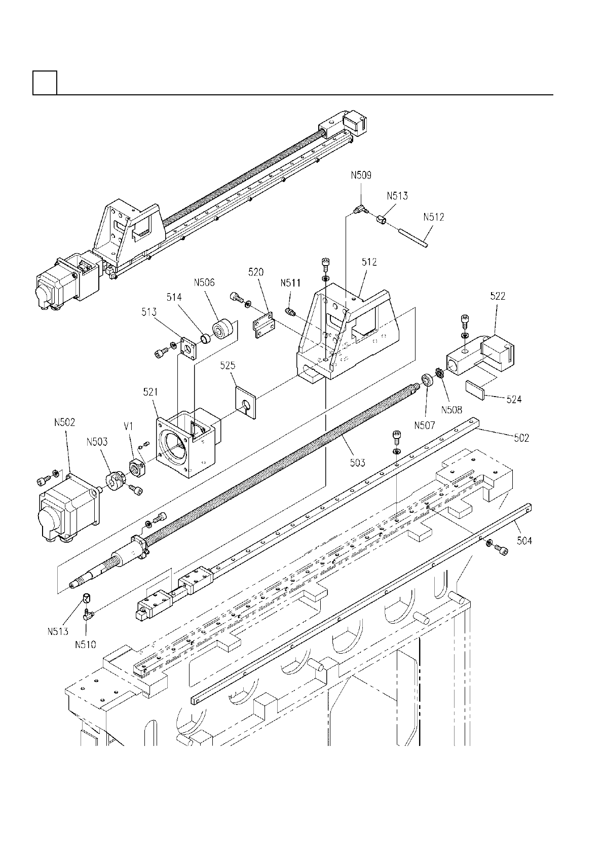
PART NAME REMARKS Q'TY 4 Y軸部( 本体部2) Y-AXIS SECT .(MAIN BO DY SECT.- 2) イラスト No. REF No. PART No. 部 品 名 品 番 個数 備 考 R 1 R 2 1 502 1086214502 LINEAR MOTIO N UNIT リニアモーションユニット 1 503 108621450302 BALL SCREW ボールネジ 1 504…

Y軸部(本体部2)
Y-AXIS SECT.(MAIN BODY SECT.-2)
4
F10862-14-500-AE_02-2
M37

PART NAME
REMARKS
Q'TY
4
Y軸部(本体部2)
Y-AXIS SECT.(MAIN BODY SECT.-2)
イラスト
No.
REF
No.
PART No.
部 品 名 品 番 個数 備 考
R
1
R
2
1502 1086214502
LINEAR MOTION UNIT リニアモーションユニット
1
503 108621450302
BALL SCREW ボールネジ
1
504 N210051841AA
PLATE プレート
1512 N210074032AA
JOINT(RIGHT) ジョイント(RIGHT)
1513 1080704481
BEARING WEIGHT ベアリングウエイト
1
514 1086204214
COLLAR カラー
1
520 108621422001
BRACKET ブラケット
1521 N210023694AA
BRACKET(MOTOR) ブラケット(モータ)
1522 N210023696AA
BLOCK ブロック
1
524 N210023790AA
STOPPER ストッパ
1525 1086204209
STOPPER ストッパ
HC-SFS102 S
1
N502
N606HCSFS102
MOTOR モータ
SFC-050SA2-17B-24B
1
N503
N510024077AA
COUPLING カップリング
7204ADFCP10
1
N506
N510003514AA
BEARING ベアリング
6003ZZ
1
N507
N510003167AA
BEARING ベアリング
FU03SS
1
N508
KXF0236AA00
LOCK-NUT ロックナット
106915
1
N509
N431106915
FITTING ツギテ
106916
1
N510
N431106916
FITTING ツギテ
A-MT6X1
1
N511
N560AMT6-130
GREASE NIPPLE グリースニップル
NYLON4
1
N512
N434SH0W-048
TUBE チューブ
PZ4
2
N513
N434PZ4
BAND バンド
RN20
1
V 1 N986RN20
LOCK-NUT ロックナット
M38
F10862-14-500-AE_02-2

Y軸部(配線配管部)
Y-AXIS SECT.(WIRING & PIPING SECT.)
4
F10862-14-600-AC
M39