BM231 Mechanical 20070514老款H轴马达 - 第73页
プリント基板サポート部(2) P.C.B. SUPP ORT SECT. (2) 6 F10862-16-000-AF_0 3-2 M51

PART NAME
REMARKS
Q'TY
6
プリント基板サポート部(1)
P.C.B. SUPPORT SECT.(1)
イラスト
No.
REF
No.
PART No.
部 品 名 品 番 個数 備 考
R
1
R
2
1 1086216000
P.C. BOARD SUPPORT UNIT P.C.B.サポートユニット
1
002 108621600204
FRAME フレーム
2
003 108620603501
BRACKET ブラケット
2004 108620603601
BRACKET ブラケット
1006 1047005235
VALVE バルブ
1
007 1047005234
VALVE バルブ
2
008 N210028195AA
SCREW スクリュー
1009 1086216009
LINEAR MOTION UNIT リニアモーションユニット
2010 108620601004
BRACKET ブラケット
2
011 N210028038AA
PULLEY プーリー
1014 1086206014
PULLEY プーリー
1015 108620601501
PIN ピン
P919T
2
N001
N310P919T
SWITCH スイッチ
FU00SC
2
N002
KXF0230AA00
NUT ナット
6000ZZC2P5
4
N003
N510003135AA
BEARING ベアリング
E3C-JC4P
1
N005
N310E3CJC4P
AMPLIFIER アンプ
AS1000F-04
4
N006
N406AS10-032
SPEED CONTROLLER スピードコントローラ
TPBSN38-15
1
N008
N648TPBS-053
PULLEY プーリー
ISTW-10
1
N009
N510003747AA
SNAP RING マルSガタトメワ
6800ZZ
2
N010
KXF00M6AA00
BALL BEARING ボールベアリング
WSSB15-10-5
1
N015
N560WSSB-261
WASHER ザガネ
M4X10
4
N021
N986YYYY-M24
BOLT ボルト(テイトウロッカクアナツキ)
TU0425Y
1
N022
N434TU0425Y
TUBE チューブ
TU0425B
1
N023
N434TU0425B
TUBE チューブ
TU0604B
1
N024
N434TU0604B
TUBE チューブ
M5X8-45H A2J (Trivalen
4
N026
N510018384AA
HEX. SOCKET SET SCREW ロッカクアナツキトメネジ
M50
F10862-16-000-AF_03-1

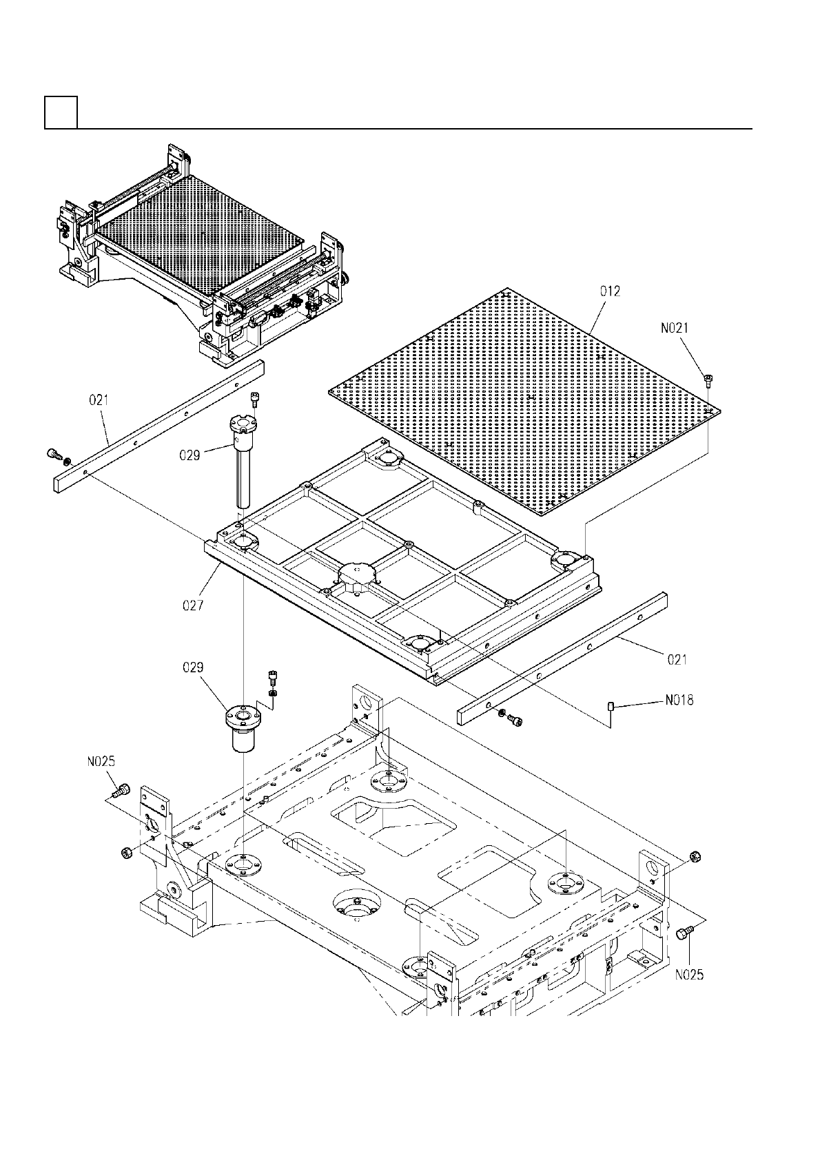
プリント基板サポート部(2)
P.C.B. SUPPORT SECT.(2)
6
F10862-16-000-AF_03-2
M51

PART NAME
REMARKS
Q'TY
6
プリント基板サポート部(2)
P.C.B. SUPPORT SECT.(2)
イラスト
No.
REF
No.
PART No.
部 品 名 品 番 個数 備 考
R
1
R
2
1012 108621601201
PLATE プレート
2
021 108621602101
PLATE プレート
1
027 N210028189AA
TABLE テーブル
4029 1086216029
SHAFT シャフト
6X10,m6A,STEEL
2
N018
XPJ6A10FW
PARALLEL PIN ヘイコウピン
M4X10
9
N021
N986YYYY-M24
BOLT ボルト(テイトウロッカクアナツキ)
M6X25-6g 10T A2J (Triv
4
N025
N510017762AA
HEXAGON HEAD BOLT ロッカクボルト
M52
F10862-16-000-AF_03-2