BM231 Mechanical 20070514老款H轴马达 - 第89页
ヘッド部(アンダーカバ ー部) HEAD SECT.( UNDER COV ER SECT.) 7 F10862-09-400 M67

PART NAME
REMARKS
Q'TY
7
ヘッド部(ノズルホルダ部)
HEAD SECT.(NOZZLE HOLDER SECT.)
イラスト
No.
REF
No.
PART No.
部 品 名 品 番 個数 備 考
R
1
R
2
1 1086109520
NOZZLE HOLDER UNIT ノズルホルダユニット
1
521 108070997601
PUSHER プッシャ
1
522 108628937902
HOLDER ホルダ
1523 N210047269AA
WASHER ザガネ
1524 1080709514
PAD パッド
1
525 1080709925
SPRING バネ
8,STEEL,P.C
1
N002
XUC8FP
RETAINING RING E-TYPE E ガタトメワ
2
3
N003
N506D2
STEEL BALL コウキュウ
M3X8
2
N004
N986YYYY-T83
BOLT トルクスアナツキボタンボルト
M66
F10861-09-520-AE_01

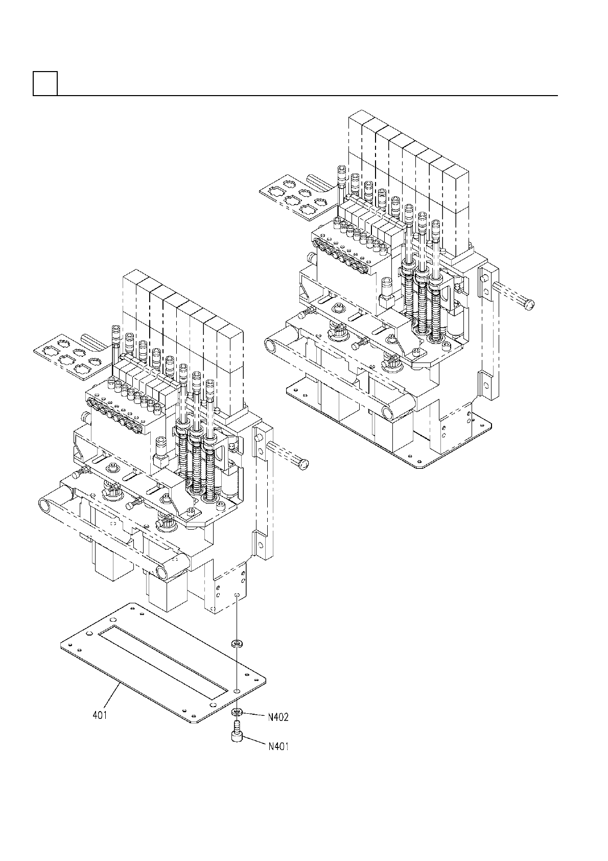
ヘッド部(アンダーカバー部)
HEAD SECT.(UNDER COVER SECT.)
7
F10862-09-400
M67

PART NAME
REMARKS
Q'TY
7
ヘッド部(アンダーカバー部)
HEAD SECT.(UNDER COVER SECT.)
イラスト
No.
REF
No.
PART No.
部 品 名 品 番 個数 備 考
R
1
R
2
1 1086209400
COVER UNIT カバーユニット
1
401 1086209401
COVER カバー
M6X16,STEEL,Z.B.P
4
N401
XVE6B16FZ
HEX. SOCKET HEAD CAP BOLT ロッカクアナツキボルト
6,2-TYPE,STEEL,Z.B.P
4
N402
XWA6BFZ
SPRING WASHER バネザガネ
M68
F10862-09-400