BM231 Electrical part 20160411 - 第43页
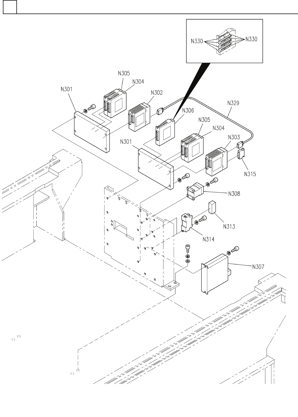
PART No. イラスト No. REF No. PAR T NAME REMARKS Q'TY 2 本体部(トレ イ部2) MAIN B ODY SECT.(TRAY SECT.-2) 部 品 名 品 番 個数 備 考 R 1 R 2 MR-J2M-BU4-KR S 2 N301 N510028268AA BASE ヘ ゙ース MR-J2M-P8B-ET0 11 S 1 N302 N606MRJ2-232 I/F UNIT…

本体部(トレイ部2)
MAIN BODY SECT.(TRAY SECT.-2)
2
FN610066786AB_00-2
E19

PART No.
イラスト
No.
REF
No.
PART NAME
REMARKS
Q'TY
2
本体部(トレイ部2)
MAIN BODY SECT.(TRAY SECT.-2)
部 品 名 品 番 個数
備 考
R
1
R
2
MR-J2M-BU4-KR S
2
N301
N510028268AA
BASE ヘ
゙ース
MR-J2M-P8B-ET011 S
1
N302
N606MRJ2-232
I/F UNIT I/F ユニット
MR-J2M-P8B-S011 S
1
N303
N606MRJ2-258
I/F UNIT I/F ユニット
MR-J2M-40DU-S012 S
2
N304
KXFP6BGAA00
MOTOR DRIVER モータト
゙ライバ
MR-J2M-10DU-S012 S
2
N305
N606MRJ2-233
MOTOR DRIVER モータト
゙ライバ
MR-J2M-BTCASE-A S
1
N306
N510028267AA
CASE ケース
MR-RB14 S
2
N307
N606MRRB14
RESISTOR テイコウキ
SD-Q12DC24V S
2
N308
N210SDQ1-389
ELECTROMAGNETIC CONTACTOR デ
ンジセッショクキ
G7SA-2A2B S
2
N313
K6B4EHA00001
RELAY リレー
P7SA-10F-ND
2
N314
KXFP6JGFA00
SOCKET ソケット
MR-A-TM
1
N315
KXFP6EA4A00
CONNECTOR コネクタ
SHPT-HH-20-0.6
1
N329
N331SHPT-754
CABLE ケーフ
゙ル
MR-BAT S
8
N330
KXFP6GDHA00
BATTERY バッテリー
E20
FN610066786AB_00-2

本体部(トレイ部3)
MAIN BODY SECT.(TRAY SECT.-3)
2
FN610066786AB_00-3
E21