BM231 Electrical part 20160411 - 第31页
PART No. イラスト No. REF No. PART NAME REMARKS Q'TY 2 本体部( 共通部3) MAIN BODY SE CT.(COMMON SEC T.-3) 部 品 名 品 番 個数 備 考 R 1 R 2 P610-I16B S 2 A013 N610077291AA OPTICAL U NIT ヒカリモジ ュール P610-O16B S 3 A014 N610077295AA OPTIC…

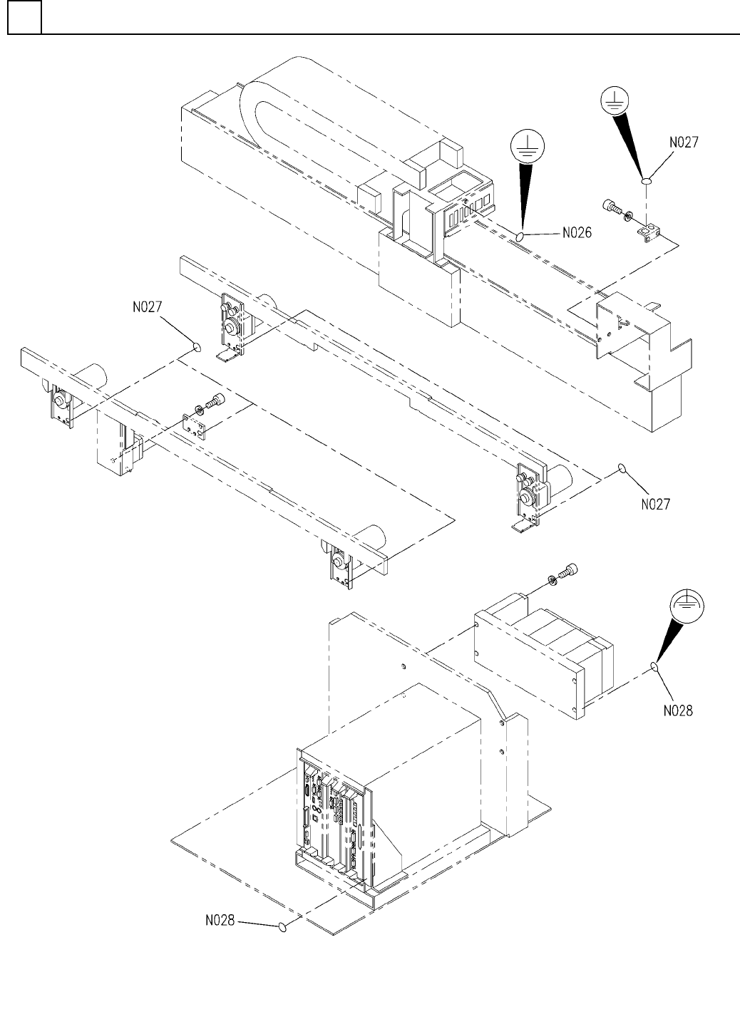
本体部(共通部3)
MAIN BODY SECT.(COMMON SECT.-3)
2
FN610073377AA_13-3
E7

PART No.
イラスト
No.
REF
No.
PART NAME
REMARKS
Q'TY
2
本体部(共通部3)
MAIN BODY SECT.(COMMON SECT.-3)
部 品 名 品 番 個数
備 考
R
1
R
2
P610-I16B S
2
A013
N610077291AA
OPTICAL UNIT ヒカリモジュール
P610-O16B S
3
A014
N610077295AA
OPTICAL UNIT ヒカリモジュール
P610-I8N-C S
2
A015
N610080720AA
OPTICAL UNIT ヒカリモジュール
P610-O8N-C S
2
A016
N610080721AA
OPTICAL UNIT ヒカリモジュール
HA527-12.5
1
N026
N986HA52-782
LABEL ラベル
TE1
1
N028
N986TE1
LABEL ラベル
E8
FN610073377AA_13-3

本体部(共通部4)
MAIN BODY SECT.(COMMON SECT.-4)
2
FN610073377AA_13-4
E9