BM231 Electrical part 20160411 - 第51页
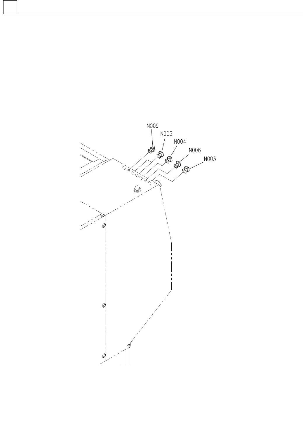
PART No. イラスト No. REF No. PAR T NAME REMARKS Q'TY 4 カバー 部(2) COVER SECT.(2) 部 品 名 品 番 個数 備 考 R 1 R 2 A16L-AWM-24D-1 3 N003 N302A16L-538 SWITCH スイッチ A16-AAM-1 1 N004 N302A16AAM1 SWITCH スイッチ A16-ABM-1 1 N006 N302A16A…

カバー部(2)
COVER SECT.(2)
4
FN610073371AA_02-2
E27

PART No.
イラスト
No.
REF
No.
PART NAME
REMARKS
Q'TY
4
カバー部(2)
COVER SECT.(2)
部 品 名 品 番 個数
備 考
R
1
R
2
A16L-AWM-24D-1
3
N003
N302A16L-538
SWITCH スイッチ
A16-AAM-1
1
N004
N302A16AAM1
SWITCH スイッチ
A16-ABM-1
1
N006
N302A16ABM1
SWITCH スイッチ
A165S-A2M-1
1
N009
N302A165-555
SWITCH スイッチ
E28
FN610073371AA_02-2

カバー部(3)
COVER SECT.(3)
4
FN610073371AA_02-3
E29