ZHX-R20B-IN说明书201610-21新款 - 第42页
ZHX-R20B/-IN 自动上下板立式插件机操作说明书 深圳市中禾旭精密机械有限公司 www.zhxai.com - 40 -

ZHX-R20B/-IN 自动上下板立式插件机操作说明书
深圳市中禾旭精密机械有限公司 www.zhxai.com
- 39 -
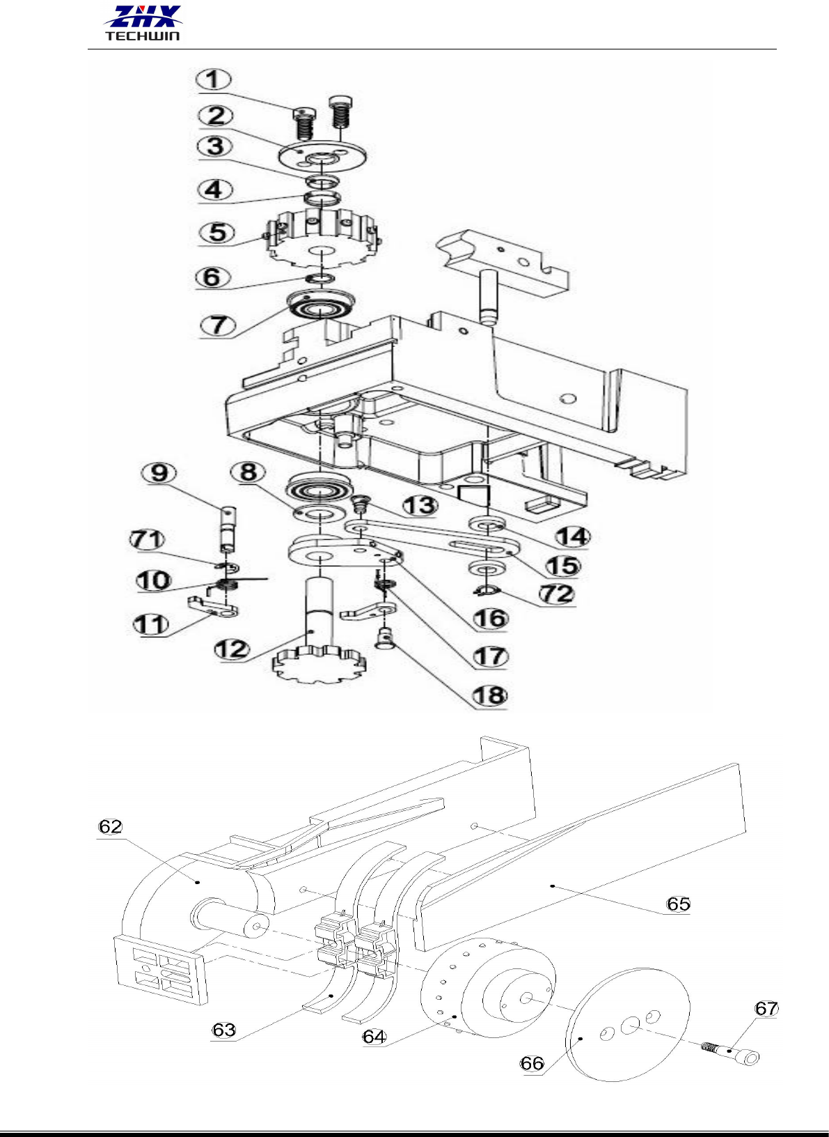
2.5/3.5/5.0 送料装配图明细表
序号
编号
中文名称
数量
单位
备注
37
LS1D-04022
链条护块 1
1
个
38
LS35-15003
3.5 链条护块 2
1
个
39
LS35-15005
3.5 送料槽片
1
个
40
LS1D-04005
卡料座子
1
个
41
LS1D-04029
送料挡片
1
个
42
LS1D-04019
M6 螺丝
1
个
43
LS1D-04037
卡料座子销
1
个
44
LS1D-04030
弹簧夹料器
1
个
45
LS35-15004
3.5 夹料片
1
个
46
LS35-15006
3.5 弯形三叉推料器
1
个
47
LS75-02037
销
1
个
48
LS1D-04038
CTA 拉伸弹簧
2
个
49
LS1D-04039
CTA 拉伸弹簧 2
1
个
7、 分配头保养。
1) 分配头的拆卸。
松开分配头固定螺丝、检测信号线、电磁阀电源线和气管,就可以把分配头整个
拿下来。
2) 分配头的保养。
(1)松开盖板上的螺丝,拿开盖板,再松开站位气缸固定板上的螺丝,把把分配头的尾部
拿下来,接着把送料杆上的卡簧松开,这样就可以把送料主滑块和送料副滑块拿出来,
用不含纤维的布擦干净,均匀涂上本公司配机的雪油。
(2)检查纸带切刀和滑块切刀是否有磨损,如果有就要及时更换,注意两把刀要紧密配合
在一起才能成功切断纸带而且没有披锋,它们之间的距离几乎为零。
(3)检查站位弯型推片、站位叉型推片有没有变形,弹簧有没有张力,卡簧有没有掉,否
则,就要及时更换。
3)分配头的安装。
把保养好的分配头按照刚才拆除的反顺序把它装到机器上,检查每一个螺丝有没有松动,
否则,重新拧紧。

ZHX-R20B/-IN 自动上下板立式插件机操作说明书
深圳市中禾旭精密机械有限公司 www.zhxai.com
- 40 -

ZHX-R20B/-IN 自动上下板立式插件机操作说明书
深圳市中禾旭精密机械有限公司 www.zhxai.com
- 41 -