X飞达使用手册 - 第10页
所有变压器型材都有线圈。 从机器边交流电压在铁芯上产生感应电磁场, 然后在飞达模块的铁芯 上产生感应电压。这样能量就提供给控制和驱动模块了 3.1. 3.2 数据传 输 通讯在贴片机和飞达模块也实现了无接触式。 数据通过红外线光缆传输。 双通道传输: 一个通道 是从 FCU 向飞达模块发送信号,另一个则是从飞达模块向 FCU 发送信号。每个通道有自己的 发 光二极管发送和接收器(红外线光电管)。数据传输用于飞达同步命令,错误信息,续料信…

3.1.3 能量和数据传输
X系列飞达是装备EDIF。EDIF是能量和数据接口的缩写。X系列飞达模块是采用无接触式电力传
输能量和通讯数据。这个方式可以允许你随时装载或者卸载飞达而无需考虑线缆问题。
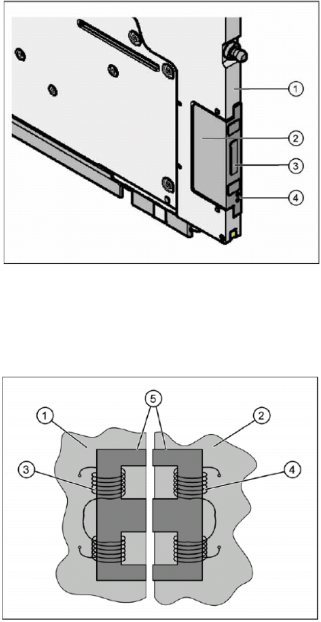
图例
1. 飞达模块前面
2. EDIF
3. 变压器铁芯
4. 光通讯
3.1.3.1 能量传输
飞达电力供应是右FCU(飞达控制单元)无接触式提供。主要由分离式变压器实现。一半的变
压器装在FCU,另外一半在飞达上。当飞达放上台车时,两个一半的变压器就面对,EDIF的悬
浮式设计保证变压器的型材能紧密的无缝衔接。
图例
1. EDIF FCU
2. EDIF 飞达模块
3. FCU 线圈(初级线
圈)
4. 飞达模块线圈(刺
激线圈)
5.分离变压器铁氧体
芯

所有变压器型材都有线圈。从机器边交流电压在铁芯上产生感应电磁场,然后在飞达模块的铁芯
上产生感应电压。这样能量就提供给控制和驱动模块了
3.1.3.2 数据传输
通讯在贴片机和飞达模块也实现了无接触式。数据通过红外线光缆传输。双通道传输:一个通道
是从FCU向飞达模块发送信号,另一个则是从飞达模块向FCU发送信号。每个通道有自己的发
光二极管发送和接收器(红外线光电管)。数据传输用于飞达同步命令,错误信息,续料信号,
设置的ID号确认和下载数据。
图例
1. EDIF FCU
2. EDIF 飞达模块
3. IR 发送
4. IR 接收
5. 光通道
3.1.3.3 问题处理, 维护清洁
注意: 保持 EDIF 干净.
正确的数据和能量传输是台车上飞达模块必须完成的基本功能,两个EDIF模块必须
紧密无缝相连以保证足够能量的传输。光传输通道必须避免污染和堵塞。
备注: 维护和清洁
定期保养和清洁,你可以减少飞达的故障时间和提高贴片机生产效率。这些预防措施
包含以下任务,必须按时完成:
� 日保养
真空吸尘器清洁飞达模块取料区并移除散料。
清洁废料带。
� 定时重复维护
Perform a visual check (e. g. once a year) 每年目视检查,所有飞达不脏也没有破损,如果需
要的话,相关飞到模块必须清洁或者维修。
X系列的FCU 有自动的过载保护,如果飞达导致过载,则监视设备会立即关闭失效模块所在的
整个EDIF模块,然后经过一定时间的冷却期,再自动重新连接。观察以下几点,如果飞达在贴
片机里面出现故障:
�.检查整个飞达前部,废料带残留,纸带残留,污染或者损坏。
�.确认飞达变压器部份表面没有污染或者损坏。
�.确认FCU表面没有污染或者损坏
� 确认飞达对中定位销插入正确,并且推进距离足够远
� 确保所有的飞达模块没有弯曲或者有突起(譬如说松动的螺丝)

� 检查飞达模块上门浮动的EDIF是否能自由的移动,至少需要1mm的间隙。如果EDIF卡住或者
堵住了,需要松开EDIF上两个螺丝,并且重新上好。观察所有弹簧。
� 检查EDIF上3个铁芯面是否破损(断裂或者破损)
� 检查在飞达上EDIF是否有0.1 – 0.2 mm的突起。和FCU终端齐平。
� 用无纺布沾酒精清洁光传输通道,短暂的擦拭前端。腐蚀性的液体或者摩擦系数高的干布会
使光元件表面生锈或者黯淡,这个也许会导致数据传输断裂或飞达模块故障
� 检查光传输通道是否损坏(断裂,弯曲)
3.1.4 软件版本
备注:
低版本会被升级到高版本,但是,不能随意降低版本。
3.1.4.1 2x8 mm 飞达模块软件版本
Version 1.00
� 第一发布的版本.
3.1.4.2 8 - 88 mm 飞达模块版本
使用应用软件不同而版本不同。主要区别如下:
Version 1.00
� 第一发布版本
Version 1.06
� 扩展数据选单: 路径长度
� 扩展数据选单: 最新错误Last error.
� 绷紧废料带的状态下允许连续进料。
Version 1.14
� 问题处理改进
� 可以从任何选单选项扫描条码
� 错误信息“进料超时”替换“进料错误”
Version 1.24
� 扩展数据选单: 接料感应器侦测
� 扩展服务选单: 人工废料带撤除
3.2 计数数据