Ceramic substrate centering unit_20211123_083024
Ceramic substrate centering unit Page 1 / 5 23.11.2021

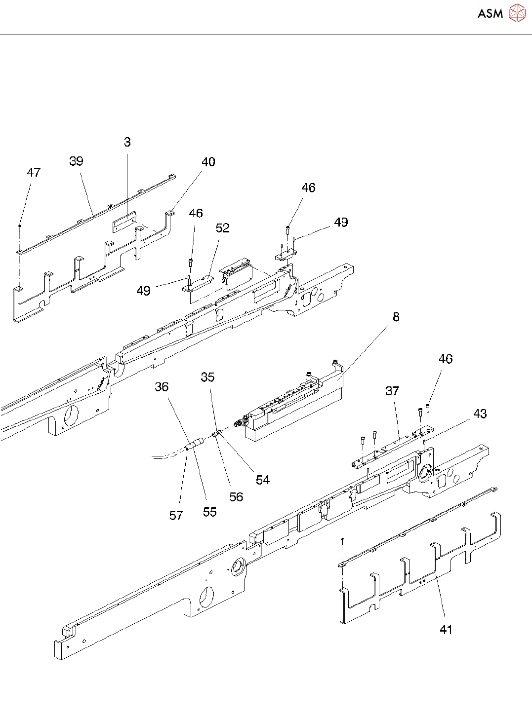
Ceramic substrate centering unit
Page 1 / 5 23.11.2021

Ceramic substrate centering unit
Page 2 / 5 23.11.2021

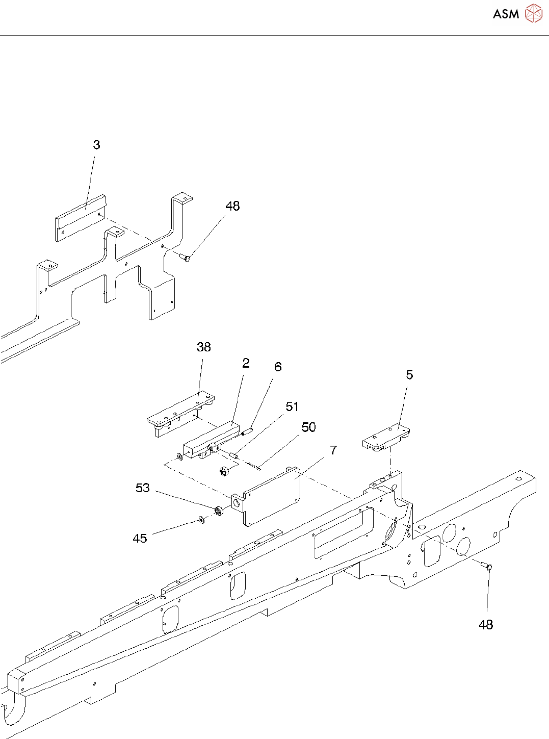
Ceramic substrate centering unit
Page 3 / 5 23.11.2021