5OM-1610-002_w - 第178页
5OM-1610 4-61 101 1-002B(M917WNE--0012) U08 I/O P .C.B. STL T CNVR (R) 24B1 10B 10A 24A3 1 2 3 3 2 1 3 2 1 3 2 1 3 2 1 3 2 1 1 2 3 1 2 3 1 2 3 1 2 3 1 2 3 3 2 1 3 2 1 3 2 1 3 2 1 3 2 1 2 1 1 2 1 2 1 2 1 2 1 2 1 2 1 2 1 2…

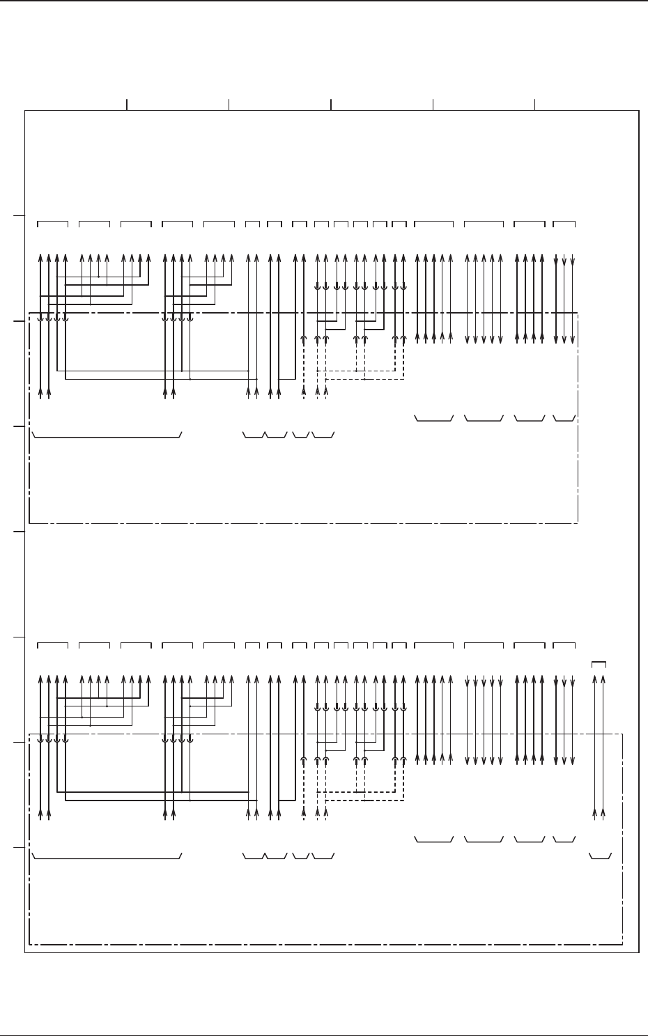
5OM-1610
4-601011-001B(M917WNE--0011)
U08 I/O P.C.B. STLT CNVR (L)
X0801 X0802
IN OUT
CN10
1 2
3
CN4
CN3
21
24B1
10B
10A
24A3
CN11
CN12
CN13
CN14
CN15
CN16
CN17
CN18
CN19
CN20
CN21
CN22
CN23
CN25
1
2
3
3
2
1
3
2
1
3
2
1
3
2
1
3
2
1
1
2
3
1
2
3
1
2
3
1
2
3
1
2
3
3
2
1
3
2
1
3
2
1
3
2
1
3
2
1
2
1
CN45
CN43
CN42
CN41
CN40
CN39
CN38
CN37
CN36
CN35
CN34
CN33
CN32
CN31
CN30
CN24
1
2
1
2
1
2
1
2
1
2
1
2
1
2
1
2
1
2
1
2
1
2
1
2
1
2
1
2
1
2
CN44
4
X0820
X0811
X0810
X0832
X0833
X0836
X0837
X0803 X0804
716
707
706
724
725
728
729
X0842
734
733
X0841
X0840
732
RX
/RX
TX
/TX
7 39 5 5 93 7
/TX
TX
/RX
RX
[NE/13/3D] [NE/13/3E]
[NE/13/3C]
[NE/13/3C]
STLT_CNVR(L)
I/O P.C.B
U08
X0839
731
708
709
X0843
735
B0810
XB0810
:3
+
OUT
-
:2
:1
B0820
+
OUT
-
B0820T
-
+
XB0820
:3
:2
:1
:6
:5
:4
X0812
X0813
B0811
XB0811
:3
+
OUT
-
:2
:1
B0812
XB0812
:3
+
OUT
-
:2
:1
B0813
XB0813
:3
+
OUT
-
:2
:1
Y0832
:1
:2
XY0832
BK R
Y0833
:1
:2
XY0833
BK R
Y0836
:1
:2
XY0836
BK R
Y0837
:1
:2
XY0837
BK R
Y0839
:1
:2
XY0839
BK R
[NE/03/2B]
[NE/03/2D]
[NE/03/2C]
[NE/03/2E]
B0819
+
OUT
-
B0819T
-
+
XB0819
:3
:2
:1
:6
:5
:4
B0818
+
OUT
-
B0818T
-
+
XB0818
:3
:2
:1
:6
:5
:4
X0819
X0818
X0835
X0838
727
730
X0834
726
Y0834
:1
:2
XY0834
BK R
Y0835
:1
:2
XY0835
BK R
Y0838
:1
:2
XY0838
BK R
715
714
CN1A CN2A
1 2
3
CN26
X0826
548
24A3
[NE/13/3C]
to X27163:3
U27(RLY)
[NE/13/3C]
ch1-1
(U12:X1202)
HLS-LINK HLS-LINK
(-X1300F1(Rear))
ch1-1
1 2 3 4 5 6 7 8
A
B
C
D
E
F
Movable 3L
Z Clamp Cylinder Valve
(A:Descent)
Movable 3L
Z Clamp Cylinder Valve
(B:Ascent)
Movable 1,2L
Z Clamp Cylinder Valve
(A:Descent)
Movable 1,2L
Z Clamp Cylinder Valve
(B:Ascent)
(Option)
PCB Positioning Stopper 5
Up/Down Valve (NA)
(Option)
PCB Positioning Stopper 6
Up/Down Valve (NA)
PCB Stopper AL
PCB Stopper BL
Stop Sensor B Mounting
Section 1 Remote / L Flow
Stop Sensor B Mounting
Section 2 Remote / R Flow
Stop Sensor B Mounting
Section 2 Remote / L Flow
Stop Sensor B Mounting
Section 1 Remote / R Flow
(Opttion)
Stop Sensor B Mounting
Section 3 Remote (OP) / L Flow
(Opttion)
Stop Sensor B Mounting
Section 4 Remote (OP) / R Flow
to B4701:5
Stop Sensor B Mounting Section 1 Remote
to B4801:5
Stop Sensor B Mounting Section 2 Remote
to B4702:5
Stop Sensor B Mounting Section 3 Remote
to B4802:5
Stop Sensor B Mounting Section 4 Remote
FG
(Connector Case)
FG
(Connector Case)
(Option)
M121 Alarm Signal
(Option)
M122 Alarm Signal
Movable Chute
Backup Pin Sensor 3
(Light Reception / Light Emission)
Movable Chute
Backup Pin Sensor 2
(Light Reception / Light Emission)
Movable Chute
Backup Pin Sensor 1
(Light Reception / Light Emission)
PCB Stpper 5 Upper Sensor (OP) / L Flow
PCB Stpper AR Upper Sensor/ R Flow
PCB Stpper 6 Origin Sensor (OP) / L Flow
PCB Stpper BR Origin Sensor/ R Flow
PCB Stpper 6 Upper Sensor (OP) / L Flow
PCB Stpper BR Upper Sensor/ R Flow
PCB Stpper 5 Origin Sensor (OP) / L Flow
PCB Stpper AR Origin Sensor/ R Flow

5OM-1610
4-611011-002B(M917WNE--0012)
U08 I/O P.C.B. STLT CNVR (R)
24B1
10B
10A
24A3
1
2
3
3
2
1
3
2
1
3
2
1
3
2
1
3
2
1
1
2
3
1
2
3
1
2
3
1
2
3
1
2
3
3
2
1
3
2
1
3
2
1
3
2
1
3
2
1
2
1
1
2
1
2
1
2
1
2
1
2
1
2
1
2
1
2
1
2
1
2
1
2
1
2
1
2
1
2
1
2
X1411
X1410
X1435
X1438
739
738
759
762
X1442
766
765
X1441
X1440
764
RX
/RX
TX
/TX
7 39 5 5 93 7
/TX
TX
/RX
RX
[NE/13/7D] [NE/13/7E]
[NE/13/7C]
[NE/13/7C]
STRT_CNVR(R)
I/O P.C.B
U14
X1434
758
740
741
X1443
767
B1410
XB1410
:3
+
OUT
-
:2
:1
X1412
X1413
B1411
XB1411
:3
+
OUT
-
:2
:1
B1412
XB1412
:3
+
OUT
-
:2
:1
B1413
XB1413
:3
+
OUT
-
:2
:1
Y1434
:1
:2
XY1434
BK R
Y1435
:1
:2
XY1435
BK R
Y1438
:1
:2
XY1438
BK R
[NE/06/2B]
[NE/06/2D]
[NE/06/2C]
[NE/06/2E]
X1416
X1415
X1414
744
743
742
745
X1417
B1414
XB1414
:3
+
OUT
-
:2
:1
B1415
XB1415
:3
+
OUT
-
:2
:1
B1416
XB1416
:3
+
OUT
-
:2
:1
B1417
XB1417
:3
+
OUT
-
:2
:1
X1436
X1437
760
761
X1439
763
Y1436
:1
:2
XY1436
BK R
Y1437
:1
:2
XY1437
BK R
Y1439
:1
:2
XY1439
BK R
X1401 X1402
IN OUT
CN10
CN11
CN12
CN13
CN14
CN15
CN16
CN17
CN18
CN19
CN20
CN21
CN22
CN23
CN25 CN45
CN43
CN42
CN41
CN40
CN39
CN38
CN37
CN36
CN35
CN34
CN33
CN32
CN31
CN30
CN24 CN44
CN1A CN2A
1 2 3
CN4
CN3
21 4
X1403 X1404
1 2 3
CN26
X1426
549
24A3
[NE/13/7C]
to X27163:4
U27(RLY)
[NE/13/7C]
ch2-1
(U06:X0602)
HLS-LINK HLS-LINK
(-X1300F1(Front))
ch2-1
1 2 3 4 5 6 7 8
A
B
C
D
E
F
Movable 3R
Z Clamp Cylinder Valve
(A:Descent)
Movable 3R
Z Clamp Cylinder Valve
(B:Ascent)
Movable 1,2R
Z Clamp Cylinder Valve
(A:Descent)
Movable 1,2R
Z Clamp Cylinder Valve
(B:Ascent)
PCB Stopper AR
PCB Stopper BR
Stop Sensor A Mounting
Section 1 Remote / L Flow
Stop Sensor A Mounting
Section 2 Remote / R Flow
Stop Sensor A Mounting
Section 2 Remote / L Flow
Stop Sensor A Mounting
Section 1 Remote / R Flow
(Opttion)
Stop Sensor A Mounting
Section 3 Remote (OP) / L Flow
(Opttion)
Stop Sensor A Mounting
Section 4 Remote (OP) / R Flow
to B4301:5
Stop Sensor A Mounting Section 1 Remote
to B4401:5
Stop Sensor A Mounting Section 2 Remote
to B4302:5
Stop Sensor A Mounting Section 3 Remote
to B4402:5
Stop Sensor A Mounting Section 4 Remote
FG
(Connector Case)
FG
(Connector Case)
(Option)
M123 Alarm Signal
(Option)
M124 Alarm Signal
PCB Stpper 5 Upper Sensor (OP) / L Flow
PCB Stpper AR Upper Sensor/ R Flow
PCB Stpper 6 Origin Sensor (OP) / L Flow
PCB Stpper BR Origin Sensor/ R Flow
PCB Stpper 6 Upper Sensor (OP) / L Flow
PCB Stpper BR Upper Sensor/ R Flow
PCB Stpper 5 Origin Sensor (OP) / L Flow
PCB Stpper AR Origin Sensor/ R Flow
PCB Stpper AL Origin Sensor
PCB Stpper AL Upper Sensor
PCB Stpper BL Origin Sensor
PCB Stpper BL Upper Sensor

5OM-1610
4-621011-002A(M917WNE--0013)
Main Machine Connection Circuit
X14106
:2,3
:1,4
:4,5
A41:CN10
:1,2
:1
U08:CN3
:2
:1
:3
:1
A53:N1
:2
[NE/01/7E]
[NE/05/8C]
[NE/11/3F]
48D3E
10D
10B
24B1
10A
24A3
(U85)X8511
:4
:3
[B-/02/12C]
DC24V(B)
DC24V(A)
[B-/02/5C]
[B-/02/5B]
AE-LINK
[F-/13/6D]
48D3F
10D
A45:CN10
X4710
A47:CN10
X16110
X5310
A53:CN10
A161:CN10
U08:CN4
:3
:6
X2762
:1
:2
:2
A41:CN9
:1
[NE/01/7A]
10A
390
[B-/02/11D]
A45:CN9
[NE/02/7A]
X2762
:3
:4
A47:CN9
[NE/03/7A]
A161:CN9
[NE/04/7A]
X2762
:5
:6
A53:CN9
[NE/05/7A]
:3
:4
:6
:5
24V
COM A
COM B
GND
X4110
X4510
:4,5
:1,2
:3
:6
:4,5
:1,2
:3
:6
:4,5
:1,2
:3
:6
:4,5
:1,2
:3
:6
X0803
X0804
X4109
:2
:1
X4509
:2
:1
X4709
:2
:1
X16109
:2
:1
X5309
[NE/02/7E]
[NE/03/7E]
[NE/04/7E]
[NE/05/7E]
[NE/11/3F]
X53N1
A41:N2
:2
[NE/01/8D]
:A1
:3
:4
:B1
:A3
TR+
TR-
GND
X41N2
(U181R)X1814
AE-LINK
[D-/12/5A]
(U27)
:3
U08:CN2
:5
[NE/11/6A]
-X1300F1
:3
:5
HLS-LINK
[D-/12/6C]
:7
:9
:7
:9
TX
/TX
RX
/RX
X0802
FG
:3
U08:CN1
:5
[NE/11/3A]
(U12)X1202
:3
:5
HLS-LINK
[BL/03/6A]
:7
:9
:7
:9
TX
/TX
RX
/RX
X0801
FG
:4,5
A43:CN10
:1,2
:1
U14:CN3
:2
:1
:3
:1
A55:N1
:2
[NE/06/7E]
[NE/10/8C]
[NE/12/3F]
48D3G
10D
10B
24B1
10A
24A3
(U85)X8512
[B-/02/12D]
DC24V(B)
DC24V(A)
[B-/02/5C]
[B-/02/5B]
AE-LINK
[F-/13/6E]
48D3H
10D
A49:CN10
X5110
A51:CN10
X16210
X5510
A55:CN10
A162:CN10
U14:CN4
:3
:6
X2763
:1
:2
:2
A43:CN9
:1
[NE/06/7A]
10A
393
[B-/02/11E]
A49:CN9
[NE/07/7A]
X2763
:3
:4
A51:CN9
[NE/08/7A]
A162:CN9
[NE/09/7A]
X2763
:5
:6
A55:CN9
[NE/10/7A]
:3
:4
24V
COM A
COM B
GND
X4310
X4910
:4,5
:1,2
:3
:6
:4,5
:1,2
:3
:6
:4,5
:1,2
:3
:6
:4,5
:1,2
:3
:6
X1403
X1404
X4309
:2
:1
X4909
:2
:1
X5109
:2
:1
X16209
:2
:1
X5509
[NE/07/7E]
[NE/08/7E]
[NE/09/7E]
[NE/10/7E]
[NE/12/3F]
X55N1
A43:N2
:2
[NE/06/8D]
:3
:4
TR+
TR-
GND
X43N2
(U181F)X1814
AE-LINK
[D-/22/5A]
(U27)
:3
U14:CN2
:5
[NE/12/6A]
-X1300F1
HLS-LINK
[D-/22/6C]
:7
:9
TX
/TX
RX
/RX
X1402
FG
:3
U14:CN1
:5
[NE/12/3A]
(U06)X0602
HLS-LINK
[D-/21/6A]
:7
:9
TX
/TX
RX
/RX
X1401
FG
:4
:3
:6
:5
:A1
:B1
:A3
:3
:5
:7
:9
:3
:5
:7
:9
10A
24A2
DC24V(A)
[B-/02/5A]
[NE/14/1B]
X14110
:1
:2
X116110
:1
:2
X15306
:2,3
:1,4
X12762
:1
:2
:3
:4
:5
:6
:7
:8
:9
:10
X14906
:2,3
:1,4
X14310
:1
:2
X116210
:1
:2
X15506
:2,3
:1,4
X12763
:1
:2
:3
:4
:5
:6
:7
:8
:9
:10
:3
:2
548
X0826
X27163
:3
(U27)
U08:CN26
[NE/11/6F]
[BL/04/2E]
:3
:2
549
X1426
X27163
:4
(U27)
U14:CN26
[BL/04/2E]
[NE/12/6F]
Cooling Fan
For Sensor Power
For Load Power
For Terminal Change-Over
1 2 3 4 5 6 7 8
A
B
C
D
E
F
Connector Case
Connector Case
Connector Case
Connector Case
Connector Case
Connector Case
Connector Case
Main Machine
Main Machine
DC48V
Power Supply
DC48V
Power Supply
Feeder Base (2)
Power Input
Conveyor
Emergency Stop
External Connecting Bundled Connector (Front)
Feeder Base (1)
Power Input
Conveyor Emergency
External Connecting Bundled Connector (Rear)
For Sensor Power
For Load Power
For Terminal Change-Over