CP43维护手册.pdf.pdf - 第96页
Chapter 7 The Device T ables 7 – 4 V ersion 7.0 CP IV -3 Maintenance

Chapter 7 The Device Tables
7.2 Preventing Device Table Collisions
Since the two device tables can work independently, an interlock is used
to prevent collisions when they are working in close proximity to each
other.
Two types of interlocks are used, one is in the software and the other is a
sensor on the machine.
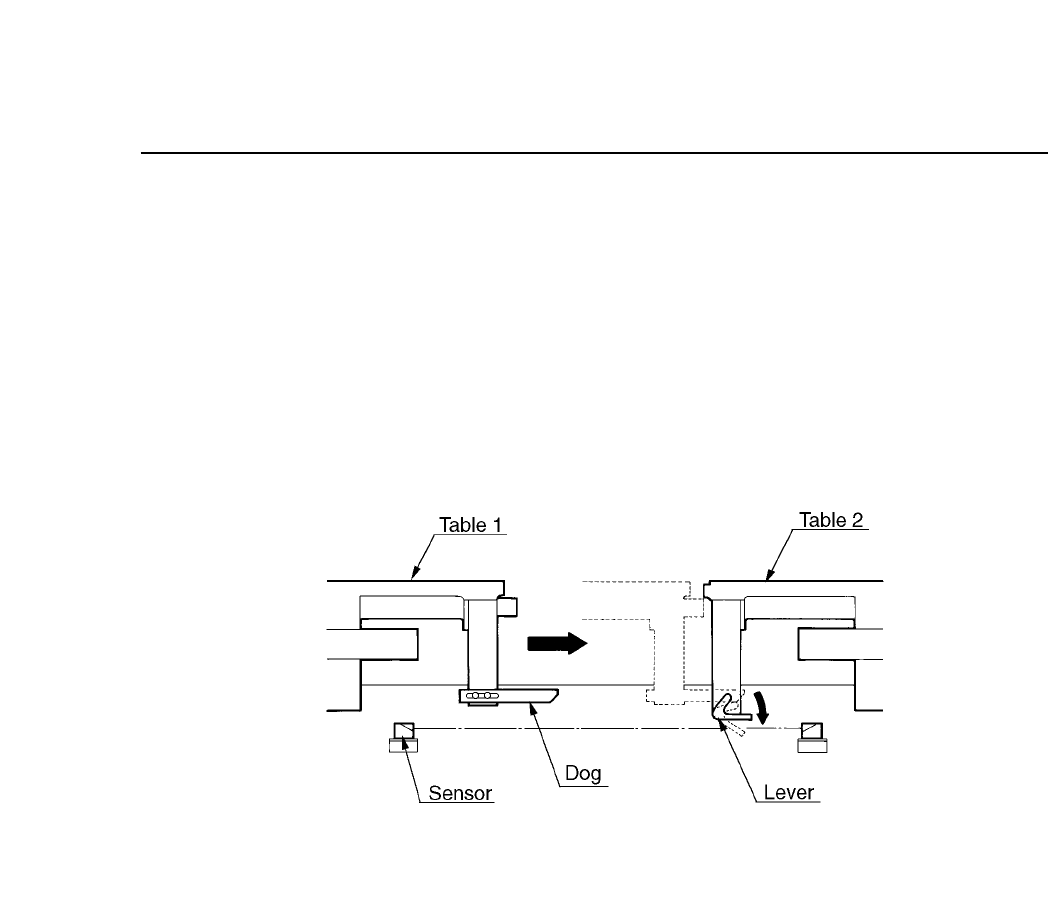
The sensor is depicted in the following figure.
Fig. 7-2 Device Table Interlock Sensor
When the tables are approaching each other, a dog presses down on a
lever. This lever trips the sensor and causes the machine to stop.
7 – 3Version 7.0
CP IV-3 Maintenance

Chapter 7 The Device Tables
7 – 4Version 7.0
CP IV-3 Maintenance

8 – 1
Version 7.0
Chapter 8 Board Conveyance Adjustment
8. Board Conveyance Adjustment
The board in production is conveyed through the in conveyor, XY table and out
conveyor. Each unit is driven by a T type conveyor belt. Each unit has a buffer
facility for one board.
When the in conveyor and out conveyor are joined by raising the XY table to its
loading position, the width of all three can be changed at the same time by
turning the handle located on the out conveyor.
Fig. 8-1 Board Conveyance
CP IV-3 Maintenance