操作指南 - 第244页
AVK3 维修 手册 7.34 风道 清洁和 高度调节 D77M CC-83-1Y 0-A0 7.34-1 7.34. D77MCC-83-1Y0-A 0 装置 编号: 1087125 000 7.34 风道 清洁和高 度调 节 1. 1. 接通电源 [ON] 并返回原点。 = = 确保定位器轨道不在插入装置之下。 2. 检查副操纵盘的 “插件头伺服电机 OFF ” 开关是否断开 [OFF] 。 3. 合上副操纵盘的 “滑动块横动” 开…

AVK3
维修手册
7.33
编带切刀更换调节
D77MCC-83-K10-A0
7.33-2
17.
将滑动块传送到左侧,观察刻度尺,移动
刀片
B 0.1mm
,并旋转调节螺栓。
18.
.
使用
6mm
厚的纸张,如复印纸,来检测
编带刀具运行情况,并检查刀具上下刃。
19.
如不成功,再次将滑动块向左方向移动
0.05 ~ 0.1mm
。
= =
参见试切割纸张,以决定进给
量。
= =
当更换刀具时,确认断开电源
[OFF]
。
= =
务必检查气阀气缸的调压器工
作在
0.3 ~ 0.35MPa
的范围内。
夹头
切刀刀片
Z
轴侧
前侧
A B
插入量
0.1 - 0.3 mm
风门挡
板汽缸
螺母
B
螺钉
(b)
刀片
B
表面
A
刀片
A
螺母
A
风门挡板汽缸
螺钉
(a)
螺钉
(b)
CT: 324
CT: 324
CT: 235
调节螺栓
夹头
滑块

AVK3
维修手册
7.34
风道清洁和高度调节
D77MCC-83-1Y0-A0
7.34-1
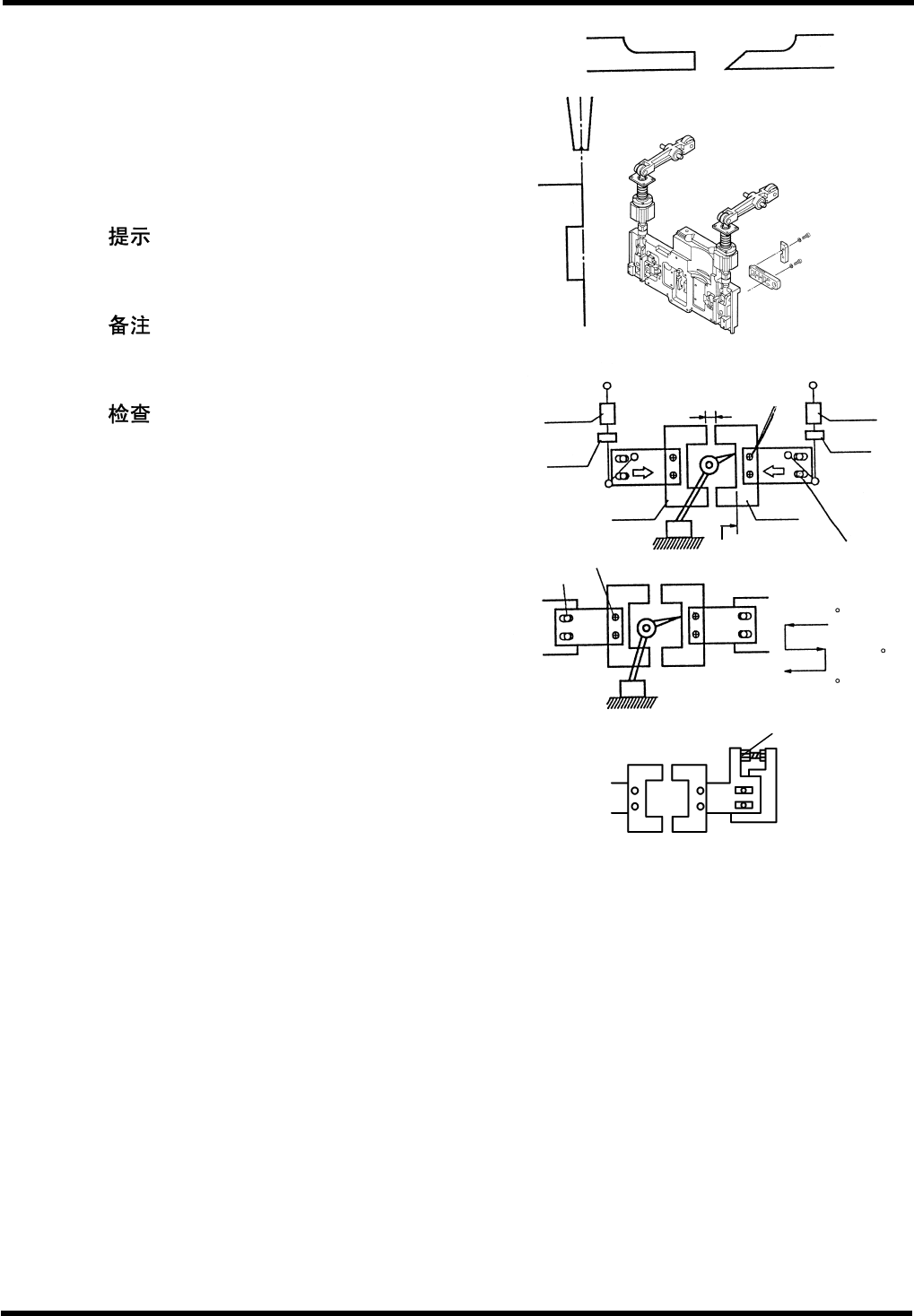
7.34.
D77MCC-83-1Y0-A0
装置编号:
1087125000
7.34
风道清洁和高度调节
1.
1.
接通电源
[ON]
并返回原点。
= =
确保定位器轨道不在插入装置之下。
2.
检查副操纵盘的“插件头伺服电机
OFF
”
开关是否断开
[OFF]
。
3.
合上副操纵盘的“滑动块横动”开关
[ON]
。
4.
断开“插件头制动”开关
[OFF] (
释放
)
。
5.
将循环定时器的手动旋钮旋转至
90
度。
6.
合上“插件头制动”开关
[ON] (
锁定
)
。
7.
拧松螺栓(
b
)、(
c
)。
8.
拆下风道并清洁。
9.
安装风道。
10.
检查从风道底端到印刷线路板底高度(
1.6mm
厚)。
= =
6.5 - 7.0 mm
11.
前后移动滑动夹,检查并确认其未干扰风道。
12.
如超出规定的范围,则应拧松螺栓(
d
)和(
e
),直到风道能上下移动。
13.
调节风道底端到印刷线路板的高度(
1.6mm
厚)。
14.
拧紧螺栓(
d
)、(
e
)。
15.
再次检查风道高度。
16.
前后移动滑动夹,检查并确认其未干扰风道。
托架
(a)
螺栓
(d)
托架
(e)
托架
(b)
风道
螺栓
(c)
螺栓
(b)

AVK3
维修手册
7.34
风道清洁和高度调节
D77MCC-83-1Y0-A0
7.34-2