JM-100-Rev07 - 第116页
- - 56. CLINCHUNI TCOMPONENTS(11)( CONVE YOR)

- -
REF.NO NOTE PARTNO DESCRIPTION Qty
1 402-16986 CLINCH_CONV_UNIT_STOPPER_ASM 1
2 402-13854 STOPPER_UNIT_BASE_PL (1)
3 400-76113 CYLINDER (1)
4 401-64345 SPEED_CONTROLLER_ELB (2)
5 SL-6032542-TN SCREWM3L=25 (2)
6 WP-0320500-SE WASHER3.2X0.5 (2)
7 402-13851 STOPPER_CYLINDER_PL (1)
8 NM-6050003-SC NUTM5X0.8TYPE3 (2)
9 WP-0531001-SC WASHERM5 (1)
10 WS-0510002-KN SPRINGWASHERM5 (1)
11 402-13852 STOPPER_LINK (1)
12 E1120-706-C00 FREELINKJOINTSCREW (2)
13 SL-6030592-TN SCREWM3L=5 (1)
14 E6607-705-000 LOCKHOLDERPIN (1)
15 RE-0400000-K0 E-RING4 (1)
16 402-13853 STOPPER_PL (1)
17 401-60376 BALLSLIDE(BSP720SLT1) (1)
18 SM-1020501-SC SCREWM2L=5 (2)
19 SL-4020491-SC SCREWM2L=4 (2)
20 WP-0220301-SC WASHERM2 (2)
21 402-13855 STOPPER_FIX_PL (1)
22 SL-6030592-TN SCREWM3L=5 (2)
23 402-16989 STOPPER_GUIDE_BLOCK_L (1)
24 SL-6030892-TN SCREWM3L=8 (1)
25 402-16990 STOPPER_GUIDE_BLOCK_R (1)
26 E1426-726-000 CHUCKO-SSD (1)
27 RE-0200000-K0 E-RING2 (1)
28 SB-1030002-00 BEARING (1)
29 SL-6030892-TN SCREWM3L=8 (1)
30 SD-0400356-TN SHOULDERSCREWD=4H=3.5 (1)
31 402-13928 STOPSENSORASM 1
32 400-46992 FIBER_NUT (1)
33 400-93923 FIBER_HOLDER (1)
34 SM-1031001-SC SCREWM3X0.5L=10 (2)
35 SM-8030802-TP SCREWM3X0.5L=8 (1)
36 401-81868 STOPSENSORCABLEASM (1)
37 400-92512 FIBER (1)
38 402-13929 C.OUTSENSORASM 1
39 400-46992 FIBER_NUT (1)
40 400-93923 FIBER_HOLDER (1)
41 SM-1031001-SC SCREWM3X0.5L=10 (2)
42 SM-8030802-TP SCREWM3X0.5L=8 (1)
43 401-81868 STOPSENSORCABLEASM (1)
44 400-92512 FIBER (1)
45 402-13930 WAIT_SENSOR_UNIT 1
46 400-46992 FIBER_NUT (1)
47 L179E-421-000 WAITSENSORBLOCKR (1)
48 SL-6031092-TN SCREWM3L=10 (2)
49 SM-8020202-UZ SCREWM2L=2 (1)
50 401-81868 STOPSENSORCABLEASM (1)
51 400-92512 FIBER (1)
52 402-13932 CLINCH_HEAD_SENSOR_ASM 1
53 402-13869 SENSOR_BR_FR (1)
54 402-13870 SENSOR_BR_R (2)
55 402-13871 NUT_PLATE (4)
56 402-13780 SENSOR_BR (2)
57 SL-6040892-TN SCREWM4L=8 (4)
58 SL-4031291-SC SCREWM3L=12 (4)
59 SL-6030892-TN SCREWM3L=8 (8)
60 401-61236 BUPINEMISSIONSENSASM (1)
61 401-61237 BUPINRECEIVESENSASM (1)
62 SM-4020801-SC SCREWM2X8 (8)
63 402-13516 CYLMTSENSRECEIVEASM (2)
64 402-13517 CYLMTSENSEMISSONASM (2)
65 HX-0067100-0A GROMMET (0.04)
66 402-13868 SENSOR_BR_FL (1)

- -
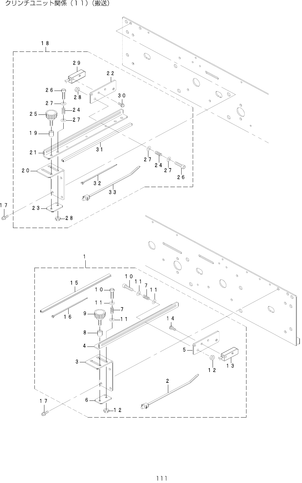
56.CLINCHUNITCOMPONENTS(11)(CONVEYOR)

- -
REF.NO NOTE PARTNO DESCRIPTION Qty
1 401-88588 LEFTSENSORUNIT_RS-1 1
2 HX-0044000-00 CABLEBAND (1)
3 401-46990 SENSOR_BR_A (1)
4 401-46991 SENSOR_BR_B (1)
5 400-01079 SENSORBRACKETC (1)
6 400-01076 SENSOR_SLIDE_PLATE (1)
7 400-00912 SENSOR_ADJUST_SPRING (3)
8 400-58815 SPACER (1)
9 G6518-880-000 SETPICK-UP (1)
10 SM-6041602-TN SCREWM4X16 (3)
11 WP-0430801-SC WASHERM4 (6)
12 NM-6040002-SE NUTM4X0.7TYPE2 (3)
13 401-29046 SIDESENSORCABLEASM (1)
14 SL-4031091-SC SCREWM3L=10 (2)
15 HX-0036700-0A GROMMET (0.16)
16 EA-9500B00-00 CABLEBAND (5)
17 SL-6031092-TN SCREWM3L=10 2
18 401-88589 RIGHTSENSORUNIT_RS-1 1
19 400-58815 SPACER (1)
20 401-46990 SENSOR_BR_A (1)
21 401-46991 SENSOR_BR_B (1)
22 400-01079 SENSORBRACKETC (1)
23 400-01076 SENSOR_SLIDE_PLATE (1)
24 400-00912 SENSOR_ADJUST_SPRING (3)
25 G6518-880-000 SETPICK-UP (1)
26 SM-6041602-TN SCREWM4X16 (3)
27 WP-0430801-SC WASHERM4 (6)
28 NM-6040002-SE NUTM4X0.7TYPE2 (3)
29 401-29046 SIDESENSORCABLEASM (1)
30 SL-4031091-SC SCREWM3L=10 (2)
31 HX-0036700-0A GROMMET (0.16)
32 EA-9500B00-00 CABLEBAND (5)
33 HX-0044000-00 CABLEBAND (1)