JM-100-Rev07 - 第23页
- - REF.NO NOTE PART NO DESCRIPTION Qty 1 40 2-06668 SAFETY_COVER_F_ASM 1 2 40 2-06533 SAFETY_COVER_FRAME_F_ J1 (1) 3 40 2-06535 SAFETY_COVER _STAY_F_J1 (2) 4 SL -6040892-TN SCREWM4L=8 ( 6) 5 40 2-06…

- -
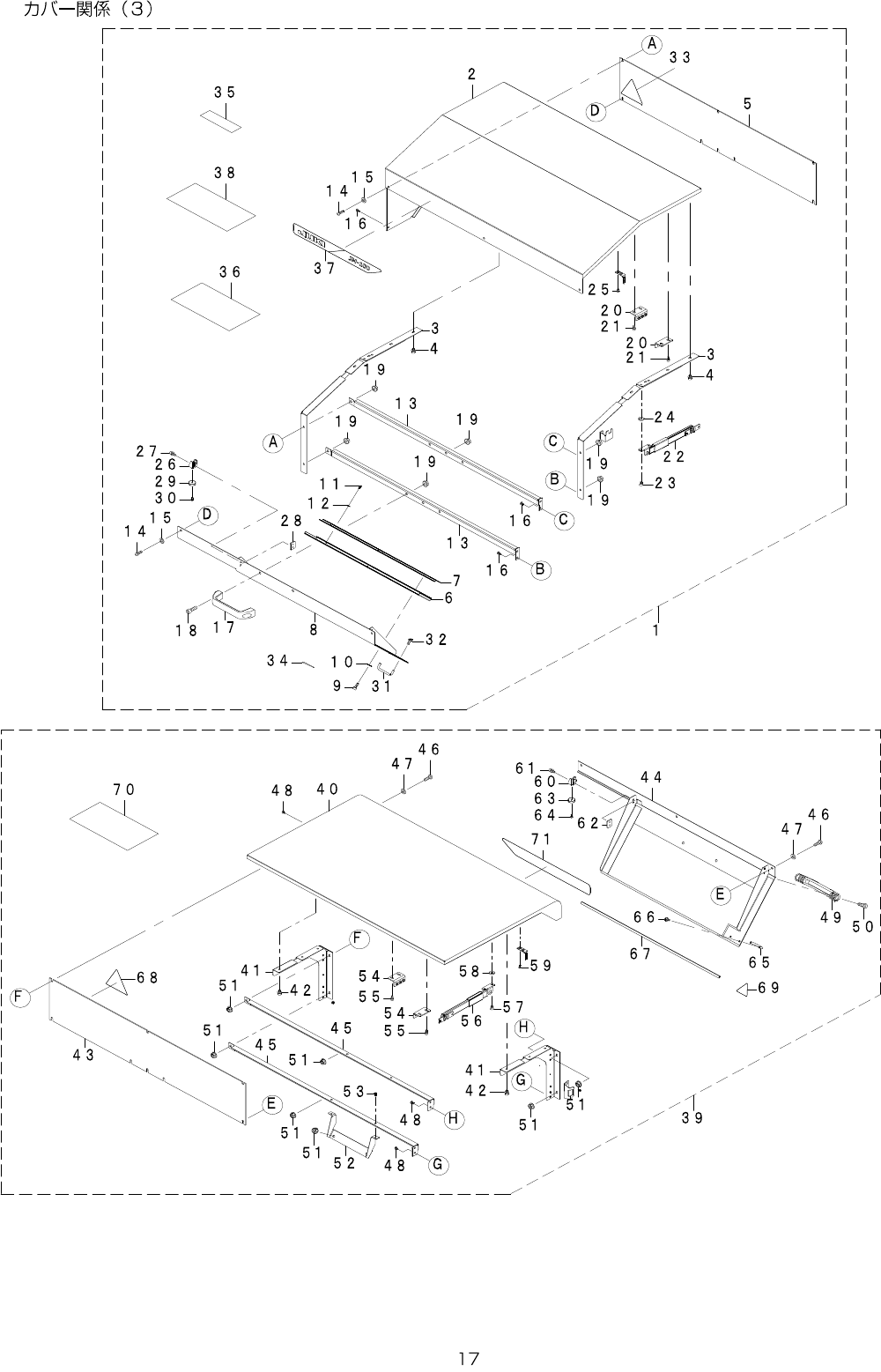
9. COVERCOMPONENTS(3)

- -
REF.NO NOTE PARTNO DESCRIPTION Qty
1 402-06668 SAFETY_COVER_F_ASM 1
2 402-06533 SAFETY_COVER_FRAME_F_J1 (1)
3 402-06535 SAFETY_COVER_STAY_F_J1 (2)
4 SL-6040892-TN SCREWM4L=8 (6)
5 402-06651 SCP_J1_ECV100 (1)
6 402-06644 SAFETY_COVER_SHUTTER_J1 (1)
7 402-06645 SAFETY_COVER_SHUTTER_R_J1 (1)
8 402-06646 SAFETY_COVER_F_B_J1_S (1)
9 SL-6041292-TN SCREWM4L=12 (3)
10 WP-0450816-SC WASHER (3)
11 SM-3030552-TN SCREWM3L=5 (3)
12 WP-0320501-SC WASHERM3 (3)
13 402-06580 SC_SUPPORT_F (2)
14 SM-3061652-TN SCREWM6L=16 (5)
15 WP-0641601-SC WASHERM6 (5)
16 400-81751 B_COVER_SCREW (5)
17 401-22998 HANDLE (1)
18 SM-6062002-TN SCREWM6L=20 (2)
19 NM-3060810-SF FLANGENUTM6 (7)
20 401-96694 SCF_HINGE_BRACKET (4)
21 SL-6051292-TN SCREWM5L=12 (20)
22 400-77321 STAY (1)
23 SM-1040801-SC SCREWM4X0.7L=8 (4)
24 WP-0482016-SC PLAINWASHER4.8X11.5X2 (2)
25 400-80490 KEY_SCREW (2)
26 400-01464 STOPPERSUPPORT (1)
27 SL-6040892-TN SCREWM4L=8 (2)
28 401-47221 STOPPER_NUT_PLATE (1)
29 401-34189 MAGNET (1)
30 SM-4030601-SC SCREWM3X0.5L=6 (1)
31 401-13967 HANDLE_L (1)
32 SL-4041291-SC SCREWM4L=12 (2)
33 CM-3002000-06 FINGERINJURYCAUTIONLABEL(100) (1)
34 CM-3002000-04 FINGERINJURYCAUTIONLABEL(50) (1)
35 400-51621 CHIPBOXNOTICELABELG1 (1)
36 400-79329 CAUTIONSEAL (1)
37 402-06551 BRAND_MARK_LABEL_JM-100 (1)
38 401-83471 LOCATION_LABEL_RS-1 (1)
39 402-06669 SAFETY_COVER_R_ASM 1
40 402-06534 SAFETY_COVER_FRAME_R_J1 (1)
41 402-06536 SAFETY_COVER_STAY_R_J1 (2)
42 SL-6040892-TN SCREWM4L=8 (6)
43 402-06651 SCP_J1_ECV100 (1)
44 402-06538 SAFETY_COVER_R_B_J1 (1)
45 402-06581 SC_SUPPORT_R (2)
46 SM-3061652-TN SCREWM6L=16 (6)
47 WP-0641601-SC WASHERM6 (6)
48 400-81751 B_COVER_SCREW (5)
49 401-22998 HANDLE (1)
50 SM-6062002-TN SCREWM6L=20 (2)
51 NM-3060810-SF FLANGENUTM6 (8)
52 402-06582 SC_SUPPORT_BR_R (1)
53 400-81751 B_COVER_SCREW (2)
54 401-96694 SCF_HINGE_BRACKET (4)
55 SL-6051292-TN SCREWM5L=12 (20)
56 400-77321 STAY (1)
57 SM-1040801-SC SCREWM4X0.7L=8 (4)
58 WP-0482016-SC PLAINWASHER4.8X11.5X2 (2)
59 400-80490 KEY_SCREW (2)
60 400-01464 STOPPERSUPPORT (1)
61 SL-6040892-TN SCREWM4L=8 (2)
62 401-47221 STOPPER_NUT_PLATE (1)
63 401-34189 MAGNET (1)
64 SM-4030601-SC SCREWM3X0.5L=6 (1)
65 401-13968 HANDLE_S (1)
66 SL-4041291-SC SCREWM4L=12 (2)
67 402-06541 EDGE_CUSHION (0.7)
68 CM-3002000-06 FINGERINJURYCAUTIONLABEL(100) (1)
69 CM-3002000-04 FINGERINJURYCAUTIONLABEL(50) (1)
70 400-79329 CAUTIONSEAL (1)
71 402-06551 BRAND_MARK_LABEL_JM-100 (1)

- -
10.COVERCOMPONENTS(4)