JM-100-Rev07 - 第58页
- - 27. PWBCONVEY ORCOMPONEN TS(6)

- -
REF.NO NOTE PARTNO DESCRIPTION Qty
1 402-06717 STOPPER_ASM 1
2 402-05760 WAIT_STOP_COUT_SENS_ASM (2)
3 401-36820 STOPPER_FRAME (1)
4 402-05760 WAITSTOPCOUTSENSASM (1)
5 SL-6030842-TN SCREWM3L=8 (1)
6 400-00910 STOPPERPIN (1)
7 RE-0200000-K0 E-RING2 (1)
8 WP-0320501-SC WASHERM3 (1)
9 400-00911 STOPERCONNECT (1)
10 PA-1002008-A0 AIRCYLINDER (1)
11 SM-6031402-TN SCREWM3X0.5L=14 (2)
12 PC-0105080-00 SPEEDCONTROLLER (1)
13 PJ-3040405-11 ELBOWUNION (1)
14 SL-6041292-TN SCREWM4L=12 (2)
15 E2169-721-000 HOLDPLATE (1)
16 400-00909 STOPER (1)
17 E2233-725-000 STOPPERCHIP (1)
18 SM-1030401-SE SCREWM3L=4 (1)
19 SM-1031201-SC SCREWM3X0.5L=12 (1)
20 E2039-721-000 WASHERA (2)
21 E2038-721-000 STOPPERCOLLAR (1)
22 WP-0330516-SC WASHER3.3X8X0.5 (1)
23 WS-0310002-KN SPRINGWASHERM3 (1)
24 NM-6030001-SC NUTM3X0.5TYPE1 (1)
25 400-23788 STOPERSPACER (1)
26 PC-0124010-00 SPEEDCONTROLLER (1)
27 BT-0400251-EA URETHANETUBEBLUE4X2.5 (2.5)
28 401-13940 COSENSORBR (1)
29 SL-6030692-TN SCREWM3L=6 (2)
30 SL-4031091-SC SCREWM3L=10 (4)

- -
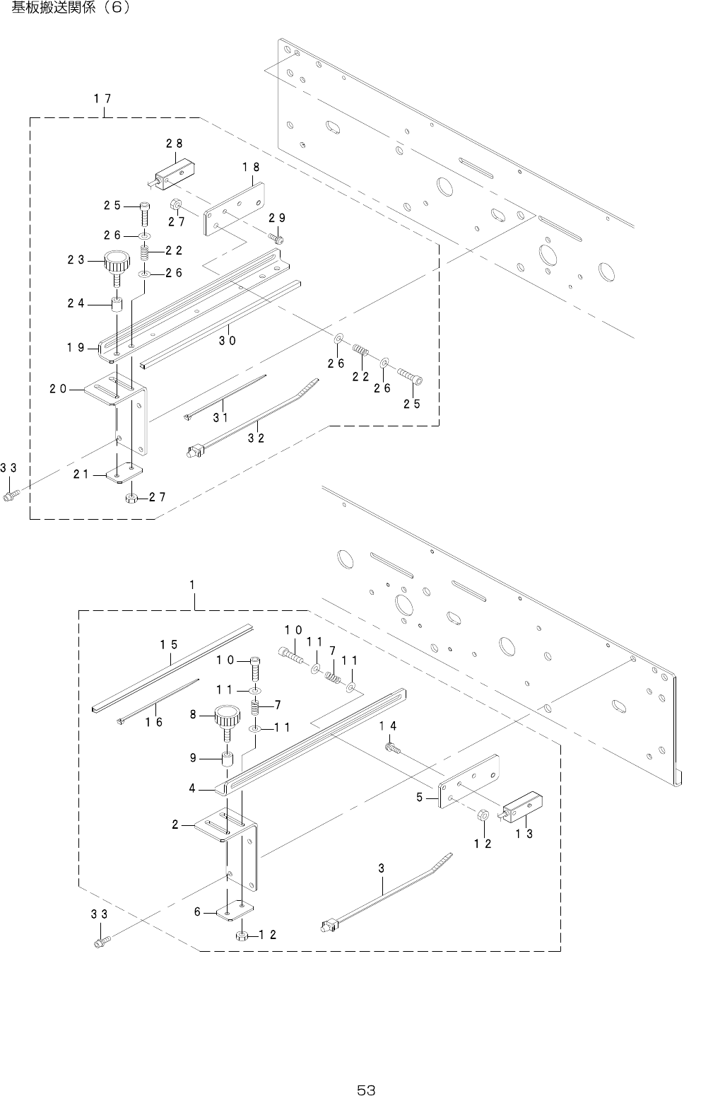
27.PWBCONVEYORCOMPONENTS(6)

- -
REF.NO NOTE PARTNO DESCRIPTION Qty
1 401-37162 LEFT_SENS_UNIT 1
2 401-36826 SENSOR_BRACKET_A (1)
3 HX-0044000-00 CABLEBAND (1)
4 400-01078 SENSORBRACKETB (1)
5 401-36827 SIDE_SENSOR_BR (1)
6 400-01076 SENSORSLIDEPLATE (1)
7 400-00912 SENSORADJUSTSPRING (3)
8 G6518-880-000 SETPICK-UP (1)
9 400-58815 SPACER (1)
10 SM-6041602-TN SCREWM4X16 (3)
11 WP-0430801-SC WASHERM4 (6)
12 NM-6040002-SE NUTM4X0.7 (3)
13 401-29046 SIDESENSORCABLEASM (1)
14 SL-4031091-SC SCREWM3L=10 (2)
15 HX-0036700-0A BUSH (0.16)
16 EA-9500B00-00 CABLEBAND (5)
17 401-37163 RIGHT_SENS_UNIT 1
18 400-01078 SENSORBRACKETB (1)
19 401-36827 SIDE_SENSOR_BR (1)
20 401-36826 SENSOR_BRACKET_A (1)
21 400-01076 SENSORSLIDEPLATE (1)
22 400-00912 SENSORADJUSTSPRING (3)
23 G6518-880-000 SETPICK-UP (1)
24 400-58815 SPACER (1)
25 SM-6041602-TN SCREWM4X16 (3)
26 WP-0430801-SC WASHERM4 (6)
27 NM-6040002-SE NUTM4X0.7 (3)
28 401-29046 SIDESENSORCABLEASM (1)
29 SL-4031091-SC SCREWM3L=10 (1)
30 HX-0036700-0A BUSH (0.16)
31 EA-9500B00-00 CABLEBAND (5)
32 HX-0044000-00 CABLEBAND (1)
33 SL-6031092-TN SCREWM3L=10 4