JM-100-Rev07 - 第9页
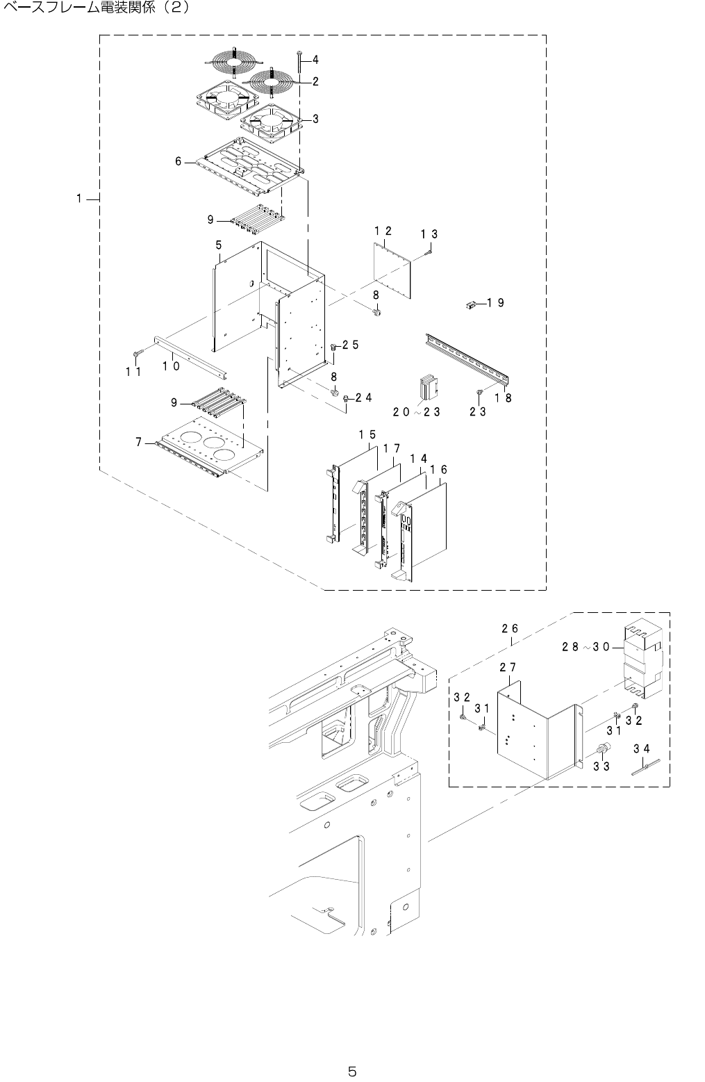
- - REF.NO NOTE PARTNO DESCRIPTION Qty 1 402-06690 ASM_JM100_E_BASE_PLATE_ASSY 1 2 402-06496 E_BASE_PLATE_R (1) 3 402-06495 E_BASE_PLATE_F (1) 4 HX-0018800-0F GROMMET (1) 5 SL-6052592-TN SCREWM5L=25 …

- -
2. BASEFRAMEELECTRICAPPARATUSCOMPONENTS(1)

- -
REF.NO NOTE PARTNO DESCRIPTION Qty
1 402-06690 ASM_JM100_E_BASE_PLATE_ASSY 1
2 402-06496 E_BASE_PLATE_R (1)
3 402-06495 E_BASE_PLATE_F (1)
4 HX-0018800-0F GROMMET (1)
5 SL-6052592-TN SCREWM5L=25 (8)
6 402-06691 ASM_JM100_DUCT_ASSY 1
7 400-94479 DUCT_30_60_200 (22)
8 400-32368 DUCT40-60-125 (2)
9 401-59198 CABLEDUCTW60L370 (4)
10 SL-4040691-SC SCREWM4L=6 (56)
11 402-06692 ASM_JM100_FAN_MOTOR_ASSY 4
12 401-08337 FAN_BR (1)
13 401-89090 DCFANASM (1)
14 SL-3061232-TN SCREWM6L=12 (2)
15 SL-4033091-SC SCREWM3L=30 (2)
16 402-06702 ASM_JM100_TRANS_UNIT 1
17 HN-0040100-00 NOISEFILTER (1)
18 SL-6040692-TN SCREWM4L=6 (2)
19 401-91280 TRANSFORMER (1)
20 SM-9122003-SC SCREWM12L=20 (2)
21 400-94475 BPWASHER (2)
22 401-99454 TRANS_SCREW_RS (2)
23 401-82998 TRANS_BRACKET (1)
24 SM-6124502-TN SCREWM12L=45 (4)
25 400-44814 WASHERPLATE (4)
26 400-94475 BPWASHER (4)
27 NM-6120001-SE NUTM12X1.75TYPE1 (4)
28 402-06710 ASM_JM100_AC_INPUT_UNIT 1
29 HK-0895500-30 BLOCKTERMINAL (1)
30 SL-4041491-SC SCREWM4L=14 (2)
31 401-82379 NOISEFILTER (1)
32 SL-6040692-TN SCREWM4L=6 (4)

- -
3. BASEFRAMEELECTRICAPPARATUSCOMPONENTS(2)