主机系统N7201A477C.pdf - 第41页
RL132 主机系统 2.6 通信切断时的处理方法 DA9HCC-4A-201-A0 2.6-2 2.6.2 主机侧处于等待接受信号的状态下电缆断线时 在主机侧等待接受信号的状态下电缆 被切断。 等待接受信号 发送指令时检测到电缆被切断后,就 自动关闭 连接。 等待接受信号 等待接受信号 C2HB 请用 C2HB 指令检测出断线。 清除前次的连接 要求连接 请清除前次的连接,并要求进行连接 。 对于连接的要求,建立新的连接。 新的连接新…

RL132
主机系统
2.6 通信切断时的处理方法
DA9HCC-4A-201-A0
2.6-1
2.6. 通信切断时的处理方法
DA9HCC-4A-201-A0
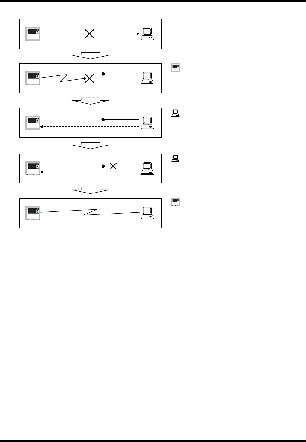
本节所使用的图形记号的意义
:设备侧
:主机侧 (上位)
2.6.1 在设备侧等待接受信号的状态下电缆被切断时
在设备侧等待接受信号的状态下电缆被切断。
等待接受信号
如送信时检测到电缆被切断时,请关闭连接。
因不能检测到上位的连接结束,所以仍然处于
等待接受信号的状态。
等待接受信号
请要求进行连接。
等待接受信号
要求连接
自动清除前次的连接,对于连接的要求建立新
的连接。
清除前次的连接
新的连接

RL132
主机系统
2.6 通信切断时的处理方法
DA9HCC-4A-201-A0
2.6-2
2.6.2 主机侧处于等待接受信号的状态下电缆断线时
在主机侧等待接受信号的状态下电缆被切断。
等待接受信号
发送指令时检测到电缆被切断后,就自动关闭
连接。
等待接受信号
等待接受信号
C2HB
请用 C2HB 指令检测出断线。
清除前次的连接
要求连接
请清除前次的连接,并要求进行连接。
对于连接的要求,建立新的连接。
新的连接新的连接

RL132
主机系统
3. 指令一览
DA9HCC-4A-CC1-A0
3-1
3. 指令一览