167152 Issue 2 - Maintenance Manual - 第65页
PREVENTIVE MAINTENANCE CLEANING, LUBRICATION A ND MAINTENA NCE DIAGRAMS Chapter Issue 2, July 16 Maintenance Manual 1.57 Print Carriage Figure 1-5 Plan V iew on Print Carriage Item Description 1 Print Carriage Linear Bea…

PREVENTIVE MAINTENANCE
CLEANING, LUBRICATION AND MAINTENANCE DIAGRAMS
1.56 Maintenance Manual Chapter Issue 2, July 16
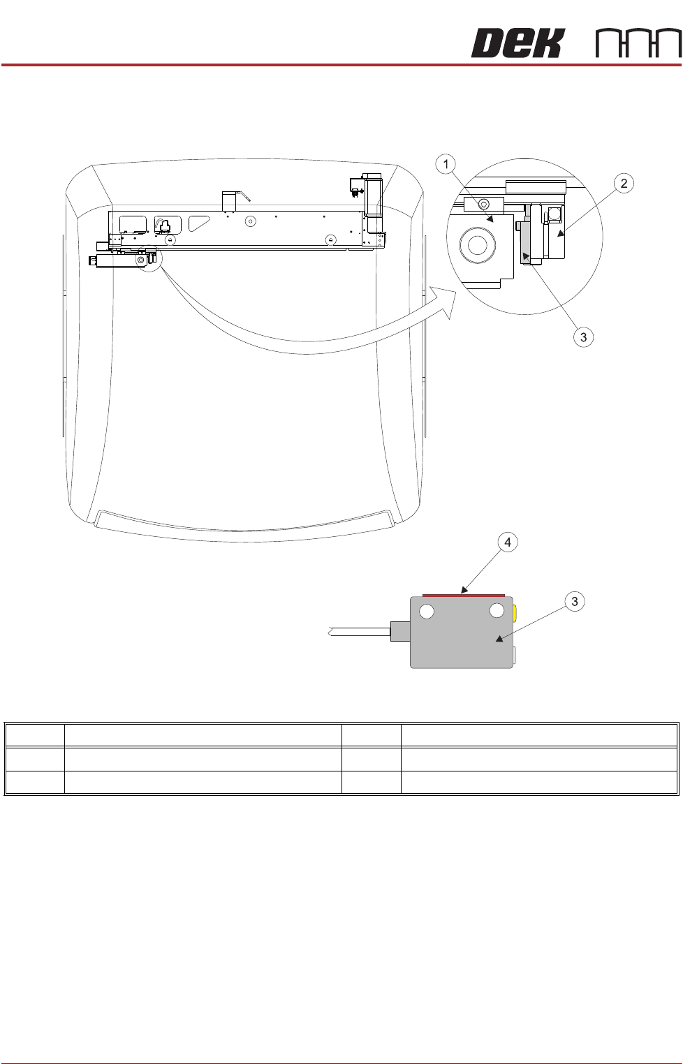
Board At Stop Opto
Figure 1-4 Plan View on Camera Carriage
Item Description Item Description
1 Camera 3 Board at Stop Opto
2 Board Stop 4 Area to be cleaned

PREVENTIVE MAINTENANCE
CLEANING, LUBRICATION AND MAINTENANCE DIAGRAMS
Chapter Issue 2, July 16 Maintenance Manual 1.57
Print Carriage
Figure 1-5 Plan View on Print Carriage
Item Description
1 Print Carriage Linear Bearing Guides

PREVENTIVE MAINTENANCE
CLEANING, LUBRICATION AND MAINTENANCE DIAGRAMS
1.58 Maintenance Manual Chapter Issue 2, July 16
Camera System (Rotary)
Figure 1-6 Top View of Camera System
Item Description Item Description
1 Camera Y Belt 4 Camera X Belt
2 Y Axis Linear Bearing Guides 5 X Axis Linear Bearing Guide
3 Camera Lenses