KE-3010_KE-3020V_KE-3020VR-Rev04 - 第117页
- 10 8 - N OT E( 注記 ) # 0 1....T YPE M M 仕様 # 0 2....T YPE L L 仕様 * INS TAL LAT I ON PO SI TION A ND DI R ECT IO N VA RY I F THE P WB TR ANS FER R EF EREN CE I S D I FF E REN T. 基板搬送基準が異なると取付位置、方向が変わります。 REF .NO N O TE P…

- 107 -
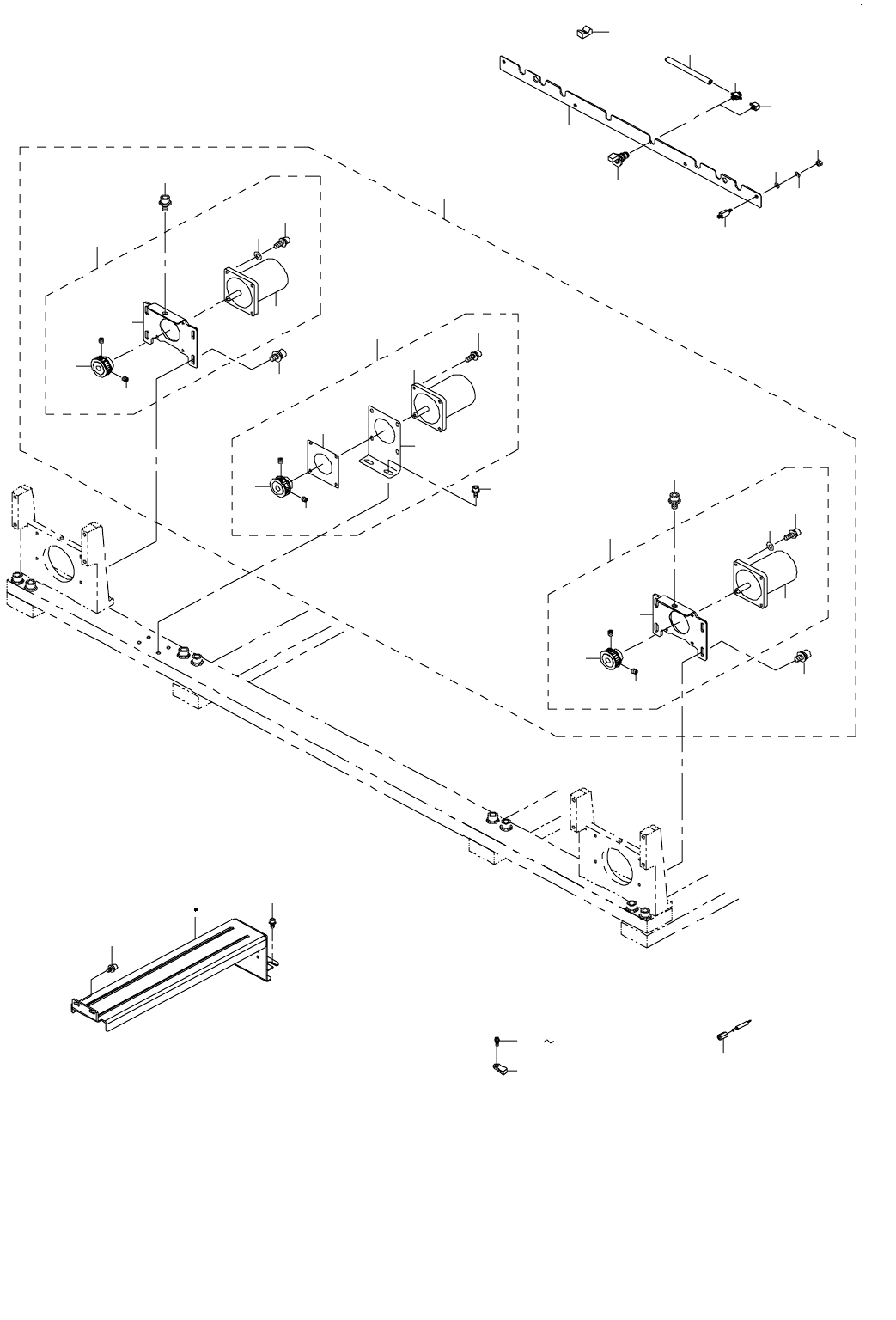
54.PWB CONVEYOR COMPONENTS(6)
基板搬送関係(6)
18
18
1 2
14
3
12
4
12
39
33
16
15
17
13
20
19
31
32
28
30
29
22
27
26
25
24
34
38
16
15
14
17
13
20
19
6
5
9
7
10
11
23
21
8

- 108 -
NOTE( 注記 ) #01....TYPE M M 仕様
#02....TYPE L L 仕様
*INSTALLATION POSITION AND DIRECTION VARY IF THE PWB TRANSFER
REFERENCE IS DIFFERENT.
基板搬送基準が異なると取付位置、方向が変わります。
REF.NO NOTE PART NO D E S C R I P T I O N
品 名
Qty
1
#02
401-13944 RAIL SUPPORT L
レールサポート L
1
2
#01
401-13939 RAIL SUPPORT M
レールサポート M
1
3 400-93940 CONVEYOR MOTOR ASM L
コンベアモータ組 L
1
4 400-93941 CONVEYOR MOTOR C ASM L
コンベアモータ C 組 L
(1)
5 400-00870 MOTOR PULLEY C
モータプーリ C
(1)
6 SM-8030602-TP SCREW M3X0.5 L=6
止めねじ M 3 X 0.5 L =6
(3)
7 400-00869 MOTOR ADJUST PLATE
モータアジャストプレート
(1)
8 400-48074 CENTER MOTOR ASM
センタモータ組
(1)
9 SL-6041242-TN BOLT
座金付き六角穴ボルト
(4)
10 400-01009 MOTOR BRAKET C(L)
モータブラケット C(L)
(1)
11 SL-6051292-TN BOLT
座金付き六角穴ボルト
(2)
12 400-93942 CONVEYOR MOTOR LR ASM L
コンベアモータ LR 組 L
(2)
13 400-48074 CENTER MOTOR ASM
センタモータ組
(2)
14 SM-4054501-SC SCREW M5X0.8 L=45
なべ小ねじ M 5 X 0.8 L =45
(4)
15 400-00870 MOTOR PULLEY C
モータプーリ C
(1)
16 SM-8030602-TP SCREW M3X0.5 L=6
止めねじ M 3 X 0.5 L =6
(3)
17 400-46034 MOTOR BRACKET S(6)
ばね座金 S(6)
(1)
18 WS-0510002-KN SPRING WASHER M5
ばね座金 M 5
(4)
19 SL-6051492-TN BOLT
座金付き六角穴ボルト
(2)
20 SL-6051092-TN BOLT
座金付き六角穴ボルト
(8)
21 SL-6051092-TN BOLT
座金付き六角穴ボルト
2
22 400-99522 PUSHER PLATE L
プッシャプレート L
1
23 SL-6041092-TN SCREW
座金付き六角穴ボルト
2
24 E2165-721-000 PUSHER SPACER
プッシャスペーサ
4
25 WP-0430801-SC WASHER M4
平座金 M 4
4
26 WS-0410002-KN SPRING WASHER M4
ばね座金 M 4
4
27 NM-6040001-SC NUT M4X0.7 TYPE1
六角ナット M 4 X 0.7 1種
4
28 401-23832 Y PUSHER V ASM
Y プッシャ V 組
5
29 PJ-0460525-01 ELBOW
バーブエルボ
1
30 PJ-0460590-05 CONNECTOR
バーブ継ぎ手
4
31 HX-0029400-00 FIXED BASE
固定ベース
1
32 BT-0400251-EA TUBE HOSE, BLUE
ウレタンホース 青
0.3
33 HX-0034400-00 HARNESS PARTS
束線パーツ
3
34 SL-6030692-TN SCREW M3 L=6
座金付き六角穴ボルト M 3 L =6
3
35 SL-6030692-TN SCREW M3 L=6
座金付き六角穴ボルト M 3 L =6
2
36 SL-6031092-TN SCREW
座金付き六角穴ボルト
1
37 SL-6031092-TN SCREW
座金付き六角穴ボルト
2
38 SL-6030692-TN SCREW M3 L=6
座金付き六角穴ボルト M 3 L =6
1
39 400-46992 FIBER NUT
ファイバナット
3

- 109 -
55.PWB CONVEYOR COMPONENTS(7)
基板搬送関係(7)
25
23
23
26
9
10
11
18
19
7
8
8
6
20
22
24
12
13
14
15
16
17
21
17
12
24
14
13
27
44
45
46
6
48
4
2
1
5
2
4
1
5
3
47