KE-3010_KE-3020V_KE-3020VR-Rev04 - 第123页
- 11 4 - N OT E( 注記 ) # 01 ....UN T IL M / C REV.D マシン REV.D まで # 02 ....AFTER M/ C RE V .E マシン REV.E 以降 * INS TAL LAT I ON PO SI TION A ND DI R ECT IO N VA RY I F THE P WB TR ANS FER R EF EREN CE I S D I FF E REN T. 基板搬…

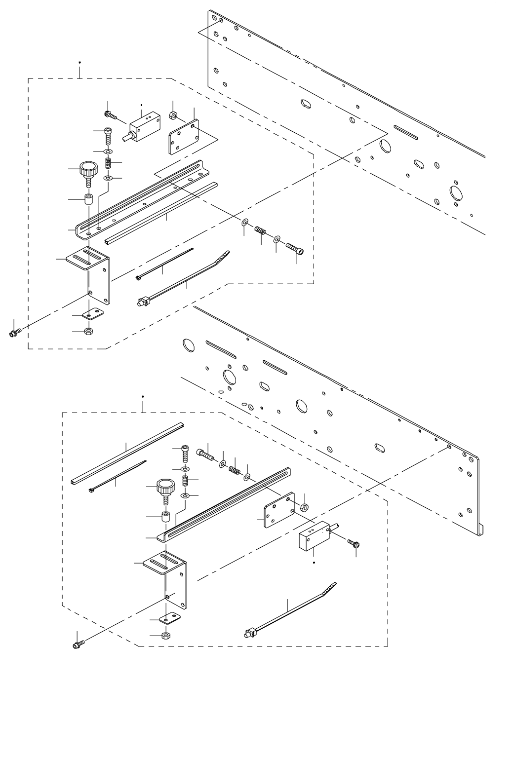
- 113 -
57.PWB CONVEYOR COMPONENTS(9)
基板搬送関係(9)
5
13 14
32
3
19 20
1 2
37
37
31
16
15
30
18
36
28
29
12
25
26
11
11
7
27
33
34
27
26
26
25
24
23
22
35
21
12
26
11
11
10
10
22
9
7
8
6
4
17

- 114 -
NOTE( 注記 ) #01....UNTIL M/C REV.D マシン REV.D まで
#02....AFTER M/C REV.E マシン REV.E 以降
*INSTALLATION POSITION AND DIRECTION VARY IF THE PWB TRANSFER
REFERENCE IS DIFFERENT.
基板搬送基準が異なると取付位置、方向が変わります。
REF.NO NOTE PART NO D E S C R I P T I O N
品 名
Qty
1
#01
401-10120 LEFT SENS UNIT
レフトセンサユニット
1
2
#02
401-35829 LEFT_SENS_UNIT
レフトセンサユニット
1
3 HX-0044000-00 CABLE BAND
束線バンド
(1)
4 400-01078 SENSOR BRACKET B
センサブラケット B
(1)
5 401-13943 SIDE SENSOR BR
サイドセンサ BR
(1)
6 400-01076 SENSOR SLIDE PLATE
センサスライドプレート
(1)
7 400-00912 SENSOR ADJUST SPRING
センサアジャストスプリング
(3)
8 G6518-880-000 SET PICK-UP
セットつまみ
(1)
9 400-58815 SPACER
スペーサ
(1)
10 SM-6041602-TN SCREW M4 X 16
六角穴ボルト M 4 X 0.7 L =16
(3)
11 WP-0430801-SC WASHER M4
平座金 M 4
(6)
12 NM-6040002-SE NUT M4X0.7
六角ナット M 4 X 0.7 2種
(3)
13
#01
401-10063 LEFT SENS ASM
LEFT センサ組
(1)
14
#02
401-35828 LR WAIT COUT SENS ASM
LR ウェイト COUT センサ組
(1)
15 HX-0036700-0A BUSH
ブッシュ
(0.16)
16 EA-9500B00-00 CABLE BAND
結束バンド 60
(5)
17 401-10108 SENSOR BRACKET A
センサ BR A
(1)
18 SL-4031091-SC SCREW M3 L=10
座金付きなべ小ねじ M 3 L =10
(2)
19
#01
401-10121 RIGHT SENS UNIT
ライトセンサユニット
1
20
#02
401-35830 RIGHT_SENS_UNIT
ライトセンサユニット
1
21 400-01076 SENSOR SLIDE PLATE
センサスライドプレート
(1)
22 400-00912 SENSOR ADJUST SPRING
センサアジャストスプリング
(3)
23 G6518-880-000 SET PICK-UP
セットつまみ
(1)
24 400-58815 SPACER
スペーサ
(1)
25 SM-6041602-TN SCREW M4 X 16
六角穴ボルト M 4 X 0.7 L =16
(3)
26 WP-0430801-SC WASHER M4
平座金 M 4
(6)
27 NM-6040002-SE NUT M4X0.7
六角ナット M 4 X 0.7 2種
(3)
28
#01
401-10067 RIGHT SENS ASM
ライトセンサ組
(1)
29
#02
401-35828 LR WAIT COUT SENS ASM
LR ウェイト COUT センサ組
(1)
30 HX-0036700-0A BUSH
ブッシュ
(0.16)
31 EA-9500B00-00 CABLE BAND
結束バンド 60
(5)
32 HX-0044000-00 CABLE BAND
束線バンド
(1)
33 400-01078 SENSOR BRACKET B
センサブラケット B
(1)
34 401-13943 SIDE SENSOR BR
サイドセンサ BR
(1)
35 401-10108 SENSOR BRACKET A
センサ BR A
(1)
36 SL-4031091-SC SCREW M3 L=10
座金付きなべ小ねじ M 3 L =10
(1)
37 SL-6031092-TN SCREW
座金付き六角穴ボルト
4

- 115 -
58.PWB CONVEYOR COMPONENTS(10)
基板搬送関係(10)
18 23
31
29
30
28
27
24 26
33
1
31
43
1
17
36
35
34
15
2
3
37
12
11
12
11
12
11
4
42
14
8
5
32
16
6
7
13
39
10
9
38
41
40