KE-3010_KE-3020V_KE-3020VR-Rev04 - 第136页
- 12 7 - 64 . P W B CO NVE YO R CO MP ON E NT S ( 16 )( TY PE XL ) 基板搬送関係(16) (XL 仕様) 26 25 23 24 22 16 26 25 23 24 22 16 20 20 26 2 21 21 1 1 2 12 9 4 6 5 7 11 10 8 10 13 5 14 6 7 11 14 15 27 27 19 27 28 25 23 29 24 22 …

- 126 -
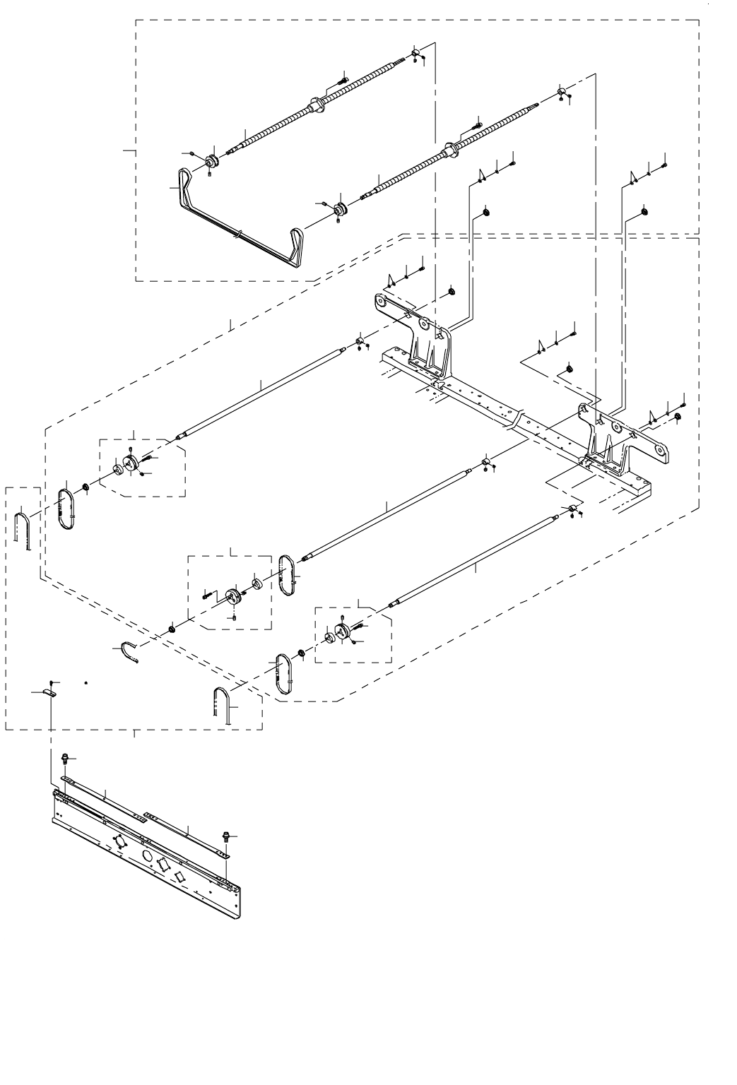
NOTE( 注記 ) *INSTALLATION POSITION AND DIRECTION VARY IF THE PWB TRANSFER
REFERENCE IS DIFFERENT.
基板搬送基準が異なると取付位置、方向が変わります。
REF.NO NOTE PART NO D E S C R I P T I O N
品 名
Qty
1 400-98170 RAIL_PLATE_RR_ASM_XL
レールプレート RR 組 XL
1
2 400-98118 RAIL_PLATE_RR_XL
レールプレート RR _ XL
(1)
3 400-98129 CONVEYOR_RAIL_XL
コンベアレール_ XL
(1)
4 SB-8200001-00 BEARING
ころがり軸受
(2)
5 SM-4040855-SC SCREW
なべ小ねじ M 4 L =8
(2)
6 E2089-721-0A0 CONVEYOR PULLEY B ASM.
搬送プーリ B 組
(1)
7 E2055-721-000 PULLEY SPACER
プーリスペーサ
(1)
8 SM-4042501-SC SCREW M4X0.7 L=25
なべ小ねじ M 4 X 0.7 L =25
(2)
9 WP-0430801-SC WASHER M4
平座金 M 4
(2)
10 WS-0410002-KN SPRING WASHER M4
ばね座金 M 4
(2)
11 NM-6040001-SC NUT M4X0.7 TYPE1
六角ナット M 4 X 0.7 1種
(2)
12 SM-6051002-TN BOLT
六角穴ボルト
(8)
13 400-00839 DRIVE PULLEY R ASM
ドライブプーリ R 組
(2)
14 400-00840 DRIVE PULLEY R
ドライブプーリ R
(1)
15 E2160-721-000 PULLEY FLANGE
プーリフランジ
(1)
16 SL-6030892-TN SCREW M3 L=8
座金付き六角穴ボルト M 3 L =8
(3)
17 SL-6030892-TN SCREW M3 L=8
座金付き六角穴ボルト M 3 L =8
(6)
18 E2160-721-000 PULLEY FLANGE
プーリフランジ
(2)
19 SL-6031492-TN SCREW M3 L=14
座金付き六角穴ボルト M 3 L =14
(4)
20 SL-6041092-TN SCREW
座金付き六角穴ボルト
(2)
21 E2111-715-0A0 CONVEYOR PULLEY ASM.
搬送プーリ(組)
(2)
22 WP-0430800-SC WASHER M4
平座金小形丸 M 4
(2)
23 400-98171 SUPPORT_PLATE_RR_ASM_XL
サポートプレート RR 組 XL
(1)
24 E2111-715-0A0 CONVEYOR PULLEY ASM.
搬送プーリ(組)
(6)
25 WP-0430800-SC WASHER M4
平座金小形丸 M 4
(6)
26 SM-4040855-SC SCREW
なべ小ねじ M 4 L =8
(6)
27 400-98120 SUPPORT_PLATE_RR_XL
サポートプレート RR _ XL
(1)
28 E2111-715-0A0 CONVEYOR PULLEY ASM.
搬送プーリ(組)
(1)
29 WP-0430800-SC WASHER M4
平座金小形丸 M 4
(1)
30 E3931-750-000 PULLEY WASHER
プーリスラストワッシャ
(4)
31 SL-6052092-TN SCREW
座金付き六角穴ボルト
2
32 400-98156 GUIDE_SHAFT_ASM_XL
ガイドシャフト 組 XL
4
33 400-97729 GUIDE_SHAFT_XL
ガイドシャフト XL
(1)
34 SL-6051292-TN BOLT
座金付き六角穴ボルト
(1)
35 SL-6052042-TN SCREW
座金付き六角穴ボルト
(1)
36 WP-0501046-SC WASHER 5 X 14 X 1
平座金 5 X 14 X 1
(2)
37 SL-6042092-TN SCREW M4 L=20
座金付き六角穴ボルト
4
38 400-98125 SUPPORT_PLATE_C_XL
サポートプレート C _ XL
2
39 E4024-725-000 RAIL STAND RR(E)
レールスタンド RR(E)
1
40 SL-6052092-TN SCREW
座金付き六角穴ボルト
2
41 E4023-725-000 RAIL STAND RL
レールスタンド RL(E)
1
42 400-98127 Y_PUSHER_GUARD_XL
Y プッシャガード_ XL
1
43 SL-6041692-TN SCREW
座金付き六角穴ボルト M 4 L =16
4

- 127 -
64.PWB CONVEYOR COMPONENTS(16)(TYPE XL)
基板搬送関係(16)(XL 仕様)
26
25
23
24
22
16
26
25
23
24
22
16
20
20
26
2
21
21
1
1
2
12
9
4
6
5
7
11
10
8
10
13
5
14
6
7
11
14
15
27
27
19
27
28
25
23
29
24
22
19
26
21
17
30
17
18
30
18
26
26
17
18
30
33
35
32
36
33
31
12
9
4
8
19
3
34

- 128 -
NOTE( 注記 ) *INSTALLATION POSITION AND DIRECTION VARY IF THE PWB TRANSFER
REFERENCE IS DIFFERENT.
基板搬送基準が異なると取付位置、方向が変わります。
REF.NO NOTE PART NO D E S C R I P T I O N
品 名
Qty
1 400-98130 PWB_GUIDE_U_XL
PWB ガイド U _ XL
8
2 SL-6031092-TN SCREW
座金付き六角穴ボルト
24
3 400-98157 SCREW_SHAFT_ASM_XL
スクリュウシャフト 組 XL
1
4 400-97730 SCREW_SHAFT_XL
スクリュウシャフト XL
(2)
5 SM-8040602-TP SCREW M4X0.7 L=6
止めねじ
(4)
6 WP-0330516-SC WASHER 3.3X8X0.5
平座金 3.3 X 8 X 0.5
(4)
7 SM-6030602-TN SCREW M3X6
六角穴ボルト M 3 X 6
(4)
8 E2141-721-000 STOPPER COLLAR
ストッパカラー
(2)
9 SM-8040402-TP SCREW M4X0.7 L=4
止めねじ M 4 X 0.7 L =4
(4)
10 E4085-725-000 PULLEY A(E)
プーリ A(E)
(2)
11 WP-0320500-SF WASHER 3.2X7X0.5
平座金小形丸 M 3
(8)
12 SL-6041692-TN SCREW M4 L=16
座金付き六角穴ボルト M 4 L =16
(8)
13 400-97733 DRIVE_BELT_C_XL
ドライブ_ベルト_ C _ XL
(1)
14 SB-1080002-00 SIDE BEARING
サイドベアリング
(4)
15 400-98160 DRIVE_SHAFT_ASM XL
ドライブシャフト組 XL
1
16 400-98131 DRIVE_SHAFT_S_XL
ドライブシャフト S _ XL
(2)
17 WP-0330516-SC WASHER 3.3X8X0.5
平座金 3.3 X 8 X 0.5
(6)
18 SM-6030602-TN SCREW M3X6
六角穴ボルト M 3 X 6
(6)
19 E2141-721-000 STOPPER COLLAR
ストッパカラー
(3)
20 400-00852 DRIVE BELT S
ドライブベルト S
(2)
21 400-00849 DRIVE PULLEY F ASM
ドライブプーリ F 組
(3)
22 SL-6031642-TN SCREW
座金付き六角穴ボルト
(3)
23 400-00850 DRIVE PULLEY F
ドライブプーリ F
(1)
24 SM-8040602-TP SCREW M4X0.7 L=6
止めねじ
(2)
25 400-00851 MOTOR PULLEY B
モータプーリ B
(1)
26 SB-1080002-00 SIDE BEARING
サイドベアリング
(6)
27 SM-8040402-TP SCREW M4X0.7 L=4
止めねじ M 4 X 0.7 L =4
(6)
28 400-98132 DRIVE_SHAFT_C_XL
ドライブシャフト C _ XL
(1)
29 400-01005 DRIVE BELT C(L)
ドライブベルト C(L)
(1)
30 WP-0320500-SF WASHER 3.2X7X0.5
平座金小形丸 M 3
(12)
31 400-98172 CONVEYOR_BELT_ASM_XL
コンベアベルト組 XL
1
32 SL-6031092-TN SCREW
座金付き六角穴ボルト
(16)
33 400-97731 CONVEYOR_BELT_S_XL
コンベアベル_ S _ XL
(4)
34 400-97732 CONVEYOR_BELT_C_XL
コンベアベル_ C _ XL
(2)
35 E2046-725-000 PWB INNER
PWB インナ
(12)
36 SL-4031091-SC SCREW M3 L=10
座金付きなべ小ねじ M 3 L =10
(8)