KE-3010_KE-3020V_KE-3020VR-Rev04 - 第166页
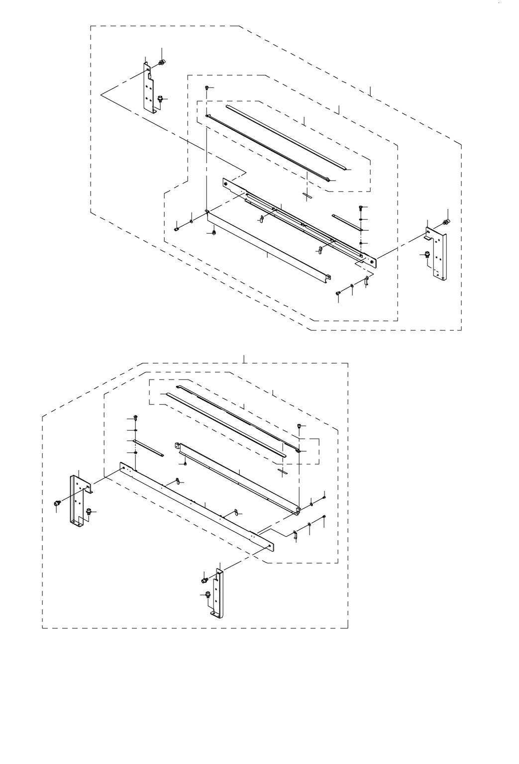
- 15 7 - 79 .FPI CO MPON E NT S (2)( T Y P E XL) FPI 関係(2) (XL 仕様) 4 5 5 6 7 8 9 12 13 14 15 16 18 3 2 22 21 21 33 34 32 38 39 40 25 36 26 27 28 29 31 35 42 44 43 44 25 24 23 37 1 17 11 20 21 21 44 44 10 19 10 30 30 41

- 156 -
REF.NO NOTE PART NO D E S C R I P T I O N
品 名
Qty
1 401-14946 FPI F ASM
FPI フロント組
1
2 401-14948 FPI F SUB ASM
FPI フロントサブ組
(1)
3 401-10740 FPI BR B
FPI ブラケット B
(1)
4 401-10741 FPI COVER B
FPI カバー B
(1)
5 SM-6030402-TN SCREW M3X4
六角穴付きボルト M 3 X 4
(9)
6 WP-0320501-SC WASHER M3
平座金 M 3
(4)
7 E6025-729-0A0 FPI COVER U20 ASM
FPI カバー U 20組
(1)
8 E6025-729-000 FPI COVER U20
FPI カバー U 20
(1)
9 E6028-729-000 FPI PLATE U20
FPI プレート20
(1)
10 SM-6030402-TN SCREW M3X4
六角穴付きボルト M 3 X 4
(2)
11 400-94870 HARNESS CLAMP A
ハーネスクランプ A
(2)
12 SM-6030402-TN SCREW M3X4
六角穴付きボルト M 3 X 4
(2)
13 WP-0320501-SC WASHER M3
平座金 M 3
(2)
14 E8626-729-0A0 FPI LED BOARD ASM.
FPI LED 基板組
(4)
15 SM-5030801-SC SCREW M3X0.5 L=8
バインド小ねじ M 3 X 0.5 L =8
(8)
16 E2143-715-000 TIMER SPACER A
タイマスペーサ A
(8)
17 E4901-760-000 POLY SLIDER THRUST WASHER
ポリスライダスラストワッシャ
(8)
18 E6033-729-000 FPI INSULATION SHEET
FPI 絶縁シート
(0.2)
19 401-10738 FPI BR F
FPI ブラケット F
(2)
20 SL-6051292-TN SCREW M5 L=12
座金付き六角穴ボルト M 5 L =12
(4)
21 SL-6061292-TN SCREW M6 L=12
座金付き六角穴ボルト M 6 L =12
(2)
22 401-14946 FPI F ASM
FPI フロント組
1
23 401-14948 FPI F SUB ASM
FPI フロントサブ組
(1)
24 401-10740 FPI BR B
FPI ブラケット B
(1)
25 401-10741 FPI COVER B
FPI カバー B
(1)
26 SM-6030402-TN SCREW M3X4
六角穴付きボルト M 3 X 4
(9)
27 WP-0320501-SC WASHER M3
平座金 M 3
(4)
28 E6025-729-0A0 FPI COVER U20 ASM
FPI カバー U 20組
(1)
29 E6025-729-000 FPI COVER U20
FPI カバー U 20
(1)
30 E6028-729-000 FPI PLATE U20
FPI プレート20
(1)
31 SM-6030402-TN SCREW M3X4
六角穴付きボルト M 3 X 4
(2)
32 400-94870 HARNESS CLAMP A
ハーネスクランプ A
(2)
33 SM-6030402-TN SCREW M3X4
六角穴付きボルト M 3 X 4
(2)
34 WP-0320501-SC WASHER M3
平座金 M 3
(2)
35 E8626-729-0A0 FPI LED BOARD ASM.
FPI LED 基板組
(4)
36 SM-5030801-SC SCREW M3X0.5 L=8
バインド小ねじ M 3 X 0.5 L =8
(8)
37 E2143-715-000 TIMER SPACER A
タイマスペーサ A
(8)
38 E4901-760-000 POLY SLIDER THRUST WASHER
ポリスライダスラストワッシャ
(8)
39 E6033-729-000 FPI INSULATION SHEET
FPI 絶縁シート
(0.2)
40 401-10738 FPI BR F
FPI ブラケット F
(2)
41 SL-6051292-TN SCREW M5 L=12
座金付き六角穴ボルト M 5 L =12
(4)
42 SL-6061292-TN SCREW M6 L=12
座金付き六角穴ボルト M 6 L =12
(2)

- 157 -
79.FPI COMPONENTS(2)(TYPE XL)
FPI 関係(2)(XL 仕様)
4
5
5
6
7
8
9
12
13
14
15
16
18
3
2
22
21
21
33
34
32
38
39
40
25
36
26
27
28
29
31
35
42
44
43
44
25
24
23
37
1
17
11
20
21
21
44
44
10
19
10
30
30
41

- 158 -
REF.NO NOTE PART NO D E S C R I P T I O N
品 名
Qty
1 400-71448 FPI 3020 FRONT ASSY
FP 3020フロント組
1
2 400-94866 FPI_ASSY_F
FPI _組_ F
(1)
3 400-94868 FPI_BRACKET_B
FPI _ブラケット_ B
(1)
4 400-94869 FPI_COVER_B
FPI _カバー_ B
(1)
5 SM-6030402-TN SCREW M3X4
六角穴付きボルト M 3 X 4
(7)
6 E6025-729-0A0 FPI COVER U 20 ASM.
FPI カバー U 20組
(1)
7 E6025-729-000 FPI COVER U 20
FPI カバー U 20
(1)
8 E6028-729-000 FPI PLATE 20
FPI プレート20
(1)
9 SM-6030402-TN SCREW M3X4
六角穴付きボルト M 3 X 4
(2)
10 400-94870 HARNESS_CLAMP_A
ハーネス_クランプ_ A
(2)
11 SM-6030402-TN SCREW M3X4
六角穴付きボルト M 3 X 4
(4)
12 E8626-729-0A0 FPI LED BOARD ASM.
FPI LED 基板組
(4)
13 SM-5030801-SC SCREW M3X0.5 L=8
バインド小ねじ M 3 X 0.5 L =8
(8)
14 E2143-715-000 TIMER SPACER A
タイマ スペーサ A
(8)
15 E4901-760-000 POLY SLIDER THRUST WASHER
ポリスライダスラストワッシャ
(8)
16 WP-0320501-SC WASHER M3
平座金 3.2 X 7 X 0.5
(2)
17 WP-0320501-SC WASHER M3
平座金 3.2 X 7 X 0.5
(4)
18 E6033-729-000 FPI INSULATION SHEET
FPI 絶縁シート
(0.2)
19 400-94871 HARNESS_CLAMP_B
ハーネス_クランプ_ B
(2)
20 400-94872 FPI_SIDE_BRACKET_L
FPI _サイド_ブラケット_ L
(1)
21 SL-6061292-TN SCREW
座金付き六角穴ボルト
(6)
22 400-94873 FPI_SIDE_BRACKET_R
FPI _サイド_ブラケット_ R
(1)
23 400-71449 FPI 3020 REAR ASSY
FPI 3020リア組
1
24 400-94867 FPI_ASSY_R
FPI _組_ R
(1)
25 SM-6030402-TN SCREW M3X4
六角穴付きボルト M 3 X 4
(7)
26 E6025-729-0A0 FPI COVER U 20 ASM.
FPI カバー U 20組
(1)
27 E6025-729-000 FPI COVER U 20
FPI カバー U 20
(1)
28 E6028-729-000 FPI PLATE 20
FPI プレート20
(1)
29 SM-6030402-TN SCREW M3X4
六角穴付きボルト M 3 X 4
(2)
30 400-94870 HARNESS_CLAMP_A
ハーネス_クランプ_ A
(2)
31 SM-6030402-TN SCREW M3X4
六角穴付きボルト M 3 X 4
(4)
32 E8626-729-0A0 FPI LED BOARD ASM.
FPI LED 基板組
(4)
33 SM-5030801-SC SCREW M3X0.5 L=8
バインド小ねじ M 3 X 0.5 L =8
(8)
34 E2143-715-000 TIMER SPACER A
タイマ スペーサ A
(8)
35 E4901-760-000 POLY SLIDER THRUST WASHER
ポリスライダスラストワッシャ
(8)
36 WP-0320501-SC WASHER M3
平座金 3.2 X 7 X 0.5
(2)
37 WP-0320501-SC WASHER M3
平座金 3.2 X 7 X 0.5
(4)
38 E6033-729-000 FPI INSULATION SHEET
FPI 絶縁シート
(0.2)
39 400-94868 FPI_BRACKET_B
FPI _ブラケット_ B
(1)
40 400-94869 FPI_COVER_B
FPI _カバー_ B
(1)
41 400-94871 HARNESS_CLAMP_B
ハーネス_クランプ_ B
(2)
42 400-94872 FPI_SIDE_BRACKET_L
FPI _サイド_ブラケット_ L
(1)
43 400-94873 FPI_SIDE_BRACKET_R
FPI _サイド_ブラケット_ R
(1)
44 SL-6061292-TN SCREW
座金付き六角穴ボルト
(6)