KE-3010_KE-3020V_KE-3020VR-Rev04 - 第33页
- 24 - REF .NO N O T E PA RT NO D E S C R I P T I O N 品 名 Q ty 1 4 0 0-9 4 71 0 AT X_ UN IT ATX ユニット 1 2 4 0 0-9 4 71 1 AT X_ PSU_ U NIT ATX _ PSU _ユニット (1) 3 4 0 0-4 8 00 6 AT X PSU ATX 電源 (1) 4 4 0 0-9 4 39 1 AT X_ BR …

- 23 -
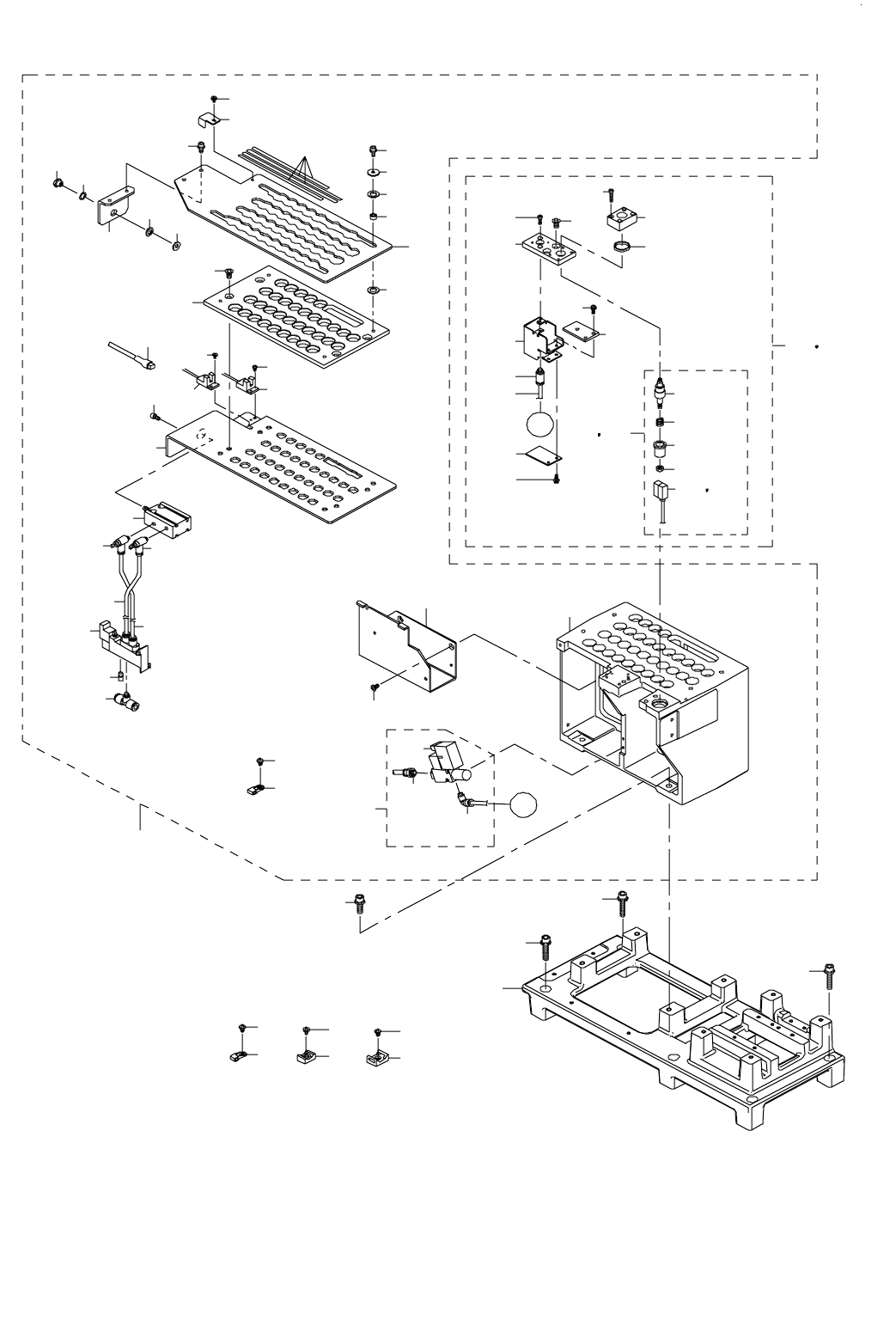
12.BASE FRAME ELECTRIC APPARATUS COMPONENTS(8)(TYPE XL)
ベースフレーム電装関係(8)(XL 仕様)
5
8
3
4
6
7
8
2
12
16
12
11
11
9
10
13
19
20
21
22
23
23
23
18
25
24
26
17
36
37
39
40
39
40
41
41
42
35
46
46
48
44
49
43
50
53
54
57
56
47
45
55
56
58
59
14
28
29
34
32
31
33
31
33
32
51
30
38
15
66
66
80
81
76
75
77
78
A
65
73
74
65
73
71
72
68
64
61
63
66
78
62
79
68
60
65
73
72
71
69
70
67
1
A
27
52

- 24 -
REF.NO NOTE PART NO D E S C R I P T I O N
品 名
Qty
1 400-94710 ATX_UNIT
ATX ユニット
1
2 400-94711 ATX_PSU_UNIT ATX _ PSU _ユニット (1)
3 400-48006 ATX PSU
ATX 電源
(1)
4 400-94391 ATX_BR
ATX _ブラケット
(1)
5 400-48047 I NCH SCREW
インチスクリュー
(4)
6 SL-6040892-TN BOLT
座金付き六角穴ボルト
(2)
7 HX-0029400-00 FIXED BASE 固定ベース (2)
8 SL-4030891-SC SCREW M3X8
なべ小ねじ セムス M 3 L =8
(4)
9 400-94712 ATX_BATTERY_UNIT
ATX _バッテリーユニット
(1)
10 400-48007 BATTERY UNIT
バッテリユニット
(1)
11 400-94392 ATX_BATTERY UNIT
ATX _バッテリーブラケット
(2)
12 400-48047 INCH SCREW インチスクリュー (8)
13 E1038-871-000 PLATEN LOCK CAM SCREW
プラテン ロックカム スクリュウ
2
14 SL-4040891-SC SCREW M4 L=8
座金付きなべ小ねじ M 4 L =8
2
15 E1038-871-000 PLATEN LOCK CAM SCREW
プラテン ロックカム スクリュウ
2
16 SL-6040892-TN BOLT
座金付き六角穴ボルト
2
17 400-94714 STP_MOTOR_DRIVER_UNIT STP モータードライバユニット 1
18 400-94352 STEPPING_DRIVER_BR
ステッピングドライバブラケット
(1)
19 HM-0013200-00 MOTOR DRIVER
モータドライバ
(3)
20 SL-4030691-SC SCREW M3 L=6
座金付きなべ小ねじ M 3 L =6
(6)
21 400-94524 STEPPING_DRIVER_COVER
ステッピングドライバカバー
(1)
22 400-94925 MSC_PCB_BR マグネスケール PCB ブラケット (1)
23 SL-6030692-TN SCREW M3 L=6
座金付き六角穴ボルト M 3 L =6
(6)
24 HX-0029400-00 FIXED BASE
固定 ベース
(4)
25 SL-4030691-SC SCREW M3 L=6
座金付きなべ小ねじ M 3 L =6
(4)
26 400-95130 MAGNETIC SCALE PCB ASM
マグネスケール基板組
(1)
27 400-94729 BASE_CARRY_PCB_UNIT ベース搬送 PCB ユニット 1
28 400-94468 PCB_PLATE_IO
PCB プレート_ IO
(1)
29 400-71680 BASE IO PCB ASM
ベース IO 基板組
(1)
30 400-47557 ETHER-SLAVE PCB ASM
ETHER − SLAVE 基板組
(1)
31 HX-0041800-0C SPACER
スペーサ
(14)
32 SL-4030891-SC SCREW M3X8 なべ小ねじセムス M 3 L =8 (18)
33 SL-4030691-SC SCREW M3 L=6
座金付きなべ小ねじ M 3 L =6
(10)
34 SL-4030891-SC SCREW M3X8
なべ小ねじセムス M 3 L =8
4
35 400-94730 XY_RELAY_PCB_UNIT
XY リレー PCB ユニット
1
36 400-94469 PCB_PLATE_XY
PCB プレート XY
(1)
37 400-71676 XY RELAY PCB ASM
XY リレー基板組
(1)
38 400-47557 ETHER-SLAVE PCB ASM ETHER − SLAVE 基板組 (1)
39 HX-0041800-0C SPACER
スペーサ
(14)
40 SL-4030691-SC SCREW M3 L=6
座金付きなべ小ねじ M 3 L =6
(10)
41 SL-4030891-SC SCREW M3X8
なべ小ねじセムス M 3 L =8
(18)
42 SL-4030891-SC SCREW M3X8
なべ小ねじセムス M 3 L =8
4
43 400-94731 LIGHT_CTRL_PCB_UNIT ライトコントロール PCB ユニット 1
44 400-94388 LIGHT_CTRL_PCB_BR
ライトコントロール PCB ブラケット
(1)
45 400-66579 LIGHT CTRL PCB ASM
ライトコントロール基板組
(1)
46 SL-4030691-SC SCREW M3 L=6
座金付きなべ小ねじ M 3 L =6
(10)
47 400-47557 ETHER-SLAVE PCB ASM
ETHER − SLAVE 基板組
(1)
48 HX-0041800-0C SPACER スペーサ (5)
49 SL-6030892-TN SCREW M3 L=8
座金付き六角穴ボルト M 3 L =8
(5)
50 SL-4040891-SC SCREW M4 L=8
座金付きなべ小ねじ M 4 L =8
2
51 E1038-871-000 PLATEN LOCK CAM SCREW
プラテン ロックカム スクリュウ
2
52 400-94732 FEEDER_PCB_UNIT
フィーダ PCB ユニット
1
53 400-94389 FEEDER_PCB_BR フィーダ PCB ブラケット (1)
54 400-47560 FEEDER PCB ASM
FEEDER 基板組
(1)
55 400-47557 ETHER-SLAVE PCB ASM
ETHER − SLAVE 基板組
(1)
56 SL-4030691-SC SCREW M3 L=6
座金付きなべ小ねじ M 3 L =6
(10)
57 HX-0041800-0C SPACER
スペーサ
(5)
58 SL-4030891-SC SCREW M3X8 なべ小ねじ セムス M 3 L =8 (6)
59 E1038-871-000 PLATEN LOCK CAM SCREW
プラテン ロックカム スクリュウ
2
60 400-94706 VACUUM_PUMP_COVER_ASM
バキュームポンプカバー組
1
61 400-94384 VP_COVER
VP カバー
(1)
62 400-94936 VP_COVER_E
VP カバー E
(1)
63 SL-6040892-TN BOLT 座金付き六角穴ボルト (4)
64 400-94935 VP_COVER_I
VP カバー I
(1)
65 SM-4040601-SC SCREW M4X0.7 L=6
なべ小ねじ M 4 X 0.7 L =6
(8)
66 HM-0003300-30 FAN GUARD
ファンガード
(3)
67 400-94387 LIGHT_CTRL_PCB_COVER
ライトコントロール_ PCB _カバー
(1)
68 SL-6040892-TN BOLT 座金付き六角穴ボルト (4)
69 400-94481 FAN_FIX_BR_L
ファン固定ブラケット_ L
(1)
70 SL-6040892-TN BOLT
座金付き六角穴ボルト
(2)
71 400-94390 CABLE_SUPPORT
ケーブルサポート
(2)
72 SL-6040892-TN BOLT
座金付き六角穴ボルト
(4)
73 HX-0029400-00 FIXED BASE 固定ベース (8)
74 SL-4040891-SC SCREW M4 L=8 座金付きなべ小ねじ M 4 L =8 (3)
75 WP-0320501-SC WASHER M3
平座金 3.2X7X0.5
2
76 NM-6030001-SC NUT M3X0.5 TYPE1
六角ナット M 3 X 0.5 1種
2
77 SL-6040892-TN BOLT
座金付き六角穴ボルト
4
78 400-92440 BASIC FAN ASM
ファン組
2
79 SL-4033091-SC SCREW M3 L=30 なべ小ねじ セムス M 3 X 0.5 L =30 2
80 SL-4033591-SC SCREW M3X35
セムスねじ
2
81 400-94480 FAN_BR
ファンブラケット
1

- 25 -
13.ATC & CAL BLOCK COMPONENTS(3020V)
ATC・CAL ブロック関係(3020 V)
68
68
68
46 47
50 51
5
4
44
45
63
62
61
64
66
2
4
4
3
A
59
57
53
48
49
52
58
56
55
54
60
65
1
10
16
6
21
28
22
A
43
43
18
9
8
29
7
67
15
14
42
10
41
41
39
40
31
32
34
33
23
22
20
17
19
12
11
13
38
37
36
35
30
24
25
26
27