KE-3010_KE-3020V_KE-3020VR-Rev04 - 第37页
- 28 - N OTE ( 注記 ) # 01....UNTIL M/C REV .D マシン REV.D まで #0 2 . . .. A FT E R M/C R E V.E マシン REV.E 以降 RE F.NO NOTE PA RT NO D E S C R I P T I O N 品 名 Q ty 1 401 -088 15 BA SE B RID GE 301 0 ベースブリッジ3010 1 2 HX - 003 440…

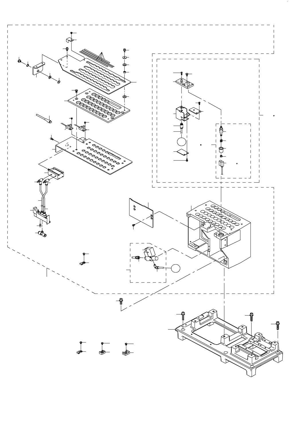
- 27 -
14.ATC & CAL BLOCK COMPONENTS(3010)
ATC・CAL ブロック関係(3010)
64
64
64
46 47
50 51
5
4
44
45
61
63
2
4
4
3
A
59
57
53
48
49
52
58
56
55
54
60
62
1
29
13
6
18
26
19
A
43
43
15
9
8
25
7
65
12
11
42
29
41
41
39
40
31
32
34
33
20
19
17
14
16
27
28
10
38
37
36
35
30
21
22
23
24

- 28 -
NOTE( 注記 ) #01....UNTIL M/C REV.D マシン REV.D まで
#02....AFTER M/C REV.E マシン REV.E 以降
REF.NO NOTE PART NO D E S C R I P T I O N
品 名
Qty
1 401-08815 BASE BRIDGE 3010
ベースブリッジ3010
1
2 HX-0034400-00 HARNESS PARTS
束線パーツ
2
3 HX-0029400-00 FIXED BASE
固定ベース
5
4 SM-4040601-SC SCREW M4X0.7 L=6
なべ小ねじ M 4 X 0.7 L =6
12
5 HX-0045400-00 TIE MOUNT
タイマウント
5
6 401-14763 ATC 3010 ASSY ATC 3010組 1
7 400-45971 ATC BASE(70)
ATC ベース(70)
(1)
8 HX-0034400-00 HARNESS PARTS
束線パーツ
(3)
9 SM-4040601-SC SCREW M4X0.7 L=6
なべ小ねじ M 4 X 0.7 L =6
(3)
10 PX-0505010-00 SILENCER
消音器
(2)
11 SM-6040802-TN SCREW
六角穴ボルト M 4 X 0.7 L =8
(2)
12 400-45983 ATC LABEL
ATC ラベル
(1)
13 400-92510 ATC SV CABLE ASM
ATC ソレノイドバルブケーブル組
(1)
14 400-45973 ATC PLATE
ATC プレート
(1)
15 400-45974 SLIDE BASE
スライドベース
(1)
16 SM-1051452-TN PLATE SCREW M5 L=14
皿ねじ M 5 L =14
(4)
17 400-45975 GUIDE SPACER
ガイドスペーサー
(4)
18 400-45976 SLIDE PLATE
スライドプレート
(1)
19 E3404-700-000 THRUST WASHER スラストワッシャー (8)
20 WP-0451016-SP WASHER 4.5X20X1
平座金 4.5 X 20 X 1
(4)
21 400-50375 CAL VCUM SV ASM
CAL VCUM SV 組
(1)
22 400-02125 CAL VCUM SV ASM
CAL VCUM SV 組
(1)
23 PJ-3010605-03 HALF UNION
ハーフユニオン
(1)
24 PJ-3040405-04 ELBOW UNION
エルボユニオン
(1)
25 SM-1040852-TP DISH SCREW
皿ねじ M 4 L =8
(2)
26 400-45980 CHIP BOX HANGER
チップボックスハンガー
(1)
27 PV-1502060-A0 5 PORT MAGNETIC TRANSFER VALVE
5ポート電磁弁切換弁
(1)
28 400-62594 CHEESE UNION
チーズユニオン
(1)
29 PC-0105080-00 SPEED CONTROLLER
スピードコントローラ
(2)
30 SL-6041092-TN SCREW 座金付き六角穴ボルト (4)
31 400-45977 SLIDER ANGLE
スライドアングル
(1)
32 SL-6041092-TN SCREW
座金付き六角穴ボルト
(2)
33 400-45978 SENSOR DOG
センサドグ
(1)
34 SL-4030691-SC SCREW M3 L=6
座金付きなべ小ねじ M 3 L =6
(1)
35 400-01286 ATC SPACER RUBBER
ATC スペーサゴム
(1)
36 B2107-816-000 WASHER
座金
(1)
37 GLA-02335000 CLAMP WASHER
クランプワッシャー
(1)
38 E3528-729-000 ATC JOINT
ATC ジョイント
(1)
39 401-10017 ATC CLOSE SENS ASM
ATC クローズセンサケーブル組
(1)
40 401-10016 ATC OPEN SENS ASM
ATC オープンセンサケーブル組
(1)
41 SM-4030501-SC SCREW M3X0.5 L=5
なべ小ねじ M 3 X 0.5 L =5
(4)
42 400-42709 AIR CYLINDER
エアーシリンダー
(1)
43 BT-0400251-EA TUBE HOSE, BLUE ウレタンホース 青 (0.8)
44
#02
401-32366 CAL_BLOCK_3010_ASM
CAL ブロック3010組
1
45
#01
400-50376 CAL BLOCK 70 ASM
CAL ブロック70組
1
46
#02
401-32365 NOZZLE CAL PIECE ASM
ノズル CAL ピース組
(1)
47
#01
400-57039 NOZZLE CAL PIECE ASM
ノズル CAL ピース組
(1)
48 L203E-021-000 NOZZLE CAL PIECE OUTER
ノズル CAL ピースアザー
(1)
49 NM-6050001-SC NUT M5X0.8 TYPE1
六角ナット M 5 X 0.8 1種
(1)
50
#02
401-22811 CAL-VCUM_SENS_ASM
CAL − VCUM センサ組
(1)
51
#01
400-02126 CAL VACUUM SENSOR ASSY
CAL バキュームセンサ組
(1)
52 400-45979 NOZZLE CAL PIECE
ノズル CAL ピース
(1)
53 L203E-121-000 NOZZLE CAL PIECE OUTER SP
ノズル CAL ピーススプリング
(1)
54 L202E-521-000 CAL SIDE COVER
CAL サイドカバー
(1)
55 SM-6030602-TN SCREW M3X6
六角穴ボルト M 3 X 6
(2)
56 L202E-621-000 CAL DIFFUSER CAL ディフューザ (1)
57 SL-4030691-SC SCREW M3 L=6
座金付きなべ小ねじ M 3 L =6
(2)
58 400-07376 CALBLOCK PCB ASM
CALBLOCK 基板組
(1)
59 SL-4030891-SC SCREW M3X8
なべ小ねじセムス M 3 L =8
(2)
60 PJ-3010405-05 HALF UNION
ハーフユニオン
(1)
61 400-45994 CAL PLATE
CAL プレート
(1)
62 SM-1051452-TN PLATE SCREW M5 L=14
皿ねじ M 5 L =14
(2)
63 BT-0400251-EB URETHANE HOSE, BLACK
ウレタンホース 黒
(0.3)
64 SL-6064092-TN SCREW
座金付き六角穴ボルト M 6 L =40
6
65 SL-6062092-TN SCREW M6 L=20
座金付き六角穴ボルト
4

- 29 -
15.ATC & CAL BLOCK COMPONENTS(TYPE XL)
ATC・CAL ブロック関係(XL 仕様)
73
73
73
50 51
53 54
74
4
46
49
63
62
61
64
65
67
2
4
4
3
A
59
71
56
57
52
55
58
70
69
68
60
66
1
75
10
16
5 6
21
28
22
A
43
43
18
9
44
45
7
8
72
15
14
42
10
41
41
39
40
31
32
34
33
23
22
20
17
19
12
11
13
38
37
36
35
30
24
25
26
27
29