N7202A029B40_SPG_Parts List - 第441页

Ref No. Re m arks R 1 Q'ty 86 プラスチックスキージセット(L=53 0):SPG Plastic S queegee Set( L=530):S PG イラスト No. Part No. 品名 品番 数量 R 2 パーツリスト Kit No. キット品番 Kit Name キット名称 N610140176AA Part Name 備考 セクションNo. PARTS LIS T Sec…

100%1 / 520
86
プラスチックスキージセット(L=530):SPG
Plastic Squeegee Set(L=530):SPG
パーツレイアウト
Kit No.
キット品番
Kit Name
キット名称
N610140176AA
セクションNo.
PARTS LAYOUT
Section No.
--
O185
( KN610140176AA-02 )
Ref
No.
Remarks R
1
Q'ty
86
プラスチックスキージセット(L=530):SPG
Plastic Squeegee Set(L=530):SPG
イラスト
No.
Part No.
品名品番 数量
R
2
パーツリスト
Kit No.
キット品番
Kit Name
キット名称
N610140176AA
Part Name
備考
セクションNo.
PARTS LIST
Section No.
R
3
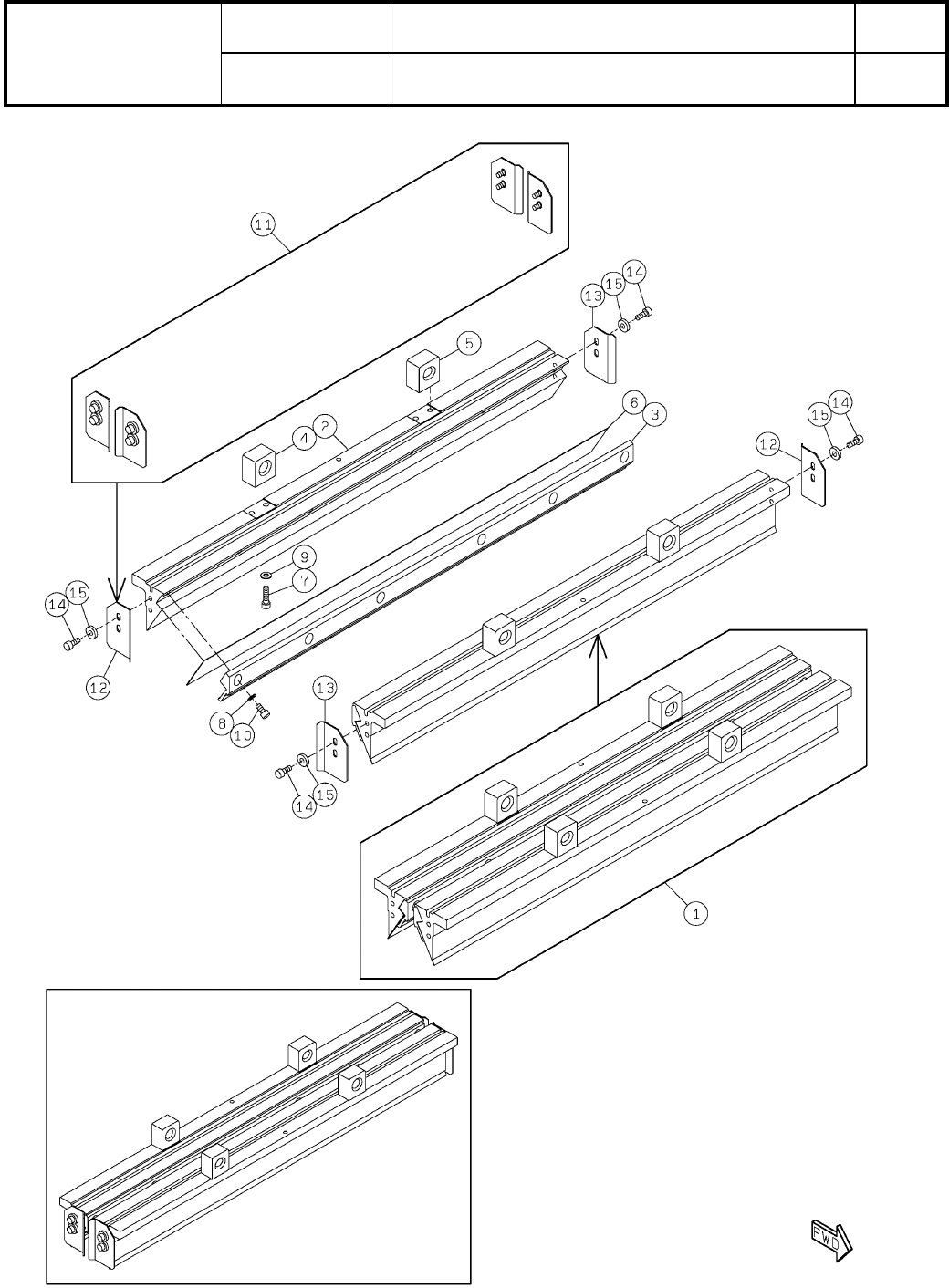
The Holder For Plastic Squeegee 530
1
1 N610149887AA
HOLDER
2
2 N210176277AA
HOLDER
2
3 N210102542AB
BLOCK
2
4 MTPA025853AA
BLOCK
2
5 MTPA025852AA
SQUEEGEE
2
6 N510006653AA
A
530X40X0.5
BOLT
8
7 N510017351AA
Hexagon socket head cap screw M4X16-10.9 A2J (Trivalent)
WASHER
8
8 N510018479AA
Small round-plain washer 4 10H A2J (Trivalent)
WASHER
8
9 N510018497AA
Round finish plain washer 4 10H A2J (Trivalent)
BOLT
8
10 N510017381AA
Hexagon socket head cap screw M4X8-10.9 A2J (Trivalent)
Horizontal Leak Prevention Plate_M-type
1
11 N610059137AA
GUIDE
2
12 N210074395AB
GUIDE
2
13 N210074396AB
BOLT
8
14 N510017344AA
Hexagon socket head cap screw M4X10-10.9 A2J (Trivalent)
WASHER
8
15 N510020099AA Thick washer M4
O186
--
( KN610140176AA-02 )
87
プラスチックスキージセット(L=480):SPG
Plastic Squeegee Set(L=480):SPG
パーツレイアウト
Kit No.
キット品番
Kit Name
キット名称
N610140177AA
セクションNo.
PARTS LAYOUT
Section No.
--
O187
( KN610140177AA-02 )