N7202A029B40_SPG_Parts List - 第156页
25-D マスククリーニング:SPG M ask Cle aning:S PG パーツレイアウト Kit N o. キット品番 Kit N am e キット名称 N610140081AA セクションNo. PARTS LA YOUT Section No. - - S129 ( KN610 14008 1AA-15-4 )

Ref
No.
Remarks R
1
Q'ty
25-C
マスククリーニング:SPG
Mask Cleaning:SPG
イラスト
No.
Part No.
品名品番 数量
R
2
パーツリスト
Kit No.
キット品番
Kit Name
キット名称
N610140081AA
Part Name
備考
セクションNo.
PARTS LIST
Section No.
R
3
BLOCK
2
1 N210172388AA
PLATE
2
2 N210172391AB
SHAFT
2
3 N210174139AB
SPRING
2
4 N510068472AA CS 1.2-16-26
SHAFT
2
5 N210174140AB
BUSH
2
6 N510048699AA LFF-1215
WASHER
2
7 N510018507AA
Round finish plain washer 12 10H A2J (Trivalent)
MOTOR
2
8 N510068837AA
S
PK569PMA-A3
SPACER
8
9 KXF03W8AA00 CU-410
BEARING
2
10 KXF00MQAA00 6903ZZ
SPRING-PIN
2
11 N510037716AA 1010801-25025
SCREW
6
12 N510018279AA
Cross recessed Truss head machine screw M4X6-4.8 A2J (Trivalent)
BOLT
4
13 N510017645AA
Hexagon socket Flat head bolt M6X12-10.9 A2J (Trivalent)
WASHER
8
15 N510018479AA
Small round-plain washer 4 10H A2J (Trivalent)
WASHER
8
16 N510018497AA
Round finish plain washer 4 10H A2J (Trivalent)
WASHER
2
17 N510020101AA Thick washer M6
BOLT
8
18 N510017346AA
Hexagon socket head cap screw M4X12-10.9 A2J (Trivalent)
BOLT
8
19 N510017361AA
Hexagon socket head cap screw M4X30-10.9 A2J (Trivalent)
BOLT
2
20 N510017428AA
Hexagon socket head cap screw M6X12-10.9 A2J (Trivalent)
SCREW
6
21 N510018372AA
Hexagon socket set screw Cup point M4X5-45H A2J (Trivalent)
S128
--
( KN610140081AA-15-3 )

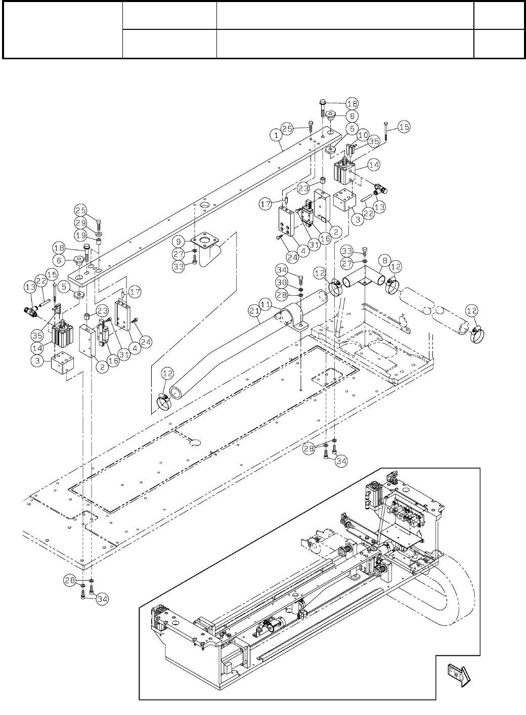
25-D
マスククリーニング:SPG
Mask Cleaning:SPG
パーツレイアウト
Kit No.
キット品番
Kit Name
キット名称
N610140081AA
セクションNo.
PARTS LAYOUT
Section No.
--
S129
( KN610140081AA-15-4 )

Ref
No.
Remarks R
1
Q'ty
25-D
マスククリーニング:SPG
Mask Cleaning:SPG
イラスト
No.
Part No.
品名品番 数量
R
2
パーツリスト
Kit No.
キット品番
Kit Name
キット名称
N610140081AA
Part Name
備考
セクションNo.
PARTS LIST
Section No.
R
3
PLATE
1
1 N210172396AC
PLATE
2
2 N210172397AB
BLOCK
2
3 N210174073AA
PLATE
2
4 MTPA015089AA
NUT
2
5 N210163552AA
JOINT
2
6 N210163551AA
JOINT
1
8 MTPB006853AA
JOINT
1
9 MTPB006854AA
SWITCH
1
10 N610148181AB
BAND
1
11 N510061709AA G-6
BAND
4
12 N462FS25 FS-25
SPEED-CONTROLLER
4
13 MTNP000243AA AS1201F-M5-04A
CYLINDER
2
14 N510064301AA CDQSB16-10DM
BOLT
8
15 N510017327AA
Hexagon socket head cap screw M3X35-10.9 A2J (Trivalent)
LINEAR-WAY
2
16 MTNB000003AA SRS9XMUU+55LM(03108839K000)
PIN
2
17 N986MMS410 MMS4-10
BOLT
2
18 N510064085AA
Hexagon socket head cap with flange screw M5X30-10.9 A2J (Trivalent)
SPACER
2
19 KXF078UAA00 CU-408
HOSE
1
21 N510065684AA EC-19
TUBE
1
22 KXF03PPAA00 TFU0425B-2
SPACER
2
23 N510019896AA ASF-508E
BOLT
8
24 N510017341AA
Hexagon socket head cap screw M3X8-10.9 A2J (Trivalent)
BOLT
4
25 N510017351AA
Hexagon socket head cap screw M4X16-10.9 A2J (Trivalent)
WASHER
7
27 N510018479AA
Small round-plain washer 4 10H A2J (Trivalent)
WASHER
10
28 N510018497AA
Round finish plain washer 4 10H A2J (Trivalent)
WASHER
2
29 N510020099AA Thick washer M4
WASHER
2
30 N510018330AA Spring lock washer No.2 4 S A2J (Trivalent)
BOLT
6
31 N510017337AA
Hexagon socket head cap screw M3X6-10.9 A2J (Trivalent)
BOLT
7
33 N510017381AA
Hexagon socket head cap screw M4X8-10.9 A2J (Trivalent)
BOLT
10
34 N510017346AA
Hexagon socket head cap screw M4X12-10.9 A2J (Trivalent)
SENSOR
1
35 N610164113AA
S130
--
( KN610140081AA-15-4 )