N7202A029B40_SPG_Parts List - 第370页
52 基板吸着下受ブロック(L) Board Va cuum Sup port Blo ck (L) パーツレイアウト Kit N o. キット品番 Kit N am e キット名称 KXFX03BZA00 セクションNo. PARTS LA YOUT Section No. - - O115 (KKXFX0 3BZA00-06 )

Ref
No.
Remarks R
1
Q'ty
51
基板下受ブロック(M)
Board Support Block (M)
イラスト
No.
Part No.
品名品番 数量
R
2
パーツリスト
Kit No.
キット品番
Kit Name
キット名称
KXFX04HEA00
Part Name
備考
セクションNo.
PARTS LIST
Section No.
R
3
BLOCK
1
1 N210000930AA
BLOCK
5
2 N210001387AB
BOLT
12
3 KXF09TBAA00 GUTB3-4-20
MAGNET
10
4 N986KM0015 KM-0015
SCREW
10
5 XXE5D8VW Hexagon socket set screw Cup point M5X8-A2
O114
--
(KKXFX04HEA00-03)

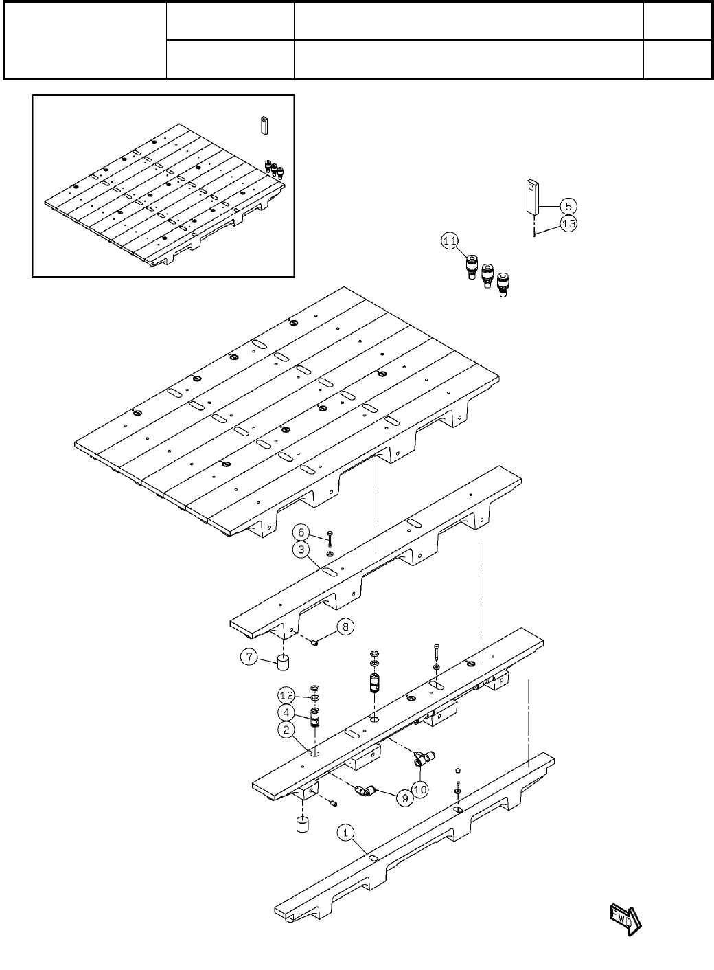
52
基板吸着下受ブロック(L)
Board Vacuum Support Block (L)
パーツレイアウト
Kit No.
キット品番
Kit Name
キット名称
KXFX03BZA00
セクションNo.
PARTS LAYOUT
Section No.
--
O115
(KKXFX03BZA00-06)

Ref
No.
Remarks R
1
Q'ty
52
基板吸着下受ブロック(L)
Board Vacuum Support Block (L)
イラスト
No.
Part No.
品名品番 数量
R
2
パーツリスト
Kit No.
キット品番
Kit Name
キット名称
KXFX03BZA00
Part Name
備考
セクションNo.
PARTS LIST
Section No.
R
3
BLOCK
1
1 N210001415AB
A
BLOCK
3
2 N210001416AC
A
BLOCK
6
3 N210001417AC
A
JOINT
12
4 KXFB0713A01
BLOCK
1
5 KXFB0714A00
BOLT
20
6 KXF09TBAA00 GUTB3-4-20
MAGNET
36
7 N986KM0015 KM-0015
SCREW
36
8 XXE5D8FT
Hexagon socket set screw Cup point M5X8-45H SOB
JOINT
3
9 N510066608AA KQ2L06-M6A
JOINT
9
10 N510066619AA KQ2T06-M6A
JOINT
3
11 KXF091HAA00 CPP15-6B
PACKING
24
12 KXF0DY0XA00 SPGC11
PIN
2
13 KXF0DYJPA00 MS1.5-8
O116
--
(KKXFX03BZA00-06)