N7202A029B40_SPG_Parts List - 第399页
Re f No. Re m arks R 1 Q'ty 66 ワンタッチサポート・ベースユニット:L-size Base Unit L (C ollectively C hanging) イラスト No. Part No. 品名 品番 数量 R 2 パーツリスト Kit N o. キット品番 Kit N ame キット名称 M T KA004277A B Part Name 備考 セクションNo. PARTS L…

66
ワンタッチサポート・ベースユニット:L-size
Base Unit L (Collectively Changing)
パーツレイアウト
Kit No.
キット品番
Kit Name
キット名称
MTKA004277AB
セクションNo.
PARTS LAYOUT
Section No.
--
O143
(KMTKA004277AB-00)

Ref
No.
Remarks R
1
Q'ty
66
ワンタッチサポート・ベースユニット:L-size
Base Unit L (Collectively Changing)
イラスト
No.
Part No.
品名品番 数量
R
2
パーツリスト
Kit No.
キット品番
Kit Name
キット名称
MTKA004277AB
Part Name
備考
セクションNo.
PARTS LIST
Section No.
R
3
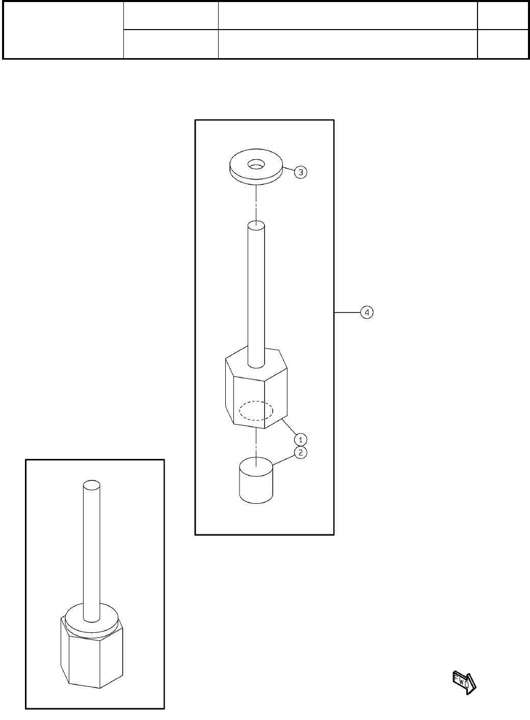
BASE
1
1 MTPA009604AA
BLOCK
1
2 MTPA009605AA
PIN
2
3 MTPA006542AA
GUIDE
2
4 N210154025AC
GUIDE
1
5 N210158107AC
BASE
1
6 MTPB005228AB
RAIL
2
7 MTKP002701AA
STAND
1
8 N610141020AA
PLATE
1
9 N210166317AA
RUBBER-LEG
4
10 N510055131AA C-30-RK-10-EP-UL-Black
PIN
2
11 N510020608AA MMS5-15
BEARING
1
12 KXF00KFAA00 606ZZ
SPACER
1
13 N510042454AA 3382330-60090
GEAR
1
14 N510069188AA S1S20B(X)0806
SHAFT
1
15 MTNK000717AA NBJ02-6-45-M3-MA23
WASHER
1
16 N510018473AA
Iron round plain washer3X8X1.0(chromeite) A2J (Trivalent)
SLIDE-RAIL
2
17 N510060246AA KC-283-40
SCREW
14
18 N510018253AA
Cross recessed Truss head machine screw M3X6-4.8 A2J (Trivalent)
BOLT
4
19 N510018912AA
Hexagon head bolt Best class M8X50-6g 4T A2J (Trivalent) Full thread no
BEARING
1
20 KXF03FUAA00 SFB30-6
PACKING
5
21 N510033016AA FC-779-1-1
O144
--
(KMTKA004277AB-00)

67
ワンタッチサポートピン10本
Ten Support Pins (Collectively Changing)
パーツレイアウト
Kit No.
キット品番
Kit Name
キット名称
N610136517AA
セクションNo.
PARTS LAYOUT
Section No.
--
O145
(KN610136517AA-02)