Nozzle changer Twin-Head_20211123_071248 - 第3页
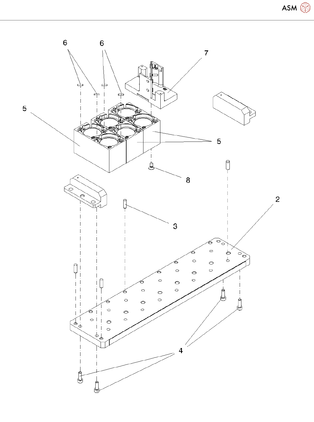
Nozzle changer Twin-Head Page 3 / 3 23.11.2021 Pos. Item no. Description Part marking 1 03062452-01 NOZZLE CHANGER / TWIN HEAD / B- SERIES 2 03062453-01 MAGAZINE HOLDERCPL. / NC P+P B- SERIE SPARE PART 3 00095619-01 DIN …

Nozzle changer Twin-Head
Page 1 / 3 23.11.2021

Nozzle changer Twin-Head
Page 2 / 3 23.11.2021

Nozzle changer Twin-Head
Page 3 / 3 23.11.2021
Pos. Item no. Description Part marking
1 03062452-01 NOZZLE CHANGER / TWIN HEAD / B-
SERIES
2 03062453-01 MAGAZINE HOLDERCPL. / NC P+P B-
SERIE
SPARE PART
3 00095619-01 DIN 6325 - 4M5 X 14-ST
4 03045048-01 DIN912-M4 X 12-A2-70
5 03005191-03 COMP. MAGAZINE COMP. /2
NOZZLES P+P
SPARE PART
6 00619823-01 DIN 6325 - 2M5 X 8-ST
7 03001807-02 MAGAZINE CPL. / 1 NOZZLE P+P SPARE PART
8 00095311-01 DIN 965-M4 X 8-8.8,VERCU+NI
Powered by TCPDF (www.tcpdf.org)