NPM_D3Wiring Diagram - 第166页
-K301 PMC0AF CN3 1 7 8 2 V 4 10 5 11 U FG W A A B B 11 5 10 4 2 8 7 1 43025-1200 CN3K301 MOLEX 3 9 12 6 6 12 9 3 Z Z VDD GND θ-Axis 1 θ軸 1 CN1 1 7 8 2 V 4 10 5 11 U FG W A A B B 11 5 10 4 2 8 7 1 43025-1200 CN1K301 MOLEX…

-K301
PMC0AF
CN11
1
2
3
4
TX-
CN15
1
4
3
6
-K303
PMC0AE
5
6
7
8
TX+
RX-
RX+
EMG
ILKF
ILKR
GND
GND
+24V
2
5
GND
+24V
GND
+24V
CN26
1
2
3
4
RX-
CN25
1
4
3
6
5
6
7
8
RX+
TX-
TX+
EMG
GND
+24V
2
5
GND
+24V
GND
+24V
ILKF
ILKR
GND
1
4
2
5
3
6
PAP-06V-S
CN25
JST
PAP-08V-S
CN26
JST
2
1
4
3
6
5
8
7
PAP-08V-S
CN11K301
JST
2
1
4
3
6
5
8
7
PAP-06V-S
CN15K301
JST
4
1
5
2
6
3
BK
BK/WH
RD
RD/WH
GN
GN/WH
YE
YE/WH
BN
BN/WH
BU
BU/WH
GY/WH
OG
GY
N610069715AB
U-TKVV 8P-AWG22
1
OG/WH (0.3mm2-8P)
2
Panasonic Factory Solutions Co.,Ltd. パナソニック ファクトリーソリューションズ株式会社
Name
Drawing No.
Loc. No.
F4K1020-05A
1
2 3 4 5 6 7 8
A
B
C
D
E
F
1 2 3 4 5 6 7 8
A
B
C
D
E
F
Page. No.
NPM_8_NOZZLE HEAD
(PMC0AF connecting 2)
N610066303+004AC
P004
U-TKVV AWG22-8P
2

-K301
PMC0AF
CN3
1
7
8
2
V
4
10
5
11
U
FG
W
A
A
B
B
11
5
10
4
2
8
7
1
43025-1200
CN3K301
MOLEX
3
9
12
6
6
12
9
3
Z
Z
VDD
GND
θ-Axis 1
θ軸 1
CN1
1
7
8
2
V
4
10
5
11
U
FG
W
A
A
B
B
11
5
10
4
2
8
7
1
43025-1200
CN1K301
MOLEX
3
9
12
6
6
12
9
3
Z
Z
VDD
GND
θ-Axis 2
θ軸 2
N510034255AA
N510034255AA
SSG
SM
U
V
W
FG
A
A
B
B
Z
Z
VDD
GND
-M401
XP50BA2002BXS2A
RD
WH
BK
GY
BU
BN
GN
VT
WH2
YE
RD2
BK2
SANYO DENKI
SSG
SM
U
V
W
FG
A
A
B
B
Z
Z
VDD
GND
-M402
XP50BA2002BXS2A
RD
WH
BK
GY
BU
BN
GN
VT
WH2
YE
RD2
BK2
SANYO DENKI
1
1
Panasonic Factory Solutions Co.,Ltd. パナソニック ファクトリーソリューションズ株式会社
Name
Drawing No.
Loc. No.
F4K1020-05A
1
2 3 4 5 6 7 8
A
B
C
D
E
F
1 2 3 4 5 6 7 8
A
B
C
D
E
F
Page. No.
NPM_8_NOZZLE HEAD
(θ1,θ2 Motor connecting)
N610066303+005AB
P005

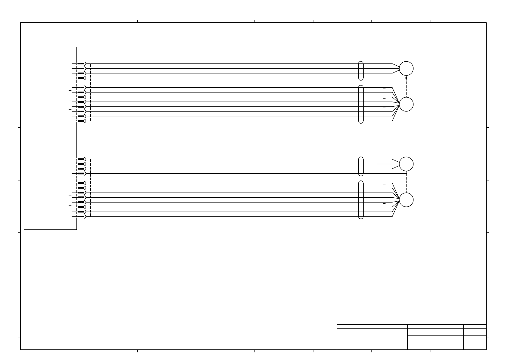
-K303
PMC0AE
CN1
1
7
8
2
AV
11
6
12
9
AU
FG
AW
AB
AZ
AZ
VDD
3
GND
43025-1200
CN1
MOLEX
9
3
1
7
8
2
4
10
5
11
6
12
4
10
AA
AA
5
11
AB
Z1-Axis
Z1軸
CN2
1
7
8
2
BV
11
6
12
9
BU
FG
BW
BB
BZ
BZ
VDD
3
GND
43025-1200
CN2
MOLEX
9
3
1
7
8
2
4
10
5
11
6
12
4
10
BA
BA
5
11
BB
Z2-Axis
Z2軸
CN3
1
7
8
2
CV
11
6
12
9
CU
FG
CW
CB
CZ
CZ
VDD
3
GND
4
10
CA
CA
5
11
CB
Z3-Axis
Z3軸
43025-1200
CN3
MOLEX
9
3
1
7
8
2
4
10
5
11
6
12
CN4
1
7
8
2
DV
11
6
12
9
DU
FG
DW
DB
DZ
DZ
VDD
3
GND
4
10
DA
DA
5
11
DB
Z4-Axis
Z4軸
43025-1200
CN4
MOLEX
9
3
1
7
8
2
4
10
5
11
6
12
FV1.25-2
J.S.T
1
FV1.25-2
J.S.T
SM
A
A
B
B
Z
Z
VDD
GND
U
V
W
SSG
-M404
P50B02001BXS71
RD
WH
BK
GY
BU
BN
GN
VT
WH
YE
RD
BK
SANYO DENKI
1
FV1.25-2
J.S.T
SM
A
A
B
B
Z
Z
VDD
GND
U
V
W
SSG
-M405
P50B02001BXS71
RD
WH
BK
GY
BU
BN
GN
VT
WH
YE
RD
BK
SANYO DENKI
1
FV1.25-2
J.S.T
SM
A
A
B
B
Z
Z
VDD
GND
U
V
W
SSG
-M406
P50B02001BXS71
RD
WH
BK
GY
BU
BN
GN
VT
WH
YE
RD
BK
SANYO DENKI
1
SM
A
A
B
B
Z
Z
VDD
GND
U
V
W
SSG
-M403
P50B02001BXS71
RD
WH
BK
GY
BU
BN
GN
VT
WH
YE
RD
BK
SANYO DENKI
Panasonic Factory Solutions Co.,Ltd. パナソニック ファクトリーソリューションズ株式会社
Name
Drawing No.
Loc. No.
F4K1020-05A
1
2 3 4 5 6 7 8
A
B
C
D
E
F
1 2 3 4 5 6 7 8
A
B
C
D
E
F
Page. No.
NPM_8_NOZZLE HEAD
(Z-axis1~4 WIRING)
N610066303+006AB
P006