NPM_D3Wiring Diagram - 第253页
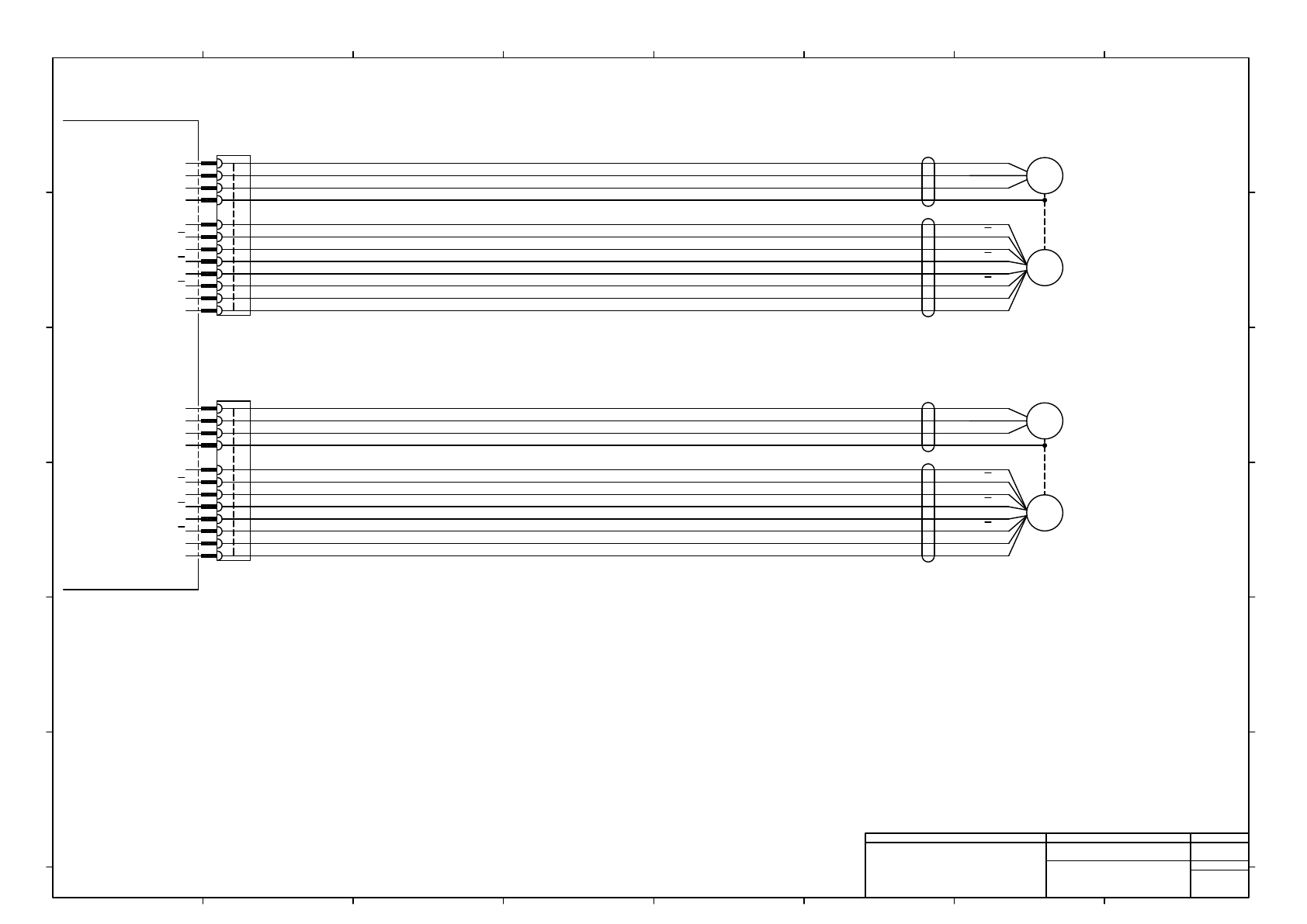
-K302 PMC0AF #2 CN3 1 7 8 2 V 4 10 5 11 U FG W A A B B 11 5 10 4 2 8 7 1 43025-1200 CN3K302 MOLEX 3 9 12 6 6 12 9 3 Z Z VDD GND SC-Axis 1 SC軸 1 CN1 1 7 8 2 V 4 10 5 11 U FG W A A B B 11 5 10 4 2 8 7 1 43025-1200 CN1K302 …

-K301
PMC0AF #1
CN3
1
7
8
2
V
4
10
5
11
U
FG
W
A
A
B
B
11
5
10
4
2
8
7
1
43025-1200
CN3K301
MOLEX
3
9
12
6
6
12
9
3
Z
Z
VDD
GND
Z-Axis 1
Z軸 1
CN1
1
7
8
2
V
4
10
5
11
U
FG
W
A
A
B
B
11
5
10
4
2
8
7
1
43025-1200
CN1K301
MOLEX
3
9
12
6
6
12
9
3
Z
Z
VDD
GND
Z-Axis 2
Z軸 2
A
A
B
B
Z
Z
VDD
GND
U
V
W
FG
SM
SSG
-M403
RD
WH
BK
GY
BU
BU/BK
GN
GN/BK
YE
YE/BK
RD
BK
A
A
B
B
Z
Z
VDD
GND
U
V
W
FG
SM
SSG
-M404
RD
WH
BK
GY
BU
BU/BK
GN
GN/BK
YE
YE/BK
RD
BK
Panasonic Factory Solutions Co.,Ltd. パナソニック ファクトリーソリューションズ株式会社
Name
Drawing No.
Loc. No.
F4K1020-05A
1
2 3 4 5 6 7 8
A
B
C
D
E
F
1 2 3 4 5 6 7 8
A
B
C
D
E
F
Page. No.
NPM_DISPENSER HEAD
(Z1,Z2 Motor connecting)
N610083275+005AA
P005

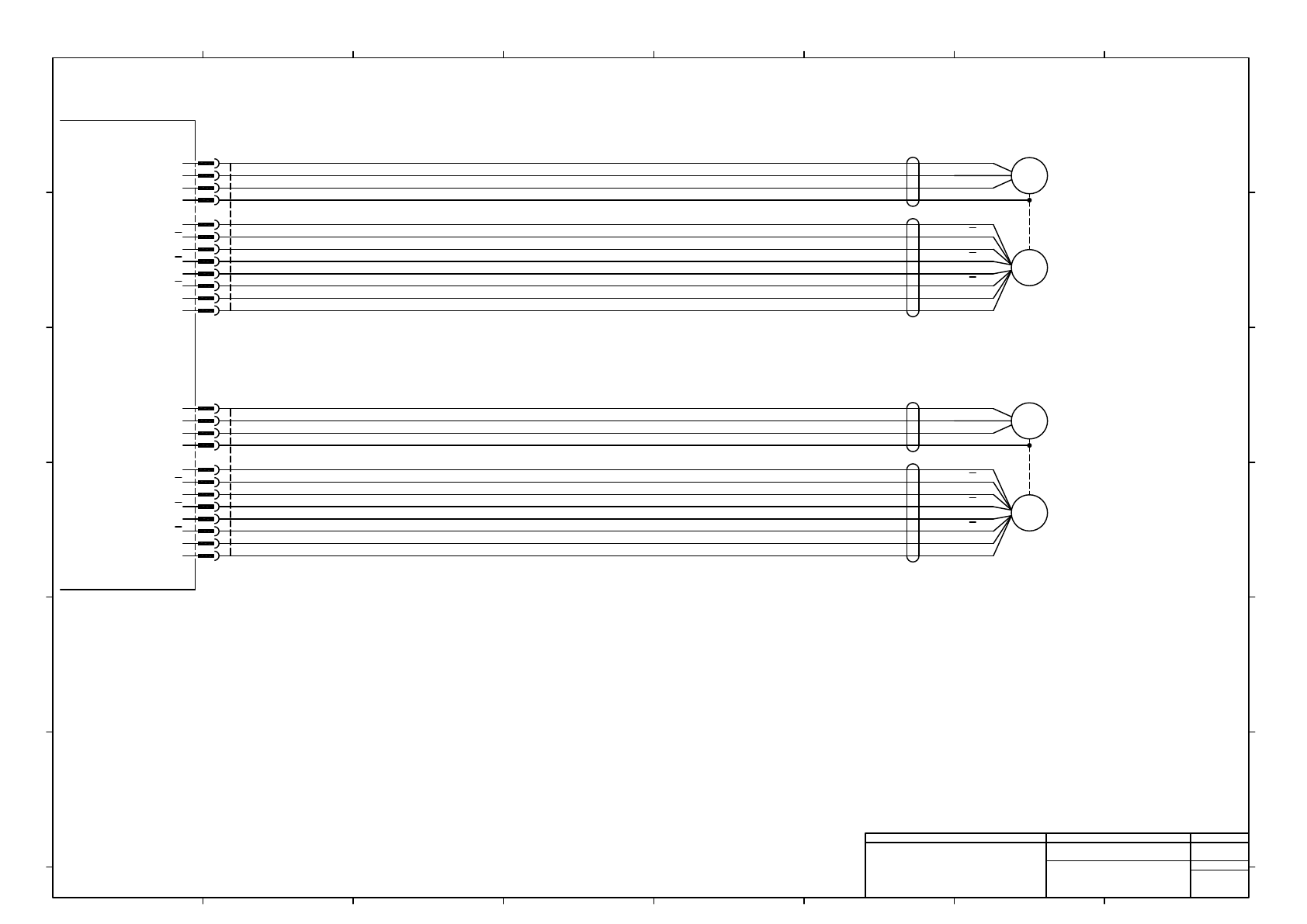
-K302
PMC0AF #2
CN3
1
7
8
2
V
4
10
5
11
U
FG
W
A
A
B
B
11
5
10
4
2
8
7
1
43025-1200
CN3K302
MOLEX
3
9
12
6
6
12
9
3
Z
Z
VDD
GND
SC-Axis 1
SC軸 1
CN1
1
7
8
2
V
4
10
5
11
U
FG
W
A
A
B
B
11
5
10
4
2
8
7
1
43025-1200
CN1K302
MOLEX
3
9
12
6
6
12
9
3
Z
Z
VDD
GND
SC-Axis 2
SC軸 2
SSG
SM
U
V
W
FG
A
A
B
B
Z
Z
VDD
GND
-M405
RD
WH
BK
GY
BU
BN
GN
VT
WH2
YE
RD2
BK2
SSG
SM
U
V
W
FG
A
A
B
B
Z
Z
VDD
GND
-M406
RD
WH
BK
GY
BU
BN
GN
VT
WH2
YE
RD2
BK2
1
Panasonic Factory Solutions Co.,Ltd. パナソニック ファクトリーソリューションズ株式会社
Name
Drawing No.
Loc. No.
F4K1020-05A
1
2 3 4 5 6 7 8
A
B
C
D
E
F
1 2 3 4 5 6 7 8
A
B
C
D
E
F
Page. No.
NPM_DISPENSER HEAD
(SC1,SC2 Motor connecting)
N610083275+006AB
P006

-K302
PMC0AF #2
CN4
1
8
9
2
V
4
11
5
12
U
FG
W
A
A
B
B
11
5
10
4
2
8
7
1
43025-1200
M401R
MOLEX
3
9
12
6
6
13
10
3
Z
Z
VDD
GND
θ-Axis 1
θ軸 1
θ-Axis 2
θ軸 2
SSG
SM
U
V
W
FG
A
A
B
B
Z
Z
VDD
GND
-M401
RD
WH
BK
GY
BU
BN
GN
VT
WH2
YE
RD2
BK2
SSG
SM
U
V
W
FG
A
A
B
B
Z
Z
VDD
GND
-M402
RD
WH
BK
GY
BU
BN
GN
VT
WH2
YE
RD2
BK2
-B1001T
-B1001
BN
BK
BU
θ-Axis ORG SENSOR
(Projection)
θ-Axis ORG SENSOR
(Receive)
11
5
10
4
2
8
7
1
43025-1200
M402R
MOLEX
3
9
12
6
4
3
2
1
43025-0400
B1001R
MOLEX
14
7
PV24
TORG1
CN2
1
8
9
2
V
4
11
5
12
U
FG
W
A
A
B
B
6
13
10
3
Z
Z
VDD
GND
14
7
PV24
TORG2
11
5
10
4
2
8
7
1
3
9
12
6
43020-1200
M401P
MOLEX
13
6
12
5
11
4
2
9
8
1
7
14
3
10
43025-1400
CN4K302
MOLEX
BN
RD
OG
BK
YE
VT
GY
WH
PK
LG
BN
BU
11
5
10
4
2
8
7
1
3
9
12
6
43020-1200
M402P
MOLEX
43020-0400
B1001P
MOLEX
1
2
3
4
13
6
12
5
11
4
2
9
8
1
7
14
3
10
43025-1400
CN2K302
MOLEX
0
BN
RD
OG
BK
YE
VT
GY
WH
PK
LG
BN
BU
BU
BN
WH
WH
1
1
1
Panasonic Factory Solutions Co.,Ltd. パナソニック ファクトリーソリューションズ株式会社
Name
Drawing No.
Loc. No.
F4K1020-05A
1
2 3 4 5 6 7 8
A
B
C
D
E
F
1 2 3 4 5 6 7 8
A
B
C
D
E
F
Page. No.
NPM_DISPENSER HEAD
(θ1,θ2 Motor connecting)
N610083275+007AA
P007