P-119-001e - 第9页
MODEL TCM-3500Z 9810-001 全体図−2 UNIT LA YOUT -2 UNIT LA YOUT-2 / / / ∼

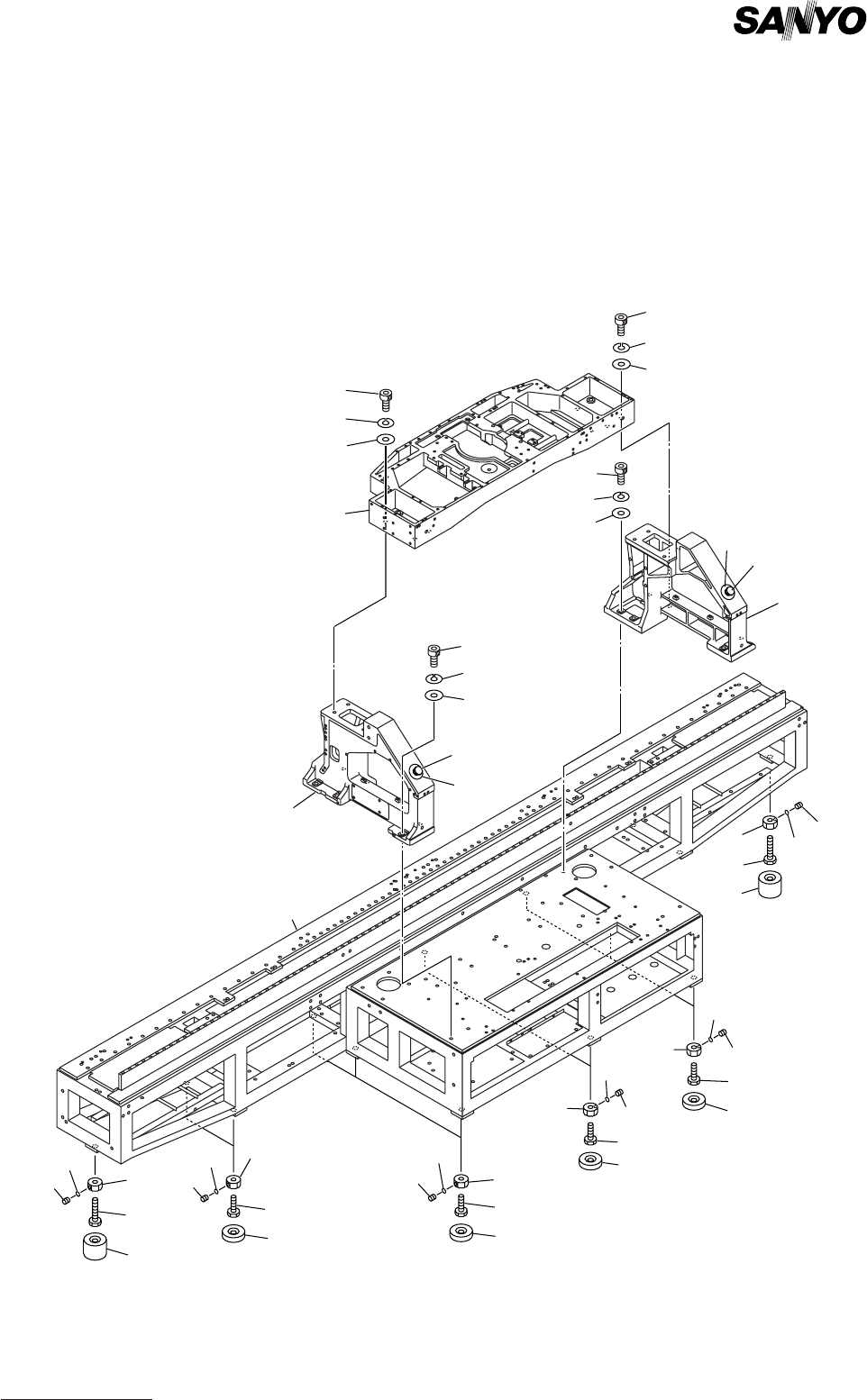
MODEL TCM-3500Z
9810-001
本体部 MAIN BODY SECTION
Fig. 1-1 ベース Base
1
2
3
44
1111
1212
13
1616
1515
1414
11
1-1
1-1
1-21-2
1-21-2
3-1
3-2
3-1
3-2
3
3-13-1
3-23-2
33
3-13-1
3-23-2
33
3-13-1
3-23-2
33
3-1
3-2
3
44
44
4
4-1
4-1
16
15
14
14
TCM-3500E
21
22
21
22
16
15
14
1616
1515

