CP-6-series Mechanical Reference - 第71页
NC-Axis Cam Axis I/O Address SX006 I/O Name Description C AXIS ZERO Cam axis zero-setting sensor CP6M1049a I/O Address SX02E I/O Name Description NC AXIS ZERO NC-axis zero-setting sensor CP6M1048a CP6M1048 SX02E Part 1 C…

FQ/FRQ-Axes
D1/D2-Axes
I/O Address
SX024
SX025
SX026
SX028
SX029
SX02A
I/O Name
Description
D1 AXIS +OT
D1 AXIS -OT
D1 AXIS ZERO
D2 AXIS +OT
D2 AXIS -OT
D2 AXIS ZERO
D1-axis overtravel (+)
D1-axis overtravel (-)
D1-axis zero-setting sensor
D2-axis overtravel (+)
D2-axis overtravel (-)
D2-axis zero-setting sensor
CP6M1047a
CP6M1047
SX025
SX026
SX024
SX028
SX02A
SX029
I/O Address
SX00A
SX01E
I/O Name
Description
FRQ AXIS ZERO
FQ AXIS ZERO
FRQ-axis zero-setting
FQ-axis zero-setting
CP6M1046a
Part 1 Chapter 3 Sensor Positions
Edition 1.0 1-3-9 CP-6-series Mechanical Reference

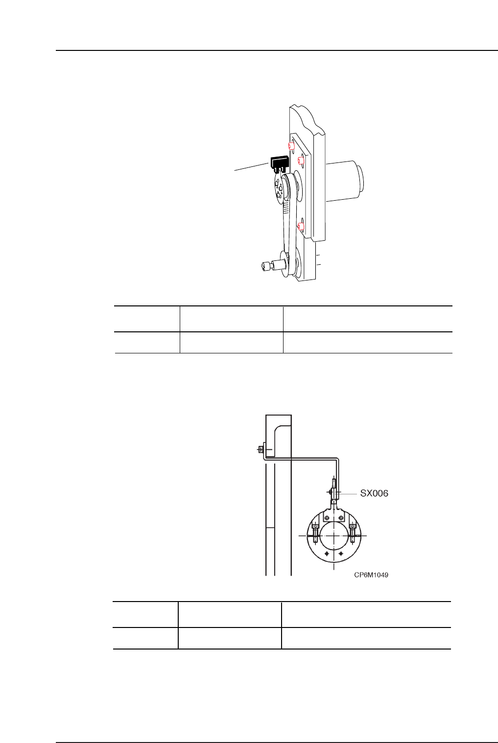
NC-Axis
Cam Axis
I/O Address
SX006
I/O Name
Description
C AXIS ZERO
Cam axis zero-setting sensor
CP6M1049a
I/O Address
SX02E
I/O Name
Description
NC AXIS ZERO
NC-axis zero-setting sensor
CP6M1048a
CP6M1048
SX02E
Part 1 Chapter 3 Sensor Positions
Edition 1.0 1-3-10 CP-6-series Mechanical Reference

3.3 Loading System
CP-642 Conveyor
I/O Address
LX003
LX004
X024
X034
LX008
LX009
X024
LX00C
LX00D
I/O Name
Description
IN REDUCE POS
IN PCB CONF
TABLE READY
CONV. CLUT. CHK
MAIN REDUC POS
MAIN PCB CONF
TABLE READY
PCB OUT CHK
OUT PCB CONF
In-conveyor deceleration position
In-conveyor board arrival
Table movement permissible
Follow up rail clutch engaged
Main conveyor deceleration position
Main conveyor board arrival
Table movement permissible
Out-conveyor board unloading
Out-conveyor board arrival
CP6M1050a
LX003
LX004
X024
X024
LX008
LX009
LX00C
LX00D
X034
CP6M1050
Part 1 Chapter 3 Sensor Positions
Edition 1.0 1-3-11 CP-6-series Mechanical Reference