Tape feeder module 3x8mm S for 01005_20211119_073558 - 第2页
Tape feeder module 3x8mm S for 01005 Page 2 / 9 19.11.2021

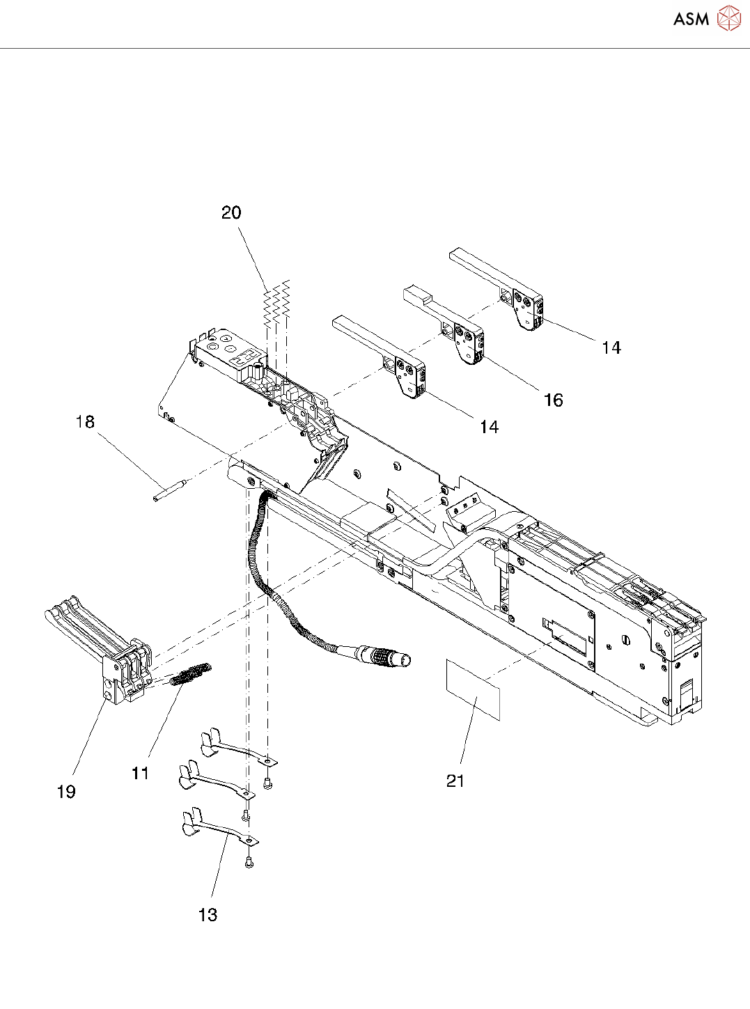
Tape feeder module 3x8mm S for 01005
Page 1 / 9 19.11.2021

Tape feeder module 3x8mm S for 01005
Page 2 / 9 19.11.2021

Tape feeder module 3x8mm S for 01005
Page 3 / 9 19.11.2021