2OM-1150-001_w.pdf - 第268页
(2) L Conveyor (2) L Conveyor (2) L Conveyor (2) L Conveyor (2) L Conveyor 部 部 部 部 部 (TPM- 1 00R) (TPM- 1 00R) (TPM- 1 00R) (TPM- 1 00R) (TPM- 1 00R) Fig.3C 1 Fig.3C 1 Fig.3C 1 Fig.3C 1 Fig.3C 1 Table 3C 1 Table 3C 1 Tab…

3.3.
3.3.
3.
传感器·负荷配置图传感器·负荷配置图
传感器·负荷配置图传感器·负荷配置图
传感器·负荷配置图
3.1 3.1
3.1 3.1
3.1
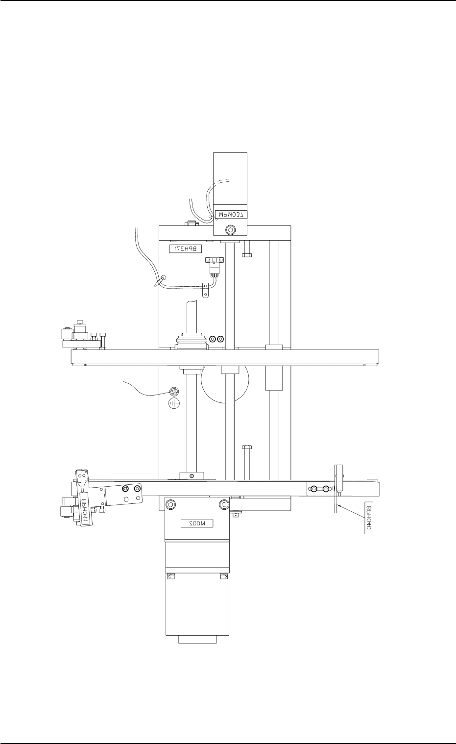
传送带部传感器配置图传送带部传感器配置图
传送带部传感器配置图传送带部传感器配置图
传送带部传感器配置图
(1) L Conveyor(1) L Conveyor
(1) L Conveyor(1) L Conveyor
(1) L Conveyor
部部
部部
部
(TPM-100F)(TPM-100F)
(TPM-100F)(TPM-100F)
(TPM-100F)
3.3.
3.3.
3.
传感器传感器
传感器传感器
传感器·
负荷配置图负荷配置图
负荷配置图负荷配置图
负荷配置图
0008-003-(M748YH---0001)3章3-42 AFQ01JMTP

(2) L Conveyor(2) L Conveyor
(2) L Conveyor(2) L Conveyor
(2) L Conveyor
部部
部部
部
(TPM-100R)(TPM-100R)
(TPM-100R)(TPM-100R)
(TPM-100R)
Fig.3C1 Fig.3C1
Fig.3C1 Fig.3C1
Fig.3C1
Table 3C1Table 3C1
Table 3C1Table 3C1
Table 3C1
记号记号
记号记号
记号
名称名称
名称名称
名称
BPH040 P.C.B. Transfer Check
BPH041 P.C.B. Detection
BPH371 L Conveyor Rail Width Limit (+)
M002 L Conveyor Motor
MPM037 L Conveyor Width Pulse Motor
3.1 3.1
3.1 3.1
3.1
传送带部传感器配置图传送带部传感器配置图
传送带部传感器配置图传送带部传感器配置图
传送带部传感器配置图
0004-002 3章3-43 AFQ01JMTP
BPHO4O
BPH371
M002
BPH041
MPM039

0008-003-(M748YH---0002) 3章3-44 AFQ01JMTP
(3) R Conveyor(3) R Conveyor
(3) R Conveyor(3) R Conveyor
(3) R Conveyor
部部
部部
部
(TPM-100F)(TPM-100F)
(TPM-100F)(TPM-100F)
(TPM-100F)
3.1 3.1
3.1 3.1
3.1
传送带部传感器配置图传送带部传感器配置图
传送带部传感器配置图传送带部传感器配置图
传送带部传感器配置图