XP243机械手册 - 第27页
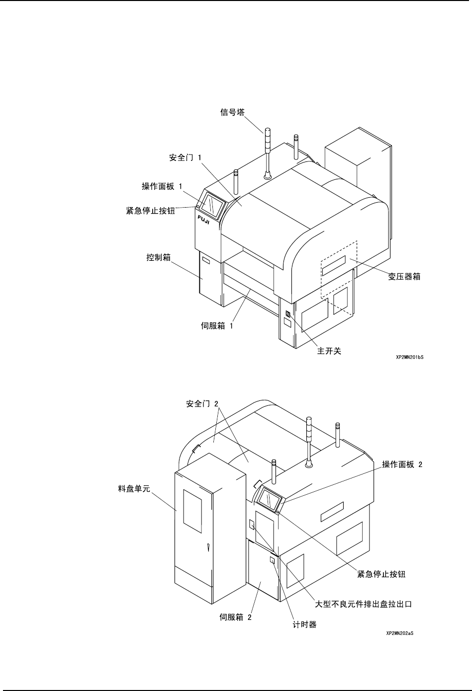
MEC-XP243-1.0S 2. 机器主体 XP-243E 机械手册 17 2. 机器主体 2.1 机器的构成部分 2.1.1 机器前侧 (Side 1) 2.1.2 机器后侧 (Side 2)

1. 安全指南 MEC-XP243-1.0S
16 XP-243E 机械手册
1.6.2 如何解除闭锁
操作结束时,操作人员需依次从荷包锁上取下自己的标签。
所有的标签被取下后,按下面的步骤解除闭锁。
1. 确认所有的操作人员已经离开机器。
2. 确认机器处在安全状态,然后打开荷包锁将空气阀手柄旋转到 ON 位置。
3. 打开荷包锁将主开关旋转到 ON 位置。
4. 到此为止解除闭锁完成。

MEC-XP243-1.0S 2. 机器主体
XP-243E 机械手册 17
2. 机器主体
2.1 机器的构成部分
2.1.1 机器前侧 (Side 1)
2.1.2 机器后侧 (Side 2)

2. 机器主体 MEC-XP243-1.0S
18 XP-243E 机械手册
机器内部
<SIDE 1 固定料站平台装载机的时候 >