TR7DN-Rev02 - 第15页
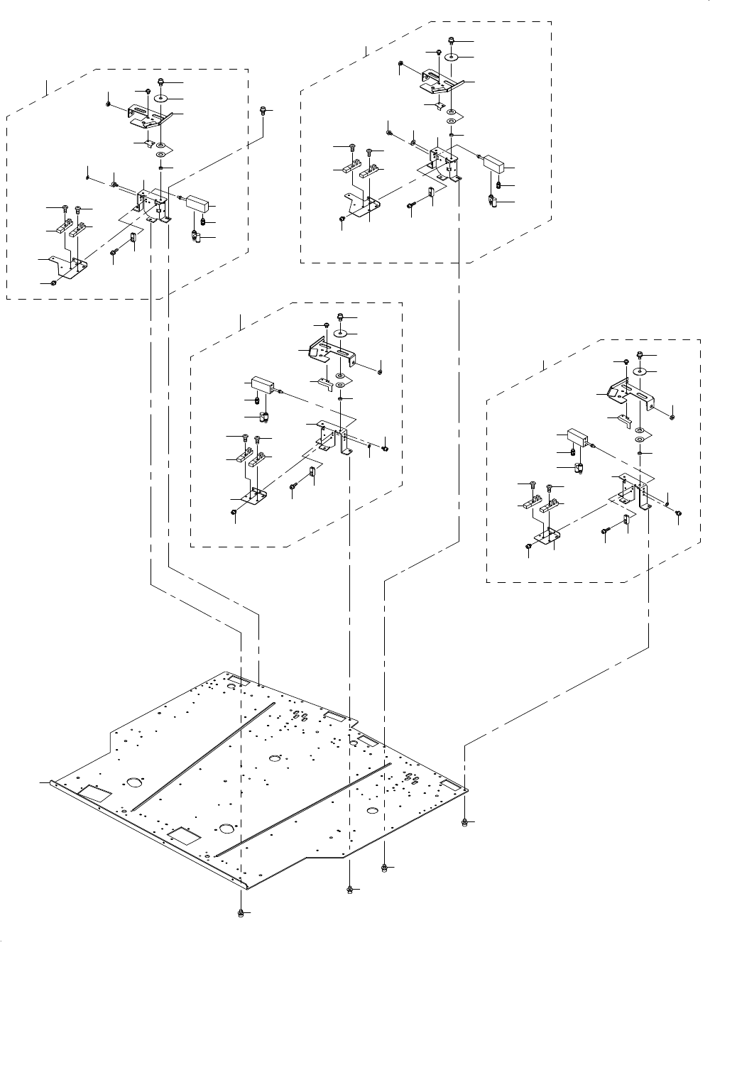
- 12 - REF.NO NOTE PART NO D E S C R I P T I O N 品 名 Qty 1 401-1752 2 Y BASE Y ベース 1 2 401-17582 CHUCK OP CL GUIDE L ASM チャック OP CL ガイド L 組 2 3 401-1741 0 CHUCK GUIDE BASE L チャックガイドベース L (1) 4 E3404-70 0-000 THRUST WASHE…

- 11 -
6. Y UNIT (1)
Y ユニット(1)
1
26
28
27
29
30
31
32
33
35
37
36
34
38
39
41
41
42
42
43
40
44
45
2
22
17
19
19
18
18
21
10
8
9
4
5
7
6
14
15
16
20
11
12
13
25
3
6
9
10
5
4
7
3
11
12
13
17
20
21
22
19
19
18
18
8
14
2
16
15
29
33
32
27
28
30
31
39
38
37
44
45
34
35
36
42
42
41
41
40
43
26
25
46
46
23
23
24

- 12 -
REF.NO NOTE PART NO D E S C R I P T I O N
品 名
Qty
1 401-17522 Y BASE
Y ベース
1
2 401-17582 CHUCK OP CL GUIDE L ASM
チャック OP CL ガイド L 組
2
3 401-17410 CHUCK GUIDE BASE L
チャックガイドベース L
(1)
4 E3404-700-000 THRUST WASHER
スラストワッシャー
(4)
5 E3403-715-000 GUIDE SPACER
ガイドスペーサ
(2)
6 401-17372 CHUCK GUIDE L
チャックガイド L
(1)
7 401-17374 CHUCK GUIDE SENSOR DOG L
チャックガイドセンサドグ L
(1)
8 SL-4030691-SC SCREW M3 L=6
座金付きなべ小ねじ M3 L=6
(2)
9 WP-0451016-SP WASHER 4.5X20X1
平座金 4.5X20X1
(2)
10 SL-6040842-TN SCREW M4 L=8
座金付き六角穴ボルト M4 L=8
(2)
11 PA-1001524-A0 AIR CYLINDER
エア シリンダ
(1)
12 PJ-3010405-02 HALF UNION 4XM5
ハーフ ユニオン 4XM5
(1)
13 PC-0105190-00 SPEED CONTROLLER
スピードコントローラ
(1)
14 SL-6030692-TN SCREW M3 L=6
座金付き六角穴ボルト M3 L=6
(2)
15 WP-0430801-SC WASHER M4
平座金 M4
(1)
16 E1432-726-000 CLYNDER NUT
シリンダーナット
(1)
17 401-17615 CHUCK GUIDE SENSOR BR L
チャックガイドセンサBR L
(1)
18 HD-0017100-00 SENSOR
フォトインタラプタ
(2)
19 SM-4041001-SC SCREW M4X0.7 L=10
なべ小ねじ M4X0.7 L=10
(2)
20 SL-6030592-TN SCREW M3 L=5
座金付き六角穴ボルト M3 L=5
(2)
21 401-17391 Y TABLE BR
Y テーブル BR
(1)
22 SL-6031292-TN SCREW M3 L=12
座金付き六角穴ボルト M3 L=12
(2)
23 SL-6040892-TN SCREW M4 L=8
座金付き六角穴ボルト M4 L=8
5
24 SL-6041092-TN SCREW M4 L=10
座金付き六角穴ボルト M4 L=10
1
25 401-17583 CHUCK OP CL GUIDE R ASM
チャック OP CL ガイド R 組
2
26 401-17411 CHUCK GUIDE BASE R
チャックガイドベース R
(1)
27 E3404-700-000 THRUST WASHER
スラストワッシャー
(4)
28 E3403-715-000 GUIDE SPACER
ガイドスペーサ
(2)
29 401-17373 CHUCK GUIDE R
チャックガイド R
(1)
30 401-17375 CHUCK GUIDE SENSOR DOG R
チャックガイドセンサドグ R
(1)
31 SL-4030691-SC SCREW M3 L=6
座金付きなべ小ねじ M3 L=6
(2)
32 WP-0451016-SP WASHER 4.5X20X1
平座金 4.5X20X1
(2)
33 SL-6040842-TN SCREW M4 L=8
座金付き六角穴ボルト M4 L=8
(2)
34 PA-1001524-A0 AIR CYLINDER
エア シリンダ
(1)
35 PJ-3010405-02 HALF UNION 4XM5
ハーフ ユニオン 4XM5
(1)
36 PC-0105190-00 SPEED CONTROLLER
スピードコントローラ
(1)
37 SL-6030692-TN SCREW M3 L=6
座金付き六角穴ボルト M3 L=6
(2)
38 WP-0430801-SC WASHER M4
平座金 M4
(1)
39 E1432-726-000 CLYNDER NUT
シリンダーナット
(1)
40 401-17380 CHUCK GUIDE SENSOR BR
チャックガイドセンサBR
(1)
41 HD-0017100-00 SENSOR
フォトインタラプタ
(2)
42 SM-4041001-SC SCREW M4X0.7 L=10
なべ小ねじ M4X0.7 L=10
(2)
43 SL-6030592-TN SCREW M3 L=5
座金付き六角穴ボルト M3 L=5
(2)
44 401-17391 Y TABLE BR
Y テーブル BR
(1)
45 SL-6031292-TN SCREW M3 L=12
座金付き六角穴ボルト M3 L=12
(2)
46 SL-6040892-TN SCREW M4 L=8
座金付き六角穴ボルト M4 L=8
6

- 13 -
7. Y UNIT (2)
Y ユニット(2)
2
3
3
4
5
4
5
6
7
7
8
9
10
11
12
13
14
16
17
18
15
19
20
21
23
22
24
26
27
28
29
30
31
32
33
34
35
36
34
30
31
32
38
42
43
45
46
47
48
49
50
51
52
54
53
55
39
40
44
57
58
61
60
65
64
63
62
66
67
68
70
56
72
59
69
71
A
A
73
37
41
25
74
74
76
75
77
77
78
79
81
82
83
1
84
80
36