Gantry system X4 S_20211124_035951 - 第7页

Gantry system X4 S Page 7 / 8 24.11.2021 Pos. Item no. Description Part marking 1 03092146S02 GANTRY SYSTEM CPL. X-SERIES S 2 03097568S01 Y-DRIVE CPL. (PRIMARY) * 3 00318127-01 WIRE MANAGEMENT MOUNT, FLAT 2,5 STANDARD PA…

100%1 / 8
Gantry system X4 S
Page 6 / 8 24.11.2021
Gantry system X4 S
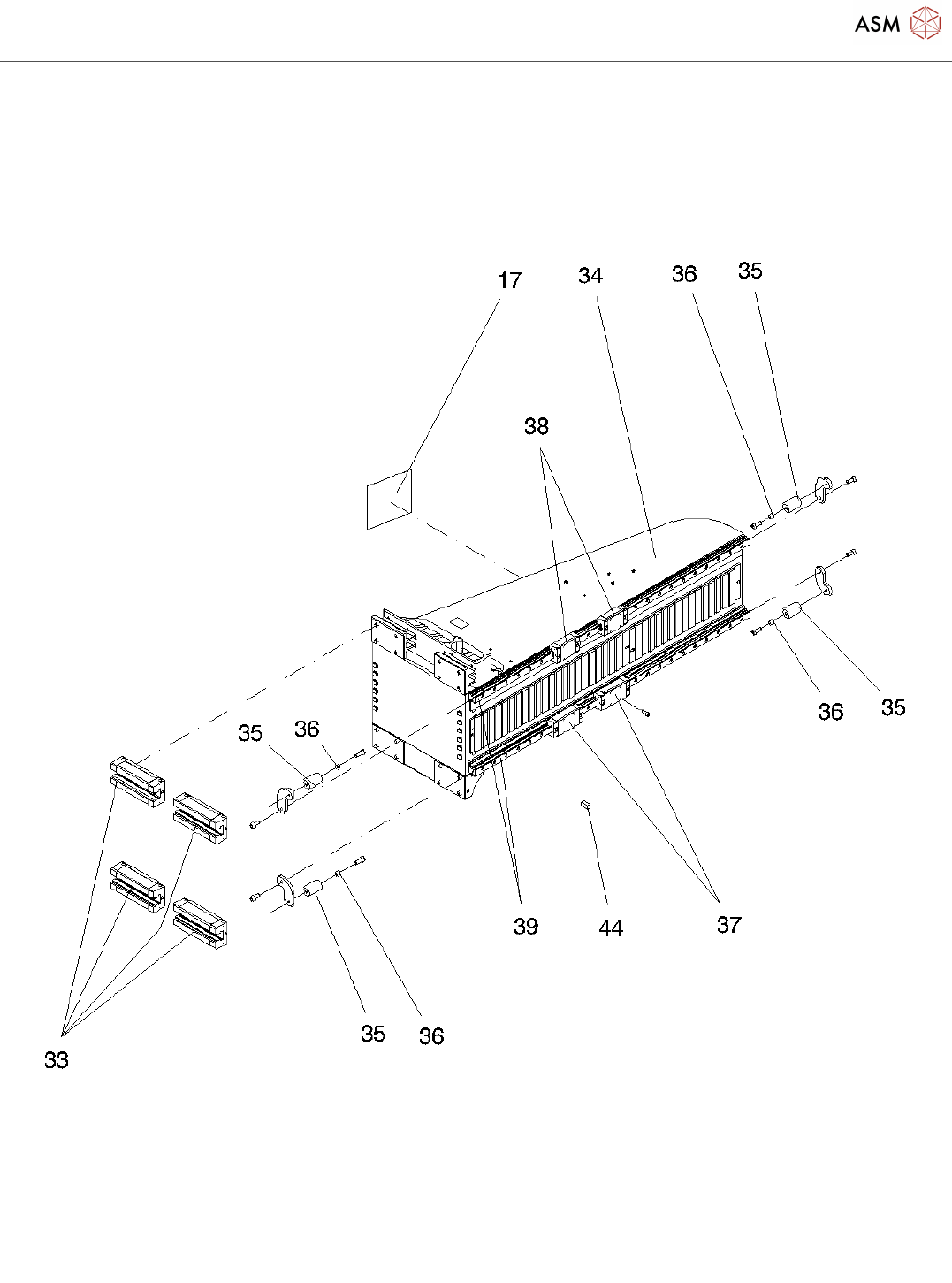
Page 7 / 8 24.11.2021
Pos. Item no. Description Part marking
1 03092146S02 GANTRY SYSTEM CPL. X-SERIES S
2 03097568S01 Y-DRIVE CPL. (PRIMARY) *
3 00318127-01 WIRE MANAGEMENT MOUNT, FLAT
2,5
STANDARD PARTS
4 03095097-03 LINEAR MOTOR FORCER Y AXIS
00805140-01 CABLE TIE W=2.4MM L=92MM
TYB-23M
6 03103306-01 ETP X DRIVE F. X4 S *
7 00318127-01 WIRE MANAGEMENT MOUNT, FLAT
2,5
STANDARD PARTS
8 00327308-01 FASTENING CLIP WN7855/B 4MM STANDARD PARTS
9 03020834-01 MOUNTING TYPE PANDUIT TM.. 12 H
4864
STANDARD PARTS
10 00342838-01 FIXING, PANDUIT TA TYPE ? STANDARD PARTS
11 03100633-01 ISO 7089 - 3 - 200 HV - A2 STANDARD PARTS
12 03072293-01 STYLUSES SCREWABLE
13 03092340-04 LINEAR MOTOR FORCER X AXIS
00805140-01 CABLE TIE W=2.4MM L=92MM
TYB-23M
15 03013331-01 DAMPER RUBBER, TRAILING CABLE SPARE PART
16 00095119-01 DIN 6912-M5 X 12-8.8
17 03009341-03 WARNING SIGN NO. 202 - 4
PICTOGRAMS
18 03029190-02 DISTRIBUTOR PLACEMENT HEAD
VACUUM
SPARE PART
19 03069316-02 X-HOLDER (GIGE) CPL.
20 03057404-05 X-HOLDER (GIGE)
21 03042540-01 ISO 4762 - M 3 X 5-A2-70
22 03022705-01 ISO 7093-1 - 3 - 200 HV - A2 STANDARD PARTS
23 03018635-01 COOLING AIR FILTER CMPL. WEAR PART
24 03054251-01 COVER
25 03054236-01 CAP
26 03008162-01 ISO 4032 - M3-A2-70 STANDARD PARTS
27 03003717-01 FILTER ELEMENT WEAR PART
28 03042544-01 ISO 4762 - M 3 X 12-A2-70 STANDARD PARTS
29 03062222-01 O-RING DIN 3771 - 40 X 1,5 - N -
EPDM 70
WEAR PART
Gantry system X4 S
Page 8 / 8 24.11.2021
Pos. Item no. Description Part marking
30 03059244-01 SLAB
31 03042542-01 ISO 4762 - M 3 X 8-A2-70 STANDARD PARTS
32 03042548-01 ISO 4762 - M 3 X 25-A2-70 STANDARD PARTS
33 03020303S01 GUIDE CARR. BOSCH-REXROTH
SIZE 25 LG LLD
*
34 03099064-01 GANTRY PRE-ASSEMBLED /SX4A
35 00200525-01 ELASTOMER SPRING D20X8,5 90
SHORE A
SPARE PART
36 03004173-01 BUSH 8X6X8
37 03020301-01 GUIDE TROLLEY BOSCH-REXROTH
SIZE 15 LG LLD
38 03020300-01 GUIDE TROLLEY BOSCH-REXROTH
SIZE 15 LG LLD
39 03000689S02 FUEHRUNGSSCHIENE X-ACHSE
GR.15 (2PCS)
*
40 03008162-01 ISO 4032 - M3-A2-70 STANDARD PARTS
41 03022705-01 ISO 7093-1 - 3 - 200 HV - A2 STANDARD PARTS
42 00319192-01 CABLE CLIP D=5MM H2P
POLYAMIDE
STANDARD PARTS
03071974-02 MODULE GANTRY SENSOR HCU X
SERIE S
SPARE PART
44 03132222-01 SILICON GAP-FILLER 7MM X 7MM X
16MM
Powered by TCPDF (www.tcpdf.org)