Base for basic unit SIPLACE 80F3_20211118_094017 - 第12页
Base for basic unit SIPLACE 80F3 Page 12 / 23 18.11.2021

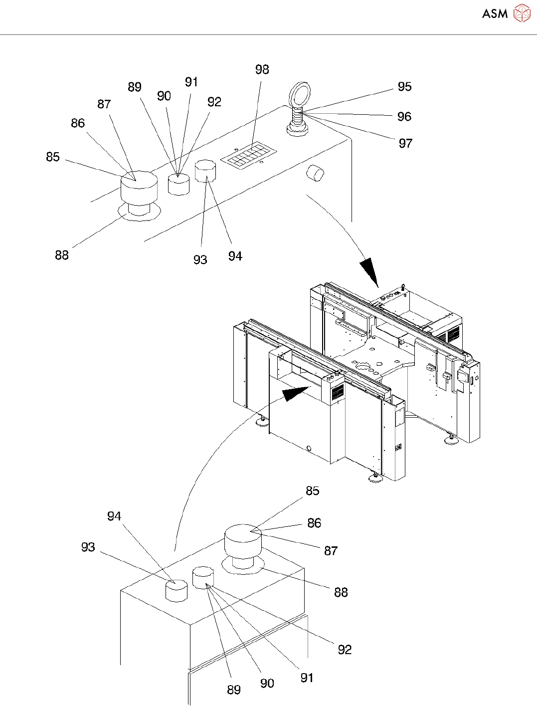
Base for basic unit SIPLACE 80F3
Page 11 / 23 18.11.2021

Base for basic unit SIPLACE 80F3
Page 12 / 23 18.11.2021

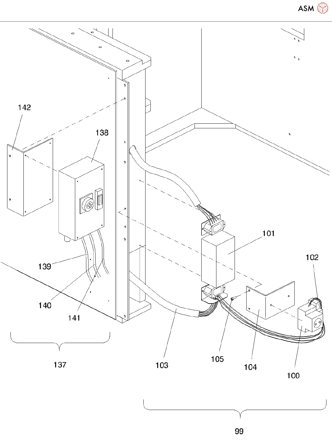
Base for basic unit SIPLACE 80F3
Page 13 / 23 18.11.2021