Base for basic unit SIPLACE 80F3_20211118_094017 - 第6页
Base for basic unit SIPLACE 80F3 Page 6 / 23 18.11.2021

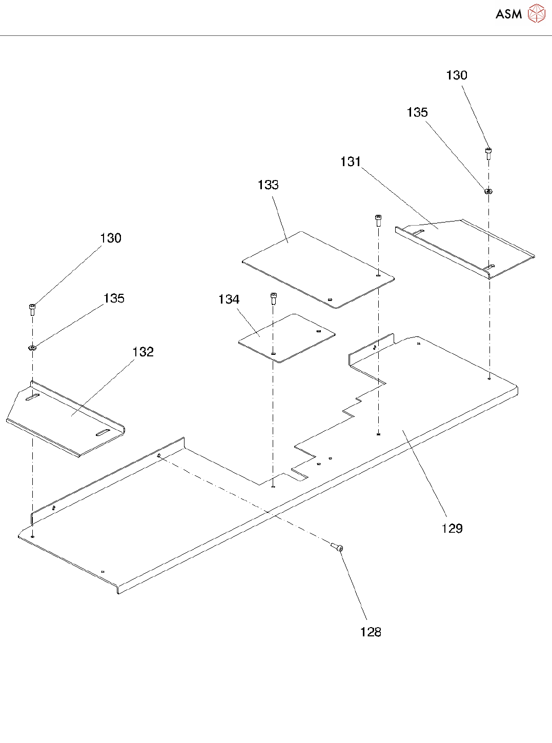
Base for basic unit SIPLACE 80F3
Page 5 / 23 18.11.2021

Base for basic unit SIPLACE 80F3
Page 6 / 23 18.11.2021

Base for basic unit SIPLACE 80F3
Page 7 / 23 18.11.2021