P-0192-001.pdf - 第39页
Key No. P AR T No. P AR T NAME Q’ ty REMARKS NOTE 37 MODEL TIM-5200F/R 0307-001 G-1 2 630 122 2974 COVER 1 805G--010-002 5 630 122 3001 COVER 1 805G--010-005 7 630 122 3025 COVER 1 805G--010-007 8 630 085 6248 BRACKET 1 …

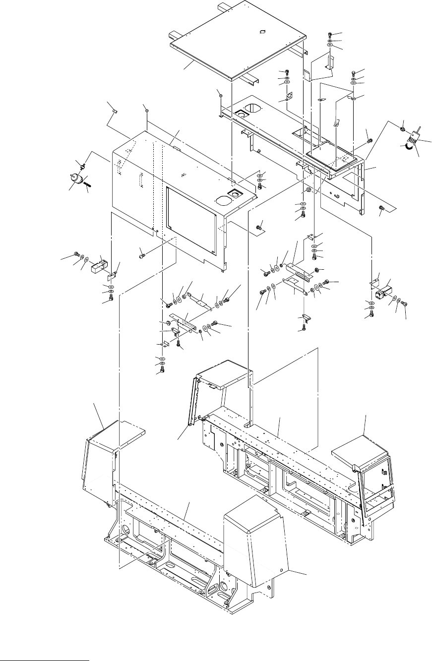
36
MODEL TIM-5200F/R
0307-001
カバー部 COVER SECTION
Fig. G-1 カバーフレーム Cover Frame
86
86
87
24
21
88
23
32
85
87
89
88
87
85
16
88
87
86
88
87
86
93
92
91
31
30
91
20
22
33
See Fig.B-1
Key No.2
See Fig.G-3
Key No.206
See Fig.G-3
Key No.204
See Fig.B-1
Key No.3
76
77
79
See Fig.G-2
Key No.101
See Fig.G-2
Key No.103
30
31
88
22
26
85
87
88
89
87
85
23
21
87
86
88
87
32
33
24
91
20
92
93
96
2
5
7
88
87
86
76
77
79
91
91
97
75
98
87
89
11
8
85
77
76
79
10
36
36
69
41
43
44
41
44
69
43
42
42-01
.
42
42-01
.

Key No. PART No. PART NAME Q’ty REMARKS
NOTE
37
MODEL TIM-5200F/R
0307-001
G-1
2 630 122 2974 COVER 1 805G--010-002
5 630 122 3001 COVER 1 805G--010-005
7 630 122 3025 COVER 1 805G--010-007
8 630 085 6248 BRACKET 1 805G--010-020
10 630 119 7661 BRACKET 3 805G--010-010
11 630 121 0940 BRACKET 2 805G--010-011
20 630 121 0575 BRACKET 2 805G--010-110
21 630 087 1432 LEVER 2 805G--010-111
22 630 085 8136 PIN,GUIDE 2 805G--010-112
23 630 085 8099 COLLAR 2 805G--010-113
24 630 087 2552 LEVER 2 805G--010-114
26 630 085 8105 COLLAR 2 805G--010-116
30 630 121 0629 BRACKET 2 805G--010-120
31 630 070 2316 SWITCH,LIMIT 2 SQ083,SQ084,D4DS-2AFS
805G--010-121
32 630 085 9324 BOLT 4 805G--010-122
33 630 070 2323 SWITCH,LIMIT 2 D4DS-K3 805G--010-123
36 630 078 5418 MECH PARTS(RUBBER CUSION) 4 805G--010-126
41 630 003 6916 MECH PARTS(RUBBER DAMPER) 2 805G--010-321
42 630 000 5271 LIGHTING UNIT 2 805G--010-322
42 -01 630 005 4286 LAMP 1
43 630 001 8080 SPRING,TENSION 2 2084 805G--010-323
44 630 077 1688 RING 4 805G--010-324
69 411 141 0307 NUT HEX 4 2 M4
75 630 001 0220 WASHER 3 BW5
76 411 141 4107 WASHER V 5X10X1 10 FW5
77 411 141 6705 WASHER SPR 5 10 SW5
79 630 000 7749 BOLT,HEX-SCT 10 M5X10
85 630 001 0213 WASHER 8 BW4
86 411 141 4008 WASHER V 4X9X0.8 8 FW4
87 411 141 2905 WASHER SPR 4 16 SW4
88 630 000 7633 BOLT,HEX-SCT 10 M4X12
89 630 000 7626 BOLT,HEX-SCT 6 M4X10
91 411 119 2104 WASHER V 4X9X0.8 4 FW4 F
92 411 008 1706 WASHER SPR 4 4 SW4 F
93 411 162 1505 SCR PAN 4X20 4 M4X20 PAN
96 411 113 9109 SCR TRS 5X10 24 M5X16 TRS
97 411 008 2109 WASHER SPR 5 3 SW5 F
98 411 140 4900 BOLT HEX 5X12 3 M5X12 HEX

38
MODEL TIM-5200F/R
0307-001
カバー部 COVER SECTION
Fig. G-2 カバー(右) Cover (R)
154
155
156
101
154
115
155
158
113
168
164
162
183
182
181
144
144
181
182
183
158
155
154
145
146
142
104
177
176
147
178
186
187
188
113
190
190
154
155
157
146
155
154
106
157
154
155
157
173
172
171
145
142
154
155
156
104
176
177
178
147
155
154
158
157
155
154
173
171
172
158
154
155
190
114
190
158
155
154
114