P-0192-001.pdf - 第73页
Key No. P AR T No. P AR T NAME Q’ ty REMARKS NOTE 71 MODEL TIM-5200F/R 0307-001 MC-5 2 unit/1 machine 401 630 082 1505 BLOCK 1 805MC-010-401 402 630 067 8598 LEVER 2 805MC-010-402 403 630 074 2817 SPRING,COMP 2 805MC-010…

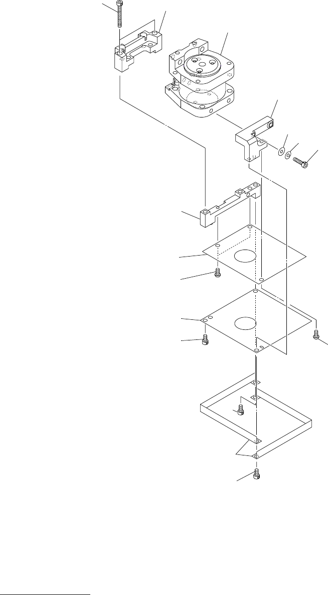
70
MODEL TIM-5200F/R
0307-001
異形ヘッドR部 DEFORM HEAD R SECTION
Fig. MC-5 ノズルクランプ部 Nozzle Clamp Section
409
410
402
405
410
406
412
411
407
409
408
409
410
408
409
410
405
409
410
402
409
403
401
403
404
408
409
410
404
408
409
410
410

Key No. PART No. PART NAME Q’ty REMARKS
NOTE
71
MODEL TIM-5200F/R
0307-001
MC-5 2 unit/1 machine
401 630 082 1505 BLOCK 1 805MC-010-401
402 630 067 8598 LEVER 2 805MC-010-402
403 630 074 2817 SPRING,COMP 2 805MC-010-403
404 630 120 1634 PIN,HINGE 2 805MC-010-404
405 630 083 4130 ROD 2 805MC-010-405
406 630 120 1641 NUT 1 805MC-010-406
407 630 076 5106 CAP 1 805MC-010-407
408 630 068 6982 RING 4 805MC-010-408
409 630 007 1740 BEARING,RADIAL 8 L-415ZZ 805MC-010-409
410 616 900 0172 RING E 1 8 805MC-010-410
411 630 076 5090 SEAL 1 805MC-010-411
412 630 069 5816 AIR LINE EQPT 1 805MC-010-412

72
MODEL TIM-5200F/R
0307-001
異形ヘッドR部 DEFORM HEAD R SECTION
Fig. MC-8 ヘッド照明部 Head Lighting Section
702
754
703
780
711
780
780
712
712
See Fig.MC-2
Key No.101
See Fig.MC-2
Key No.113
776
777
778
701
779