FX-3R_(操作手册.管理员)OperationManual2_Rev00_C - 第109页
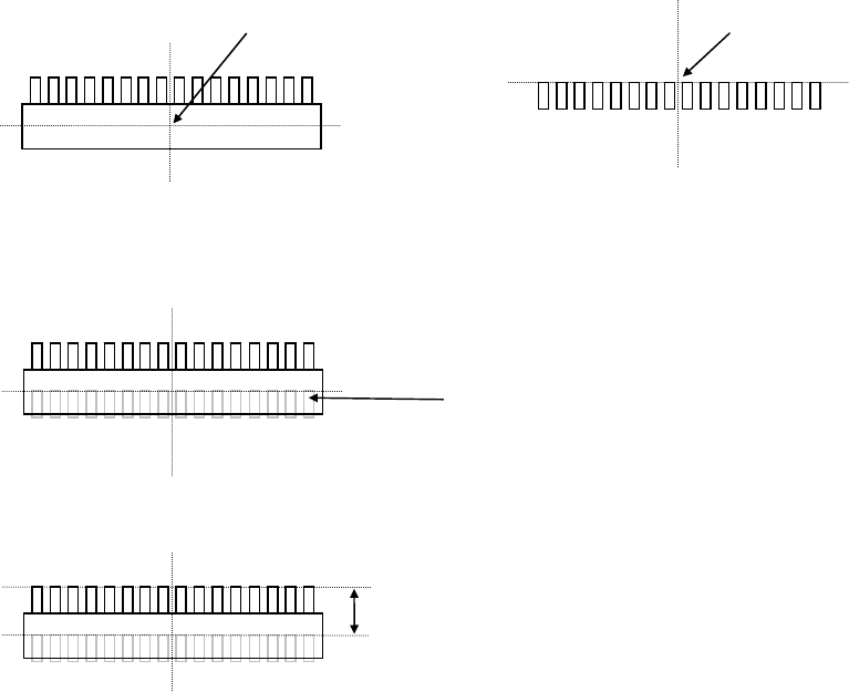
操作手册 I I 2-70 例2) 以下面的元件为例,输入偏移值。数值的单位为“mm(毫米 )”。 ( (无色) => 引脚部、 (带颜色) => 模部、 (粗线) => 垫片) 贴片坐标点 激光高度 基板上的垫片 从上面看元件时 从横向(近前方向)看元件时 因贴片坐标点和激光定心的中心位置不同,如 就此贴片会发生贴片偏移。因此,请将贴片坐 标点和激光定心的中心位置的 偏移部分作为偏移值输入到“贴片偏移值”中 。 无偏…

操作手册 II
2-69
(2) 贴片偏移量XY
θ
激光定心方式,是通过激光观察到的元件外形来捕捉元件的中心。
另一方面,CAD数据等是以元件的实际贴片图形(称为垫片,PAD)的中心为贴片坐标。
由于存在这种关系,元件的引脚部分与基板的垫片可能发生位置偏差。
把该差值作为贴片偏差输入后,可将元件贴到正确的位置。
例1) 单向引脚连接器
※贴片角度为0度
激光定心的中心 贴片坐标点
从上面看元件时 基板上的垫片
如果不输入贴片偏移量而进行贴片,则会出现下述情况。
基板上的垫片
在上图的状态下(贴片角度0度,贴片偏移0),测量以贴片坐标点为起点到实际元件贴片坐标
点位置的尺寸,输入到贴片偏移值中。
执行上述步骤,输入贴片偏移值后,在贴装多个同名元件时,即使各贴片角度不是0度,也会
自动变更贴片位置,使元件被贴在正确的位置上。
贴片偏移 -Y(X 为 0)

操作手册 II
2-70
例2) 以下面的元件为例,输入偏移值。数值的单位为“mm(毫米)”。
( (无色) => 引脚部、 (带颜色) => 模部、 (粗线) => 垫片)
贴片坐标点 激光高度
基板上的垫片 从上面看元件时 从横向(近前方向)看元件时
因贴片坐标点和激光定心的中心位置不同,如就此贴片会发生贴片偏移。因此,请将贴片坐
标点和激光定心的中心位置的偏移部分作为偏移值输入到“贴片偏移值”中。
无偏移值贴片时的情况如下:
激光定心的中心位置
在此例中,应输入其偏移值,以使引脚的尖端位于垫片的中央位置。
在“贴片偏移”栏中输入“X=-5.5、Y=-10”后,则按如下方法贴片。
5.5
3
10
2
2
5
5
2

操作手册 II
2-71
激光定心的中心位置
贴片坐标点
激光定心的中心位置
激光定心的中心位置
贴片坐标点
注 1) “贴片偏移”值,请输入从激光定心的中心位置到贴片坐标点的距离。
值的符号如下(箭头为到贴片坐标点的距离)
例) 按下图贴片时,将贴片偏移输入为“X=0,Y=+3”。
注 2) 偏移值以贴片角度“0”为基准输入。
例) 元件的贴片角度为“90”时,假定贴片角度为“0”,输入“贴片偏移值”。在下列情况
时(贴片角度“90”),输入“X=0、Y=2”。
注 3) 偏移值的输入方法有在“元件数据”的“贴片偏移”中输入偏移值和在“贴片数据”的“X、
Y 坐标”上调整偏移值两种方法。
但在贴片数据中需要调整各个贴片点的偏移值。
因此,当 1 种元件的贴片点数量很多时,或不想变更贴片数据时,请在“元件数据”的“贴
片偏移”中输入偏移值。
注 4) 不同的元件,通过变更“元件数据”-“定心”的“激光高度”的值,有可能改变定心的中
心位置。
因此,有时不输入“贴片偏移”值而通过改变“激光高度”也能调整贴片位置。
但这种情况,需要把“激光高度”设置在能稳定定心的位置上。
+Y
+X
-X
-Y
3
2