CP-643E-08 - 第192页
36.シャッタ(オプション)(CSAF) 36.Shutter(Option)(CSAF) 番号 図番 & コード番号 個数 品名 規格 備考 材質 No. Drg.No. & Code No. QTY Description Rating Remarks Materials 1 WAF1275 1 BKT, FENCE BKT フェンス FE 2 WAF1266 1 BKT, FENCE BKT フェンス FE 3…

Ref.33-7
Ref.31-1
Ref.31-1
Ref.31-1
Ref.31-1
20
21
60
21
21
58
20
22
21
60
59
22
40
37
33
37
31
40
37
45
40
37
45
37
31
40
37
33
49
26
27
27
5
36
39
42
28
66
37
46
13
15
16
9
47
64
30
33
37
40
36
39
42
44
3
29
38
63
23
4
24
25
24
24
11
24
36
39
42
44
32
37
19
32
37
19
61
52
8
14
17
15
16
37
62
45
37
65
18
37
33
2
43
21
60
21
21
60
20
21
20
56
22
57
22
45
37
40
31
37
33
37
40
45
37
40
40
37
33
31
37
48
8
46
32
37
19
66
3732
37
19
28
6
36
39
42
26
27
27
3
24
25
24
24
12
24
44
36
39
42
23
4
51
61
62
37
44
36
39
42
29
38
63
33
37
40
30
64
10
9
33
37
18
65
37
45
17
15
16
14
43
1
x8
C
C
A
C
B
A
B
36 - 1
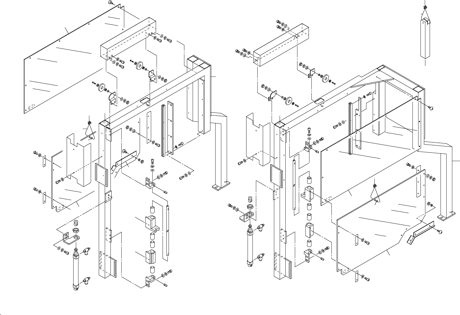
36.シャッタ(オプション)(CSAF)
36.Shutter(Option)(CSAF)
36.シャッタ(オプション)(CSAF)
36.Shutter(Option)(CSAF)
CP-643E PARTS LIST

36.シャッタ(オプション)(CSAF)
36.Shutter(Option)(CSAF)
番号 図番 & コード番号 個数 品名 規格 備考 材質
No. Drg.No. & Code No. QTY Description Rating Remarks Materials
1 WAF1275 1 BKT, FENCE BKT フェンス FE
2 WAF1266 1 BKT, FENCE BKT フェンス FE
3 WAF2040 2 BKT BKT FE
4 WAF2050 2 BKT BKT FE
5 WAF2062 1 BKT, CYLINDER BKT シリンダ FE
6 WAF2072 1 BKT, CYLINDER BKT シリンダ FE
8 AWAF8550 2 PLATE プレート OT
9 WAF1210 2 RAIL レール AL
10 WAF1220 1 RAIL レール AL
11 WAF1521 1 HOLDER ホルダ AL
12 WAF1531 1 HOLDER ホルダ AL
13 WAF1571 2 BALANCER バランサ FE
14 AWAF8560 2 COVER カバー OT
15 WAF2430 2 WIRE, STAINLESS STEEL ワイヤ ステンレス OT
16 K3017A 4 CLIPPER, WIRE クリッパ ワイヤ For ゚1.5 OT
17 GXZ0230 2 COLLAR カラー FE
18 GXZ0251 2 PLATE プレート FE
19 GXZ0240 4 PLATE プレート FE
20 GXZ0350 4 PIN ピン FE
21 H4134X 8 BEARING ベアリング F604ZZ FE
22 GXZ0360 4 COLLAR カラー FE
23 GXZ0300 2 BAR バー FE
24 H4282A 8 BEARING, SLIDE ベアリング スライド KH1228 FE
25 GXZ0181 2 HOLDER ホルダ AL
26 S2099T 2 CYLINDER, AIR シリンダ エアー CDM2B-20-D7481-250 OT
27 K5330B 4 CONTROLLER, SPEED コントローラスピード SC6-01-B OT
28 GXZ0270 2 BOLT, JOINT ボルト ジョイント FE
29 GXZ0310 2 WASHER ワッシャ FE
30 H5274A BOLT, HEX SOCKET ボルト 六角穴 M3X6L FE
31 H5288A BOLT, HEX SOCKET ボルト 六角穴 M4X8L FE
32 H5289A BOLT, HEX SOCKET ボルト 六角穴 M4X12L FE
33 H5290A BOLT, HEX SOCKET ボルト 六角穴 M4X15L FE
35 H5304A BOLT, HEX SOCKET ボルト 六角穴 M5X25L FE
36 H5322A BOLT, HEX SOCKET ボルト 六角穴 M6X15L FE
37 W1022A WASHER, LOCK ワッシャ スプリング 4M/M FE
38 W1023A WASHER, LOCK ワッシャ スプリング 5M/M FE
39 W1024A WASHER, LOCK ワッシャ スプリング 6M/M FE
40 W1043A WASHER, FLAT ワッシャ 平 4W-4 FE
42 W1045A WASHER, FLAT ワッシャ 平 4W-6 FE
43 K5207A SCREW, TRUSS 小ネジ トラス M4X5L FE
44 N4036A SCREW, HEX SOCKET SET ネジ 六角穴止め M5X5L FE
CP-643E PARTS LIST
36 - 2
36.シャッタ(オプション)(CSAF)
36.Shutter(Option)(CSAF)

36.シャッタ(オプション)(CSAF)
36.Shutter(Option)(CSAF)
番号 図番 & コード番号 個数 品名 規格 備考 材質
No. Drg.No. & Code No. QTY Description Rating Remarks Materials
45 N1076A NUT, HEX ナット 六角 M3 FE
46 WAF0863 2 COVER カバー FE
47 WAF1200 1 RAIL レール AL
48 WAF2400 1 COVER, SAFETY カバー 安全 FE
49 WAF2410 1 COVER, SAFETY カバー 安全 FE
51 WAF2190 1 FRAME フレーム AL
52 WAF2200 1 FRAME フレーム AL
53 . NUT, HEX ナット六角 M5 P=1.0 FE
54 K5215A SCREW, TRUSS 小ネジトラス M5X10L FE
55 W1042A WASHER, FLAT ワッシャ 平 4W-3 FE
56 WAF2360 1 BKT BKT FE
57 WAF2370 1 BKT BKT FE
58 WAF2380 1 BKT BKT FE
59 WAF2390 1 BKT BKT FE
60 WAF2420 4 PULLEY プーリ FE
61 K5211A SCREW, TRUSS 小ネジ トラス M4X12L FE
62 N1080A NUT, HEX ナット 六角 M4 FE
63 H5298A BOLT, HEX SOCKET ボルト 六角穴 M5X10L FE
64 W1010A WASHER, CONICAL ワッシャ 皿 M-3-L FE
65 W1041A WASHER, FLAT ワッシャ 平 1W-4 FE
66 H5285A BOLT, HEX SOCKET ボルト 六角穴 M4X5L . FE
CP-643E PARTS LIST
36 - 3
36.シャッタ(オプション)(CSAF)
36.Shutter(Option)(CSAF)